tivoli 9479 RGBW Adapt Instruction Manual
Warnings and Safety
- Please verify the contents of the package!
- Please read instructions before starting the installation.
- Make sure power is off before installing or modifying the system.
- Call Tivoli LLC tech support with any questions.
- This product is designed to work with listed Class 2, 24V DC transformers only. Use of any other power source will cause damage, shorten the life of the fixture, and will void the warranty.
- Consult any local and national codes for installation.
- Follow basic safety precautions when dealing with any luminaire application to reduce the risk of fire, electrical shock, and/or personal injuries. This lighting system should be installed by a certified professional.
- Do not use this product for other than its intended use.
- Do not install this lighting system where the exposed bare contacts can be shorted or contact any conductive material to reduce the risk of fire and burns.
- Do not use any luminaire if damaged, such as a broken globe, loose connections, or frayed wire insulation. Inspect periodically.
- Do not secure any luminaire with staples, nails or like means that might damage the wire insulation.
- Do not cover lamps with cloth, paper or any material that is not part of the product.
Installation
There are 2 mounting options: Surface Mount and Suspension Mount.
Step 1 will cover the Surface Mount Option.
- For the surface mounting option, remove the socket cap and cover and screw each socket to mounting surface using the appropriate screws.

Steps 2-6 will cover the Suspension Mount Option. - Attach eyebolts or other mounting hardware to the structural supports that will hold the catenary cable.
a. The catenary cable is rated for hanging loads up to 200 lbs. and 800 lbs. of pulling tension. - Insert suspension cable into the cable following the direction of the arrow on the cable lock.
- Look the suspension cable through the mounted eye bolt or other mounting hardware and insert the cable back through the cable lock

- You can tighten the suspension cable using a catenary tensioning tool or loosen the cable using a cable release key on the cable lock.

- Attach the strands with the sockets to the suspension cable using zip ties.
NOTE: For strands with on center spacing of 18 in. or greater, use a zip in between globes to prevent sagging
Skip to Step 8 if no shades will be used. - Create the shade assembly by placing the shade in between the gasket/bulb and nut. Tighten the assembly.

- Attach the globe or the shade assembly to the socket.

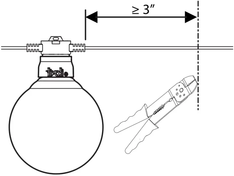
- At the end of the strand, cut 3 inches or more after the last globe to prepare to install the end cap.

- Loosen the end cap assembly slide the base on the wire.

- Attach the end cap cover onto the end cap base and tighten

- Connect power/data lead to appropriate 24V DC power supply and connect data to DMX controller.
NOTE: Refer to related power supply specification sheets for more information and other possible configurations. Refer to the related documents of the selected DMX controller for more information on installation and setup.
Tivoli, LLC. reserves the right to modify this specification without prior notice
Copyright © 2023 Tivoli www.tivolilighting.com 714-957-6101





























