brother LS 5555 Cheap Sewing Machines User Guide
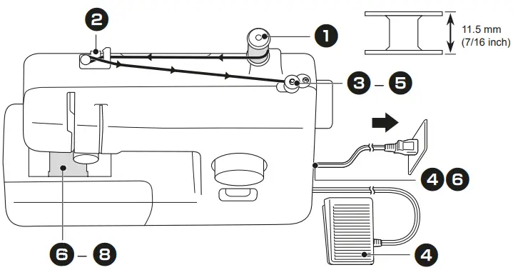
Preparing the bobbin thread
Be sure to first read the “IMPORTANT SAFETY INSTRUCTIONS” in the Operation Manual. Refer to the Operation Manual for detailed instruction.



Upper threading
Be sure to first read the “IMPORTANT SAFETY INSTRUCTIONS” in the Operation Manual. Refer to the Operation Manual for detailed instruction.




















