
Quick Reference Guide 1 – Preparing the bobbin thread –
Be sure to first read the “IMPORTANT SAFETY INSTRUCTIONS” in the Operation Manual. Refer to the Operation Manual for detailed instruction.










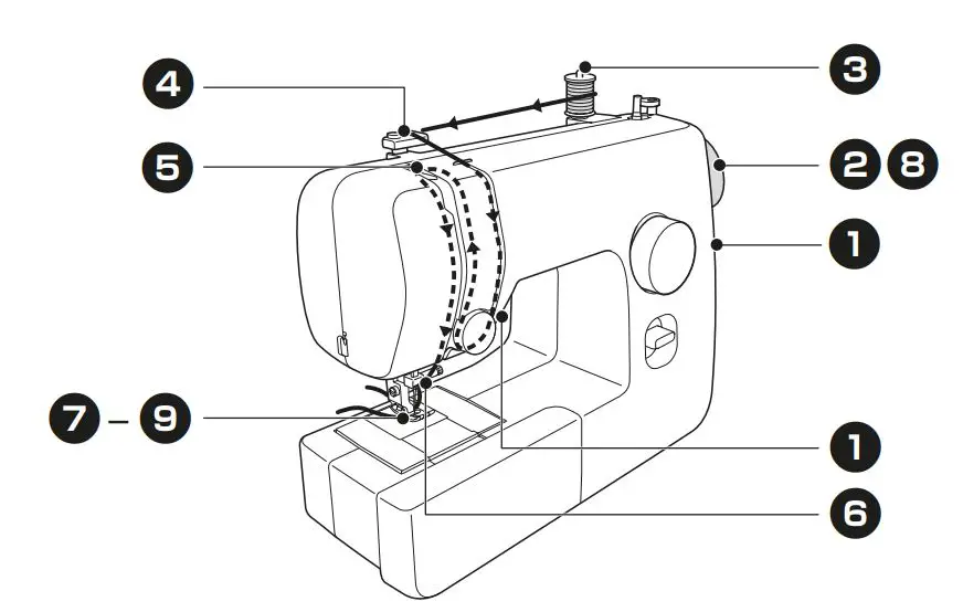
Quick Reference Guide 2 – Upper threading –
Be sure to first read the “IMPORTANT SAFETY INSTRUCTIONS” in the Operation Manual. Refer to the Operation Manual for detailed instruction.




























