
LS Series RGB LED Light Stick Manual Thanks for choosing the Mettle LS Series RGB LED light stick. Mettle LS Series RGB LED light stick has the advantages of softened light, high luminous efficiency, long life, and outstanding color rendition. Meanwhile, it has a variety of effects and functions and can be controlled by mobile phone apps.
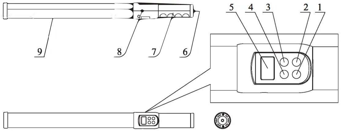
Product Structure

| 1 | Switch button | 2 | Button – | 3 | Button + |
| 4 | Power/Mode switch | 5 | LCD display | 6 | 1/4 inch thread |
| 7 | Handle | 8 | Power charging jack | 9 | LED board |
Product Specification
| Model | LS-400C | LS-800C | ||||
| Light Source | 52*0.5W RGB LED | 96*0.5W RGB LED | ||||
| 192*0.2W W/Y LED | 384*0.2W W/Y LED | |||||
| Max Output | 20W | 36W | ||||
| Color Temperature | 2800K-8000K | |||||
| Lux@im | 580 | 900 | ||||
| CRI | 95% | |||||
| TLCI | 95% | |||||
| RGB Lux@im | R | G | B | R | G | B |
| 212 | 410 | 80 | 333 | 654 | 128 | |
| Remote Distance | >10m | |||||
| Mode Switch | CCT/ HS / CTI / EFX / | |||||
| Master Slave Mode | Available | |||||
| Mobile APP Control | Available | |||||
| Power Supply | 2600mAh/14.8V Battery built-in | |||||
| Housing Size | 50*582mm | 50*982mm | ||||
| Weight | 600g | 850g | ||||
Method of Application
- Operation
Long press the Power/Mode switch button (4) 2 seconds to turn on. Long press 2 seconds again to turn off. Short press Power/Mode switch (4) to choose the light mode.
2.1 CCT mode
Short press Power/Mode switch (4), and enter “CCT” mode on the upper left corner of the screen.
Press the Switch button (1) to select the parameter on the screen.
Press Button-(2) Button+(3) to adjust CCT or power.
| 1. Power adjustment 3. Mode -CCT mode 5. Light No. 7. Battery indicator 9work time remaining) | 2. Color temperature adjustment 4. Group No. 6Master /Slave |

2.2 HSI mode
Short press Power/Mode switch (4), and enter “HSI” mode on the upper left corner of the screen.
Press the Switch button (1) to select the parameter on the screen.
Press Button-(2) Button+(3) to adjust Hue, Saturation, and Intensity.
2.3 GEL Mode
Short press Power/Mode switch (4), and enter “GEL” mode on the upper left corner of the screen.
Press the Switch button (1) to select the parameter on the screen.
Press Button-(2) Button+(3) to adjust the corresponding “GEL” mode and Intensity.
2.4 EFX mode
Short press Power/Mode switch(4), and enter “EFX” mode on the upper left corner of the screen.
Press Button-(2) Button+(3) to adjust the corresponding
“EFX” mode. Press Switch button (1) to turn on/off “EFX” mode,
2.5 SET mode
Short press Power/Mode switch(4), and enter “SET” mode on the upper left corner of the screen. Press the Switch button (1) to select the corresponding “SET” parameter. Press Button-(2) Button+(3) to select the corresponding “SET”.
A) G # Mode: Set Group No of each light.
B) L # Mode: Set light No of each light.
C) M/S Mode
MASTER: Transmitter and receiver to control same group lights. When adjusting the light parameters in one group, can synchronously change all lights to the same parameter in the group. When adjusting the main light and transmitter at the same time, other group lights synchronously change.
SLAVE: Only receiver to control same group lights. When adjusting the Master light parameter in one group, can synchronously change all lights to the same parameter in the group.
NONE: When there is NONE Mode on the LCD display, means turn off Master/Slave mode.
D) LAG: Select system language.
E) RFD: Select whether to restore factory settings.
F) VER: Display the current system version.
Download mobile phone software “METTLE” to control light. You may simply search “METTLE” on AppStore or Google Play Store to download the APP. Or you may scan the QR code beside to download the APP.
2.6 Power indicator
The LCD display shows power indicator 0. It shows the work time remaining under the current power output. If the remaining work time is too short, please charge the light in time.
Disposal (end of life)
In order to minimize hazards to health and the environment and ensure that materials can be recycled, this product should be disposed of at a separate collection facility.
Attention
- Do not cover the light body in a case affecting thermal dissipation.
- Keep clean, and turn off the light when cleaning.
- After using, keep the light in a safe and dry place.
- Do not keep the light in sunlight or in high temperatures.
- Do not use solvents, gasoline, paints, and pesticides in the product.
- Do not insert metal objects into the lamp housing.
- Do not attempt to repair the light. If there are some problems, turn off the light and contact your dealer or our company.
Attention
- Light body
- Manual/Warranty
- Charger
- Carry Bag
Troubleshooting
| Description | Cause | Trouble-shooting |
| No reaction after power on | The dimmer knob on 0% | Rotate dimmer knob clockwise |
| Low battery | Charge the batteries before use | |
| Circuit board damaged | Return factory for repair | |
| LCD error or backlight off | LCD display damage | Return factory for repair |
FCC Statement:
This device complies with Part 15 of the FCC Rules. Operation is subject to the following two conditions:
- This device may not cause harmful interference, and
- This device must accept any interference received, including interference that may cause undesired operation.
Warning: Changes or modifications not expressly approved by the party responsible for compliance could void the user’s authority to operate the equipment.
NOTE: This equipment has been tested and found to comply with the limits for a Class B digital device, pursuant to Part 15 of the FCC Rules. These limits are designed to provide reasonable protection against harmful interference in a residential installation.
This equipment generates uses and can radiate radio frequency energy and, if not installed and used in accordance with the instructions, may cause harmful interference to radio communications. However, there is no guarantee that interference will not occur in a particular installation. If this equipment does cause harmful interference to radio or television reception, which can be determined by turning the equipment off and on, the user is encouraged to try to correct the interference by one or more of the following measures:
- Reorient or relocate the receiving antenna.
- Increase the separation between the equipment and receiver.
- Connect the equipment into an outlet on a circuit different from that to which the receiver is connected.
- Consult the dealer or an experienced radio/TV technician for help.
RF warning statement:
The device has been evaluated to meet general RF exposure requirements. The device can be used in portable exposure conditions without restriction.
Mettle Photographic Equipment Corporation
Add.: No. 90, 5th Xinyuan Road, Xinbei District, Changzhou, Jiangsu, China 21031
Tel.: +86-519-85087171 85087172
http://www.mettlecorp.cn
Fax: +86-519-85017503
E-mail: [email protected]



















