L’ARGILLA
THERMAL CLAY GAS POWERED OVEN
OWNER’S MANUAL, USER GUIDE AND WARRANTY
MODEL NO: PPO-8-08

PPO-8-08 Thermal Clay Gas Powered Oven
WARNING
Remove the protective cover on the ignitor before lighting.

WARNING
- This instruction manual contains important information necessary for the proper assembly and safe use of the appliance.
- Read and follow all warnings and instructions before assembling and using the appliance.
- Follow all warnings and instructions when using the appliance.
- Keep this manual for future reference.
- If instructions or parts are missing, contact: [email protected] (1-877-288-1110).
DANGER
IF YOU SMELL GAS:
- Shut off gas to the appliance.
- Extinguish any open flame.
- Remove oven door.
- If odor continues, keep away from the appliance and immediately call your fire department.
Failure to follow these instructions could result in fire or explosion which could cause property damage, personal injury or death.
DANGER
- Never operate this appliance unattended.
- Never operate this appliance within 10 ft (3.0 m) of any structure, combustible material or other gas tank.
- Never operate this appliance within 25 ft (7.5 m) of any flammable liquid.
- If a fire should occur, keep away from the appliance and immediately call your fire department. Do not attempt to extinguish an oil or a grease fire with water.
Failure to follow these instructions could result in fire, explosion or burn hazard which could cause property damage, personal injury or death.
CONGRATULATIONS!
ON BECOMING A NEW MEMBER OF THE PINNACOLO FAMILY!
WARNING
READ AND UNDERSTAND INSTRUCTIONS PRIOR TO ASSEMBLY
Thank you for your purchase! We know that you have many brands and products to choose from and we are honored to know that you have decided to take one of our products into your home and hope that you enjoy it.
Pinnacolo Pizza Ovens are designed according to the strictest safety and performance standards for the North American market. We are available to answer any questions you may have regarding how to install, use and care for your products.
We hope that this manual will help you learn to use the product in the safest and most effective manner.
If you have any questions or concerns, please contact the dealer from whom you purchased it or contact us through our website at www.FireOneUp.com.
Please read the important safety instructions before using the appliance for your own safety, and to reduce the risk of hazards such as injury, fire and electrical shock.
Please keep this manual for future use.
Once again, thank you!
The Team at PINNACOLO PIZZA OVENS
www.FireOneUp.com
SAFETY LEGAL DISCLAIMER
- The installation must conform with local codes or, in the absence of local codes, with the National Fuel Gas Code, ANSI Z223.1/NFPA 54, Storage and Handling of Liquefied Petroleum Gases, ANSI/NFPA 58; or Natural Gas and Propane Installation Code, CSA B149.1; Propane Storage and Handling, CSA B149.2.
- FOR OUTDOOR USE ONLY! Shall not be used in a building, garage, or any other enclosed area.
- This appliance is not intended to be installed in or on a boat.
- Minimum distance from sides and back of unit to walls or railings: 20 inches (508 mm).
- The appliance shall not be located or used under overhead unprotected combustible construction.
- The regulator and hose assembly must be cleaned and inspected before each use of the appliance. If there is evidence of abrasion, wear, cuts, or leaks, the hose must be replaced prior to the appliance being put into operation. The replacement hose assembly shall be specified by the manufacturer.
- Keep the fuel supply hose away from any heated surface(s).
- Read all instructions before lighting.
- The LP gas supply tank to be used must be constructed and marked in accordance with the specifications for LP gas tanks, U.S. Department of Transportation (DOT) or the Standard for Tanks, Spheres and Tubes for the Transportation of Dangerous Goods, CAN/CSA-B339.
- The pressure regulator and hose assembly supplied with the appliance must be used. Replacement pressure regulators and hose assemblies shall be those specified by the appliance manufacturer.
- The tank supply system must be arranged for vapor withdrawal.
- WARNING – Do not use this appliance under extended awnings. Failure to comply could result in a fire or personal injury.
- DANGER – Do not put oven in storage immediately after use. Allow grill to cool to touch before moving or storing. Failure to do so could result in fire resulting in property damage, personal injury, or death.
- Do not use the oven in case of malfunction.
- Never extinguish the flames with water.
- Do not use open flames near the oven.
- Do not place empty gas tanks near the oven.
- Do not paint or apply anything on the oven.
FIRE ONE UP SALES INC. (PINNACOLO)
Fire One Up Sales Inc. 1660 Caille Ave Belle River, Ontario NOR 1A0 Canada Model No.: PPO-8-08 Manufacture Date: November 2022 Hourly BTU input rating: 50000BTU/H Types of gas: Propane at 11″ W.C. For Outdoor Use Only. If Stored Indoors, Detach and Leave Tank Outdoors. ANS Z21.89-(2017)
- CSA 1.18-(2017) Outdoor Cooking Specialty Gas Appliance Minimum distance from sides and back of unit to walls or railings: 20in(508mm) Do not use under overhead construction. This appliance is not intended for commercial use.
![]()
CAUTION
The gas pressure regulator provided with this appliance must be used. Replace only with regulator Model No.GR-129A-01.
PARTS EXPLOSIVE VIEW

PART LIST

| 1 | Front Legs (F1 x 1, F2 x 1) | 2 |
| 2 | Front Wheels | 2 |
| 3 | Support Frames (F1 x 1, F2 x 1) | 2 |
| 4 | Rear Legs (B1 x 1, B2 x 1) | 2 |
| 5 | Rear Wheels | 2 |
| 6 | Rear Support Frames (B1 x 1, B2 x 1) | 2 |
| 7 | Shelf | 1 |
| 8 | Fixed Ring | 1 |
| 9 | Stove Rack | 1 |
| 10 | Oven Dome with Lighting Rod | 1 |
| 11 | Chimney | 1 |
| 12 | M8 Hexagon Socket Screws | 48 |
| 13 | M5 Philips Screws | 4 |
| 14 | Nut | 8 |
| 15 | Wrench | 1 |
| 16 | Allen Key M8 | 1 |
| 17 | Allen Key M5 | 1 |
PRODUCT DIMENSIONS

INSTALLATION
STEP 1
Install the two front wheels (Part No. 2) on the two front legs (Part No. 1) respectively. Use a wrench (Part No. 15) and a M8 allen key (Part No. 16) to secure the screws.

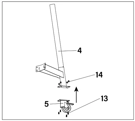
STEP 2
Install the two rear wheels (Part No. 5) on the two rear legs (Part No. 4) with screws (Part No. 13) and nuts (Part No. 14). Use a wrench (Part No. 15) and a M8 allen key (Part No. 16) to secure the screws.

STEP 3
Install the retaining fixed ring (Part No. 8) to secure the gas tank.
Use a M5 allen key (Part No. 17) to secure the screws.

STEP 4
Attach the 4 legs (Part No. 1) and (Part No. 4) to the shelf (Part No. 7) with screws. Use an M8 allen key (Part No. 16) to secure the hexagon socket screws (Part No. 12).
Pay attention to checking the left and right sides.
STEP 5
Install the 2 support frames (Part No. 3) on to the 2 front legs (Part No. 1).
STEP 6
Install the 2 rear support frames (Part No. 6) on to the 2 rear legs (Part No. 4).

STEP 7
Use a hexagon socket screws (Part No. 12) to secure the 4 support frames.

STEP 8
Install the oven rack (Part No. 9).

STEP 9
Install the oven rack (Part No. 9) to support frame with M8 hexagon socket screws (Part No. 12).

STEP 10
The stand assembly is complete. Position oven dome (Part No. 10) on top of the shelf with door opening over the large wheels.

STEP 11
Install the chimney (Part No. 11) on the oven dome, and twist the chimney counterclockwise to lock it to the base.
STEP 12
The oven is ready for use.

CONNECTING TO GAS TANK
CONNECT THE PROPANE GAS TANK
- The tank valve should be in the OFF position.
- Make sure the burner valve is in the OFF position.
- Inspect the valve connections, port and regulator assembly. Remove debris and inspect the hose for damage.
- When connecting the regulator assembly to the valve, use your hand to tighten the nut clockwise until it stops. Use of a wrench could damage the quick coupling nut and result in a hazardous situation.
- Open the tank valve fully by turning the valve counterclockwise.
- Before lighting the oven, use a soap and water solution to check all connections for leaks.
- If a leak is found, turn the tank valve OFF, and do not use the oven until a local liquid propane dealer can make repairs.
DISCONNECT THE PROPANE GAS TANK
- Turn the oven burner valve OFF and make sure the oven is cool.
- Turn the liquid propane tank valve OFF by turning clockwise until it stops.
- Detach the regulator assembly from the tank valve by turning the quick coupling nut counterclockwise.
- Place dust cap on tank valve outlet whenever the tank is not in use. Only install the type of dust cap on the tank valve outlet that is provided with the tank valve. Other types of caps or plugs may result in leakage of propane.

This gas fitting is clockwise. Make sure that the tank is completely switched off and screw the regulator as far as possible into the gas tank valve.
The tank to be used in:
Propane Capacities: 20 lbs (9.1 kg)
Tare Weight: 18 lbs (8.2 kg)
Length: 18 inches (457 mm)
Height: 13.9 inches (353 mm)
Diameter: 12.2 inches (309 mm)
Footring Diameter: 8 inches (203 mm)
RECOMMENDED POSITION

WARNING
- Please always keep the gas tank in upright position.
- If the appliance is not in use, the gas must be turned off at the supply tank.
- The tank used must include a collar to protect the tank valve.
- The minimum distance from the appliance to the wall is 20 inches (500 mm).
STATEMENT
- Do not store a spare LPG tank under or near this appliance;
- Never fill the tank beyond 80 percent full; and
- If the instructions are not followed exactly, a fire causing death or serious injury may occur.
LEAK TESTING
GENERAL
Although all gas connections on the oven are leak tested at the factory prior to shipment, a complete gas leak check must be performed at the installation site due to possible mishandling in shipment, or excessive pressure unknowingly being applied to the unit. Periodically check the whole system for leaks following the procedures listed below. If the smell of gas is detected at anytime you should immediately check the entire system for leaks.
BEFORE TESTING
Make sure that all packing material is removed from the oven including the burner tie-down straps.
DO NOT SMOKE WHILE LEAK TESTING.
NEVER PERFORM LEAK TEST WITH AN OPEN FLAME.
Make a soap solution of 1 teaspoon of liquid detergent to 1 cup of water. You will need a spray bottle, brush, or sponge to apply the solution to the fittings. For the initial leak test make sure the LPG tank is full.
TO TEST
- Make sure the control valves are in the “OFF” position, and turn on the gas supply.
- Check all connections with soap solution from the LPG regulator and supply valve up to and including the connection to the manifold pipe assembly (the pipe that goes to the burners). Soap bubbles will appear where a leak is present.
- If a leak is present, immediately turn off the gas supply and tighten the leaky fittings.
- Turn the gas back on and recheck.
- Should the gas continue to leak from any of the fittings, turn off the gas supply and contact customer service at 1-877-288-1110 or [email protected].
Only those parts recommended by the manufacturer should be used on the oven. Do not use the oven until all connections have been checked and do not leak.
GAS FLOW CHECK
Each oven burner is tested and adjusted at the factory prior to shipment. The flames of the burners should be visually checked. Flames should be blue and stable with no yellow tips, excessive noise or lifting. If any of these conditions exist, check to see if the air shutter or burner ports are blocked by dirt, debris, spider webs, etc. If you have any questions regarding flame stability, please contact customer service at 1-877-288-1110 or [email protected].
ALWAYS CHECK FOR LEAKS AFTER EVERY TANK CHANGE
Check all gas supply fittings for leaks before each use. It is handy to keep a spray bottle of soapy water near the shut-off valve of the gas supply line. Spray all the fittings. Bubbles indicate leaks.
It is advisable to change the gas hose every 2-3 years.
WARNING
GAS LEAK COULD CAUSE FIRE OR EXPLOSIONS CAUSING SERIOUS INJURIES OR DAMAGES. IN CASE OF A GAS LEAK, DO NOT LIGHT THE OVEN AND DETERMINE THE REASON FOR THE LEAK IN ORDER TO PREVENT FIRE AND/OR EXPLOSION.
LIGHTING
- Make sure burner knobs are turned to “OFF”.
- For gas oven using a propane tank, slowly open the tank valve.
- Push and rotate the control knob to “HIGH”. You will hear the “snapping”, the burner should light and produce a good strong flame. The control knob can be turned up and down between the low and high settings to control the fire.

TO LIGHT THE OVEN WITH MATCH
If a burner will not light after several attempts using the control knobs, the burners may be lit with a match.
- If you have already attempted to light the main burner with the igniter, allow 5 minutes for any accumulated gas to dissipate.
- Insert a match into the lighting rod.
- Strike the match to light it.
- Gently hold the lit match close to the burner.
- Push and rotate the control knob to “HIGH”. You will hear the “snapping”, the burner should light and produce a good strong flame.
- If the burner does not light within seconds turn the knob to the “OFF” position, wait 5 minutes and try again.

WARNING
When using a match to light the oven make sure to use the lighting rod. Don’t put your hands in the oven.

CAUTION
Before lighting, please check all connections with proper procedure. If there is a leak, immediately turn off the gas! Do not lean over the oven when lighting.
Keep your face and body at least 50 cm/20 inches away from the oven door.
When lighting the oven, the oven door must be open.
The burner control knob must be in the OFF position before turning on the LPG tank valve.
COOKING
- This oven will be hot during and after use. Use PINNACOLO HIGH TEMP GLOVES (PPO-6-05) for protection from hot surfaces or splatter from cooking liquids.
- Always preheat your oven before cooking. Heat for 15-20 minutes or until the thermometer reaches 300-330°C/ 572-626°F.
- Calculate a longer cooking time on cold or windy days or high altitudes. Calculate a shorter cooking time if the external temperature is particularly hot.
- The cooking time depends on the weather conditions or the quantities, dimensions and shape of food.
- Depending on the cooking condition, you may need to regulate the burner knob in order to reach the right cooking temperature.
- Always use heat resistant utensils while cooking. Plastic spoons, forks, tongs, etc and other similar materials will not withstand the high temperatures in your oven and should be avoided.
- Check and remove any residual grease to avoid a grease fire.
- While cooking, do not lean over the open oven or place hands or fingers on the front edge of the oven.
- If the flames go out during cooking, turn off the gas knob and the gas tank knob. Wait five minutes before lighting up the oven again.
- During operation, the oven can reach high temperatures. Do not move the oven or leave it unattended while burning.
- Always keep children and pets away from the oven during use. The oven temperatures can be extremely high and can cause severe burns.
- Keep fuel supply pipes far from hot surfaces.
- The color of the oven surfaces can change due to high temperatures.
TIPS FOR COOKING
Because this unit reaches very high temperatures, it can take as little as 60 seconds to 3 minutes for pizza to cook (it’s much faster than traditional ovens). When first using this oven, you will need to check on the food frequently to ensure that it does not overcook or burn. Optimal cooking times and temperatures will vary depending on the thickness, size, and recipe of dough.
- When cooking pizza, it is advisable to use a long pizza peel. Make sure your pizza has 50/50 flour and semolina or cornmeal under it so it will not stick to the pizza peel or the pizza stone.
- High heat cooks the best pizza. Please use PINNACOLO High Temp Gloves that are made to withstand high temperatures. When taking items such as hot pans out of the oven, the high heat may damage the delicate material of normal oven gloves, so make sure you have good quality insulated gloves like the PINNACOLO High Temp Gloves (PPO-6-05).
- When cooking meat, please place in cookware and/or bakeware, that are made to withstand high temperatures (as long as there is no plastic on handle or lid), before putting into the oven and directly on the stone. Please note cookware or bakeware with Bakelite or phenolic handles can melt.
- As the oven gets very hot, it is a good idea when taking food out to set it on an insulated table near the oven and allow it to cool before bringing into the house.
- The oven is also great for cooking; casseroles, fish, parmigiana, vegetable dishes, frittatas, meats, poultry and much more! Virtually anything you cook in your home indoor oven you can also cook in your PINNACOLO Thermal Clay Gas Powered Oven.
IF THE OVEN COOLS DOWN TOO QUICKLY
- The cause could be either from the first starting or starting the oven after a long period of inactivity.
- Avoid making a small or fast fire that would not heat the oven to capacity.
- Verify that water and/or humidity have not infiltrated the oven.
- Verify that the burner is working.
IF THE OVEN DOES NOT COOK AS DESIRED
- Check that the oven has reached the right temperature.
- Make a fire with approximately 15 to 20 minutes of high flame.
- Ensure the oven maintains the desired temperature for the duration of the cooking time; use the door to adjust the heat intensity as well as the flame adjuster: open and close the door to raise or lower the temperature as necessary.
CARE INSTRUCTIONS
PINNACOLO PIZZA OVENS will provide some of the best food experiences that you will have.
WHERE TO STORE THE OVEN?
- Pizza oven must be completely dry and cool before attempting to move or store. We recommend storing indoors, out of direct sunlight for long-lasting use. Use our oven cover to protect your ovens from harsh weather and debris when not in use.
- If the gas fired oven is not used, shut off and disconnect the tank.
- The gas tank must be placed outside in well ventilated place and must be kept away from a child’s reach. The unused tanks must NOT be stored in buildings, garages or other enclosed places.
- The outer shell of the oven may fade over time and through use. This will not affect performance.
HOW TO CARE FOR YOUR COOKING FLOOR?
In terms of specialized caretaking for your pizza stone, you’ll want to follow a few basic tips:
- As with other parts of the oven, you want to avoid using detergent, as the stone will soak it up and give your homemade pizza a soapy aftertaste.
- Avoid use of excess water on your cooking floor, instead, scrape away loose particles with the PINNACOLO Brush with Scraper (PPO-6-17) and sweep clean.
- If you need some heavy-duty particle cleaning power, try using some medium-grit sandpaper for stubborn, raised, caked-on food particles.
- You should only cook pizza directly on the stone cooking floor. Use proper high temp bakeware is you are cooking meat, vegetables or other dishes.
HOW TO CLEAN THE OUTER SHELL?
- Wipe the dust off the clay outer shell with a damp cloth.
- You can clean the stainless steel part with a soft cloth and stainless steel cleaner, just make sure the products you use are non-abrasive.
HOW TO CLEAN THE INNER PARTS?
- Do not get the internal burner wet to avoid damage.
- The stainless steel part of the inner dome can be wiped with a damp cloth. Avoid using abrasive cleaning products or those containing harsh chemicals.
HOW TO CLEAN THE CHIMNEY?
- Remove the chimney.
- Use either a brush wrapped with a wet cloth or a specialized chimney cleaning brush to run through the inside of the chimney, (dry) this will remove any soot.
- If you want, wash with water and soap after running the brush. To make the chimney extra nice, you can brush it twice.
- Put the chimney back in its place or store in a safe place.
TROUBLESHOOTING MAINTENANCE
BURNER WILL NOT LIGHT
Possible Cause:
- No gas flow.
- Coupling nut and regulator not fully connected.
3. Obstruction of gas flow. - Disengagement of burner to valve.
- Incorrect assembly.
- The distance between the ignition needle and the nozzle is not suitable.
Prevention/Solution:
- Check to see if propane tank is empty.
- Turn the coupling nut about one half to three quarters additional turn until solid stop. Tighten by hand only – do not use tools.
- Clear burner tube.
- Re-engage burner and valve.
- Check steps in assembly instructions.
- Adjust the distance between ignition needle and nozzle to 5mm.
SUDDEN DROP IN GAS FLOW OR LOW FLAME
Possible Cause:
- Out of gas.
Prevention/Solution:
- Check for gas in propane tank.
- Turn off gas control knob, wait 30 seconds and light oven. If flames are still low, turn off gas control knob and propane tank valve. Disconnect regulator. Reconnect regulator and leak test. Turn on propane tank valve, wait 30 seconds and then light oven.
FLARE-UP
Possible Cause:
- Grease build up.
- Excessive fat in meat.
- Excessive cooking temperature.
- Excess flour on the cooking surface.
Prevention/Solution:
- Clean oven.
- Trim fats from meat before cooking.
- Adjust (lower) temperature accordingly.
- Brush remnant flour from cooking surface.
FLAMES ACCIDENTALLY EXTINGUISHED
Possible Cause:
- High or gusting winds.
- Low on propane gas.
Prevention/Solution:
- Turn front of oven away from wind.
- Refill propane tank.
- Refer to sudden drop in gas flow above.
MAINTENANCE FREQUENCY
According to the frequency of use and habits, before using this product, you must first check whether there are cracks in the gas line, whether the ignition needle and the ignition needle thread are damaged, and the normal maintenance cycle should be checked once a week. For replacement parts please contact us at [email protected] or 1-877-288-1110.
LIMITED WARRANTY
Fire One Up Sales Inc., the importer and distributor of the PINNACOLO PIZZA OVENS brand of Outdoor Ovens. Fire One Up Sales Inc warranties the Stainless Steel ovens and their components, including the body, floor, venting system, factory finish, stand and door (hereinafter referred to as the Product) to be free of defects in materials and workmanship for a period of one (1) year from time of purchase.
Qualifications of the Warranty
The complete Product Warranty does not apply to the following:
- The Product was not assembled or installed in accordance with the instructions or local building codes.
- This Warranty does not cover any hairline cracking in the cordierite stones, or problems caused by extreme temperatures.
- The Product has been subjected to non-standard or inappropriate use, including but not limited to tossing or throwing firewood into the oven with force, addition of non-approved accessories or cooking devices, or burning inappropriate or abnormal woods including; driftwood, coal, plywood and woods that have sap, include chemical treatment or are not designed for burning in an outdoor oven.
- The Product has been subject to icing or wet-mopping while the oven is heating or during the cooling period, which can cause cracking or damage to the oven floor or metal components, or improper chemicals or liquids have been used to clean or sanitize the interior of the Product.
- This Warranty does not cover any damage caused by storing any material either on top, below or inside of the Product.
- The Warranty does not apply to normal wear and tear or any parts of the Product that would need replacing under the normal conditions including;
a. Normal or minor cracking due to expansion and contraction stress relief in the refractory materials, including but not limited to the cordierite stone.
b. Scratches to the exterior surface during normal use.
c. Any discoloration due to neglect, weather conditions, and any areas exposed to smoke or any aspect of the Product that may deteriorate as a result of normal use or aging. - This Warranty does not cover damage to, or failure of the Product, resulting from natural causes, or other catastrophic events, such a flood, freezing, fire, earth ovement, wind or storms.
Limitation of Liability
It is expressly agreed and understood that Fire One Up Sales Inc., sole obligation and the Purchaser`s exclusive remedy under this Warranty, and under any other Warranty whether expressed or implied otherwise, shall be limited to replacement, repair, or refund up to the original purchase price of the Product, excluding shipping costs. Such liability shall not include, and Purchaser or other third parties, specifically renounce any rights to recover special, incidental, consequential, or other damages of any kind whatsoever, including, but not limited to, injuries to persons or damage to property, loss of profits or anticipated profits, damage to business reputation or goodwill, all costs incurred receiving, unloading, moving at your location, and installing the Product, or loss of use of the Product.
In no event shall Fire One Up Sales Inc., or any reseller, business partner or associated business, be responsible for any incidental or consequential damages caused by defects in Products, whether such damage occurs, or is discovered before or after replacement or repair, and whether or not such damage is caused by Fire One
Up Sales Inc. or its representatives. The direction of any Warranty with respect to this Product is limited to the legitimate claims received within the duration of the foregoing Warranty.
Warranty of replacement parts or Product shall only be from the original purchase date of the Product, not the date or repair or replacement covered under this Warranty. Parts to be replaced under the Warranty will be repaired or replaced with new or functionally sound parts at the discretion of Fire One Up Sales Inc. or their representative or designated service provider.
NOTE: Some Provinces or States do not allow the exclusion or limitation of incidental or consequential damages, or the duration of implied warranty, so the above exclusions or limitations may not apply to you.
INVESTIGATION OF CLAIMS AGAINST WARRANTY
Fire One Up Sales Inc. reserves the right to investigate any and all claims against this Warranty and to decide upon the method of settlement.
Before any Product is returned, Fire One Up Sales Inc., or its authorized representative, must provide Purchaser with written return authorization and instruction for preparation of the shipment.
Failure to properly package Product for return may result in Purchaser being billed by Fire One Up Sales Inc. Fire One Up Sales Inc. reserves the right to bill Purchaser for return freight if Product was found to be damaged through negligence or Warranty was voided, as outlined in this Warranty. Reference your original Terms of Sale Agreement for additional details.
DEALERS HAVE NO AUTHORITY TO ALTER THIS WARRANTY
Fire One Up Sales Inc. employees and dealers have no authority to make any Warranties, nor to authorize any remedies in addition to, or inconsistent with, those stated above.
HOW TO REGISTER A CLAIM AGAINST THE WARRANTY
In order for any claim under this Warranty to be valid, Fire One Up Sales Inc. must be notified to the claim defect by emailing ([email protected]) or through the official chat access in the PINNACOLO PIZZA OVENS website.
All claims against this Warranty should include the Product Model, original invoice number, date of purchase, date of installation, a description of the defect, photographs or the area of concern, and a full description of the circumstances giving rise to the Warranty claim, if known. Please examine all of the contents of your delivery as soon as possible after receipt and inform Fire One Up Sales Inc. or the place of purchase within ten (10) days if any items are missing, incorrect or damaged.
By following the information within you can expect to
ENJOY your PINNACOLO Pizza Oven and great tasting food,
for many years to come!
Don’t forget to share posts and stories on
PINNACOLOPIZZAOVENS.COM
FIREONEUP.COM
© Copyright 2022 PINNACOLO Pizza Ovens are a trademark of Fire One Up Sales Inc.


















