BOSCH RT20 RF Room Thermostat
Explanation of symbols and safety instructions
Explanation of symbols
Warnings
In warnings, signal words at the beginning of a warning are used to indicate the type and seriousness of the ensuing risk if measures for minimizing danger are not taken. The following signal words are defined and can be used in this document:
DANGER: indicates that severe or life-threatening personal injury will occur.
WARNING: indicates that severe to life-threatening personal injury may occur.
CAUTION: indicates that minor to medium personal injury may occur.
NOTICE: indicates that material damage may occur.
Important information
The info symbol indicates important information where there is no risk to people or property.
Additional symbols
| Symbol | Meaning |
| ▶ | a step in an action sequence |
| a reference to a related part in the document | |
| • | a list entry |
| – | a list entry (second level) |
General safety instructions
Notices for the target group
These operating instructions are intended for the heating system operator. All instructions must be observed. Failure to comply with instructions may result in material damage and personal injury, including danger to life.
- Read and retain the operating instructions (heat source, heating controller, etc.) prior to operation.
- Observe the safety instructions and warnings.
Installation
- The appliance should only be installed by an authorised installer.
- Do not install the appliance in the following locations:
- outside
- in locations which promote corrosion
- in locations with risk of explosion
- Wait until the appliance is at the installation location to remove it from its packaging.
- The electrical connection must comply with the local applicable regulations.
- Connect the appliance to an independent, earthed power source.
Product Information
Scope of delivery

- Thermostat
- Receiver
- Expansion screws
- Screws
- Glue stickers
- Wire connector
- AAA batteries
- Printed documentation
About the appliance
Intended use
This thermostat is an easy to use and install appliance, suitable for wall-hung boilers. The thermostat is used in combination with a receiver and they are connected by wireless communication. The user can send commands via the thermostat into the receiver, which receives those commands and controls the boiler.
WARNING: The wireless communication between the thermostat and the receiver is one-way communication.
Functions and features
- Display area
- Cover-opening button
- Temperature sensor
- Temperature knob
- Indicator button
Display area
- The set room temperature is displayed on the LCD.
- While the target temperature is being set it will also be displayed on this LCD.
Cover-opening button
To open the cover:
- Press the button while turning it out.
Access the unit interior to
- Replace batteries;
- Connect wires;
- Repair wires.
Temperature sensor
- The sensor measures the current room temperature.
Temperature knob
- The temperature knob is used for setting the target temperature.
WARNING: The temperature interval accuracy is about 0.2°C.
The indicator button on the receiver works as a button for setting functions and also displays different types of information through light and colour.
Specifications
| Type | Thermostat |
| Power supply | 2*1.5V LR03/AAA |
| Battery lifetime | > 1 year |
| Dimension (W x H x D) | 86.2×86.2x21mm |
| Protection class | IP20 |
| Operation temperature | 0°C~50°C |
| Operation Humidity | 0~90% |
| Temperature measurement accuracy (environment temperature range 0-5ºC) | ±1.5°C |
| Power consumption | Standby <0.5mW |
| Room temperature set ting range | 3~35℃ (±0.2°C) |
| Temperature display | -9.9~50°C(±0.1°C) |
| Radio frequency | 868MHz (open areas 100 meters) |
| Hysteresis operation window | 0.2 °C On Temperature differential 0.4 °C OFF Temperature differential |
| Type | Receiver |
| Power supply | AC 230V (-20%/+20%) 50Hz (+/-5%) |
| Dimension (W x H x D) | 86×86x21mm |
| Protection class | IP20 |
| Operation temperature | 0°C~50°C |
| Operation Humidity | 0~90% |
| Power consumption | <2.0mW |
| Relay switch | Max 2A 30VDC / 1A 250VAC |
| Radio frequency | 868MHz (open areas 100 meters) |
Simplified EU Declaration of Conformity regarding radio equipment
Bosch Thermotechnik GmbH hereby declares that the TR20 RF Room Thermostat product described in these instructions complies with the Directive 2014/53/EU. The complete text of the EU Declaration of Conformity is available on the Internet: worcester-bosch.co.uk.
Product data on energy consumption EU Regulations
The following product data satisfies the requirements of the EU Regulations No. 811/2013, No. 812/2013, No. 813/2013 and No. 814/2013 supplementing Directive 2010/30/EU.
Product data on energy consumption ErP Directive
The product data specified comply with the requirements of EU Regulation No. 811/2013 as a supplement to ErP Directive 2017/1369/EU. The class of the temperature controller is required to calculate the central heating energy efficiency of an integrated system and is for this reason incorporated into the system datasheet.
| Function of control unit | Class1) | [%]1),2) | |
| Room temperature- dependent, On/Off control | I | 1.0 | .. |
Delivery condition
- Classification of the user interface according to EU Regulation 811/2013 for the identification of integrated systems
- Contribution to seasonal energy efficiency of central heating in %.
Installation
Pairing
WARNING: The pairing of the thermostat and the receiver is a factory default setting.
Make sure that the thermostat and receiver are paired and check if the communication signal is normal. The red LED or green LED of the receiver will flash fast and slowly alternately when the signal is insufficient. During the installation, it is only necessary to connect the receiver to the boiler and set the desired time and date for the thermostat.
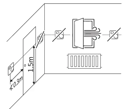
Installation location
Please note the following when choosing the installation location:
- The appliance must be installed in a dry and temperature-stable place.
WARNING: Avoid installing near heat sources and over-cooling or overheating areas.
- The average wireless communication range between the thermostat and the receiver is 100 meters in the open area and 30 meters in the room.
- Pay attention to any metallic elements in the area that might weaken or change the wireless communication between thermostat and receiver.
WARNING: The wireless communication range values may vary depending on the obstacles in the room.
Electrical connection
WARNING
- The electrical connection must meet the current standards for electrical installations in the country of use.
- The appliance must be installed by a professional.
DANGER: Risk of electric shock!
- Isolate the appliance from the power supply before carrying out any work on electrical parts.
Receiver wiring connection
- Prepare the connection wire and insert the wire connector.
- Unscrew the two back cover fixing screws at the bottom of the receiver and detach the back cover.
- Remove and discard the hole cover at the bottom of the receiver.
- Connect the blue and brown wires to the power terminal and connect the black wire to the control terminal.
- Reattach the back cover.
- Insert the two screws back at the bottom of the appliance and tighten them.
Connecting the receiver to the wall-hung boiler
The receiver is connected to the wall-hung boiler by a T.A wire:
- After disconnecting the boiler power supply, find the terminal to be connected to the receiver.
- Remove the terminal short wiring.
- Connect to the receiver T.A wire.
WARNING: Refer to wall-hung boiler manual for more terminal information.
Mounting
WARNING: The thermostat and the receiver have more than one mounting mode option.
Thermostat mounting
- Press the cover-opening button of the thermostat and insert the AAA batteries.
Wall mounting
- The thermostat can be directly mounted on the wall with screws or double-sided glues stickers.
For wall mounting with screws
- Remove the thermostat back cover and mark the cover holes measures on the wall. The distance between the two holes is 60mm.
- Drill the two holes on the wall, with 6mm diameter.
- Fix the back cover to the wall with two screws.
- Reattach the thermostat front cover to the back cover mounted on the wall.
WARNING: Do not touch the circuit board to avoid damage of the electrostatic sensitive parts.
86x86mm wall box mounting
- The thermostat can also be mounted on a 86x86mm wall box. If the thermostat is mounted in a box, it can only be fixed with screws.
Receiver mounting
- Magnet mounting on wall-hung boiler
WARNING: Mount the receiver after its electrical connection to the wall hang boiler is completed.
The receiver comes equipped with a magnetic band in the back cover, allowing it to be magnetically attached to the side of the wall-hang boiler. The receiver cannot be placed inside the wall-hung boiler. The boiler metal shell will shield or interfere with the wireless communication of the devices.
Wall and 86x86mm wall box mounting
- The receiver can also be mounted on the wall.
- Similarly to the thermostat, it can be directly mounted to the wall with screws or inserted onto a 86x86mm wall box.
- For these mounting modes, the mounting process will be the same as for the thermostat.
Parameters
The thermostat has a built-in technical parameters menu. The parameter setting should be adjusted only by professionals.
To access the parameters menu
- Open the back cover of the thermostat and access the buttons on the board on the front cover.
- Rotate the button and wait for the LCD screen to start flashing.
- Press and hold for 3 seconds, the LCD will display P01.
- Rotate the dial to switch to the menu of P01-P02-P03-P04- P05-ESC, and press the button to set the new value.
- Press again to reset or exit the setting.
- Short press on the ESC menu to exit the setting.
| Parameter | Description |
| P01 ON temperature differential | Set the temperature difference to turn ON heating. The default is 0.2°C, and the setting range is 0.0-2.0°C. When the room temperature is lower than the set temperature and the difference reaches the pre-set temperature difference, the heating is turned ON. |
| P02 OFF temperature differential | Set the temperature difference to turn OFF heating. The default is 0.2°C, and the setting range is 0.0-2.0°C. When the room temperature is higher than the set temperature and the difference reaches the pre-set temperature difference, the heating is turned OFF. |
| P03 Room temperature calibration | Enter P03 parameter to calibrate the temperature sensor of the thermostat, (displayed only on the LCD). Rotate the dial to increase or decrease the temperature. Press the button once to set the new temperature value. After setting is stored, the new value will be used as the room temperature. |
| P04 Frequency adjustment | Set the RF communication frequency: 0-9 segment frequency will be available to choose. Repairing is needed after the frequency is modified. |
| P05 Pair with thermostat with receiver | Press and hold the button of the receiver for 3s. The green LED will flash to indicate that it is ready to pair. After paring, the receiver will stop flashing. |
WARNING
- For P03, it is important to use a more accurate thermometer while calibrating. Use this function only when the thermostat is not working normally.
- For P03, avoid touching the thermostat cover and the temperature sensor head while calibrating, as this may affect the temperature calibration.
Operation
Temperature setting
Set the target temperature by rotating the temperature knob in the thermostat:
- Increase the temperature by rotating the temperature knob clockwise.
- Decrease the temperature by rotating the temperature knob counter-clockwise. The target temperature will be displayed when it is set by rotating the knob. The chosen temperature will be set after the value flashes 5 times.
Low battery reminder
WARNING
- The average battery life is about 12 months in normal use.
- The LCD will display the letters LO when the battery level is low and the thermostat will send a command to stop the heating.
- The heating will turn ON again and work at the set temperature after the batteries are replaced.
Receiver – indicator button signals
| Indicator signals | Meanings |
| Green LED stays on | Heating is turned ON. (the user can be turned ON manually or by the thermostat). |
| Red LED stays on | Heating is turned OFF (the user can be turned OFF manually or by the thermostat). |
| Green LED flashes regularly | The thermostat is being paired ( by pressing and holding the indicator button for 5 seconds). |
| Red LED flashes | Fail to communicate with the thermostat. |
| fast and slowly | The heating is automatically turned OFF |
| alternately | (refer to the troubleshooting for details). |
| Green LED flashes fast and slowly alternately | Fail to communicate with the thermostat. The heating is manually turned ON (when the communication cannot be re-establish and the heating is turned ON manually). |
Maintenance
- Check the appliance regularly for faults.
- Keep the appliance and the installation location clean.
Troubleshooting
Thermostat and receiver communication error
After the communication connection has been disconnected for 350 seconds, the red LED of the receiver will flash fast and slowly alternately. The cause of the failure may be the distance between the thermostat and the receiver, wireless frequency conflicts or low batteries in the thermostat.
- When the receiver is reconnected to the thermostat, the receiver will automatically switch to the normal working mode.
- When the communication is disconnected, the receiver will automatically turn OFF the heating in the boiler. This function effectively avoids energy waste and safety issues when the communication is disconnected in winter mode.
- When the communication between the receiver and the thermostat is disconnected, the heating can be turned ON manually in the button on the receiver. The green LED will flash fast and slowly alternately. Once the wireless communication is reconnected, the receiver will work according to settings of the thermostat.
- If the receiver is installed too far from the thermostat, the wireless communication may be weakened. After the communication is disconnected for a period of time, it can be restored to the normal working mode.
- When the power supply of the receiver is insufficient, the communication connection will fail. The receiver will be in standard working mode after the power supply is recovered, and it will work according o settings of the thermostat. It is not necessary to perform any operation to the thermostat or the receiver, unless the location of the thermostat is changed.
Thermostat real-time temperature deviation
- If deviation between thermostat real-time temperature and actual temperature exceeds 1.5℃, the thermostat needs to be calibrated.
- For consulting the calibration method, check parameter P03.
Environmental protection and disposal
Environmental protection is a fundamental corporate strategy of the Bosch Group. The quality of our products, their economy and environmental safety are all of equal importance to us and all environmental protection legislation and regulations are strictly observed. We use the best possible technology and materials for protecting the environment taking account of economic considerations.
Packaging
Where packaging is concerned, we participate in countryspecific recycling processes that ensure optimum recycling. All of our packaging materials are environmentally compatible and can be recycled.
Used appliances
Used appliances contain valuable materials that can be recycled. The various assemblies can be easily dismantled. Synthetic materials are marked accordingly. Assemblies can therefore be sorted by composition and passed on for recycling or disposal.
Old electrical and electronic appliances
This symbol means that the product must not be disposed of with other waste, and instead must be taken to the waste collection points for treatment, collection, recycling and disposal.
The symbol is valid in countries where waste electrical and electronic equipment regulations apply, e.g. “European Directive 2012/19/EC on old electronic and electrical appliances”. These regulations define the framework for the return and recycling of old electronic appliances that apply in each country. As electronic devices may contain hazardous substances, it needs to be recycled responsibly in order to minimize any potential harm to the environment and human health.
Furthermore, recycling of electronic scrap helps preserve natural resources. For additional information on the environmentally compatible disposal of old electrical and electronic appliances, please contact the relevant local authorities, your household waste disposal service or the retailer where you purchased the product.
You can find more information here: www.weee.bosch-thermotechnology.com/
Batteries
Batteries must not be disposed together with your household waste. Used batteries must be disposed of in local collection systems.
Bosch Thermotechnik GmbH
- Junkersstrasse 20-24 D-73249 Wernau
- www.bosch-thermotechnology.com

6721844607 (2022/03) DIV




















