BRINK PCB UWA-2E Modbus

Installation




Note: After mounting the extension set, the power cable can be guided at the side of the extension cap.

14.1 Modbus ® InternalBus By default the connector X15 on the main PCB is used for the Modbus communication. When a extension set is connected, the connector is used for the communication with the extension PCB. Hence the communication type has to be changed in the unit settings. The use of Modbus after connecting the extension set is still possible. However the Modbus cable should now be connected to the X06 connector on the extension print.

Electrical connections

| UWA-2E | |||
| Connection | Nr. Poles | Colour | Description |
| X01 | 20-P | white | Inapplicable; only for factory purpose |
| X02 | 3-P | – | Inapplicable; only for factory purpose |
| X03 | 2-P | black | 24 Volt (1= ground, 2 = 24V) – Power input |
| X04 | 3-P | light grey | InternalBus |
| X05 | 2-P | – | RS485 terminator |
| X06 | 3-P | red | ModBus (1= gnd, 2=RS485 A , 3 = RS485 B) |
| X07 | 2-P | – | RS485 terminator |
| X08 | 2-P | brown | Switching contact 1 |
| X09 | 2-P | brown | Switching contact 2 |
| X10 | 2-P | blue | Relay output 1 – Can be used to connect a geo-heat exchanger. |
| X11 | 2-P | blue | Relay output 2 – Can be used to switch an external device on and off/ The output must be protected to drive a relay coil |
| X12 | 2-P | yellow | Analogue input 1 (0V – 10V) |
| X13 | 2-P | yellow | Analogue input (0V – 10V) |
| X14 | 2-P | orange | Analogue output 2 (0V- 10V) |
| X15 | 2-P | orange | Analogue output (0V – 10V) |
| X16 | 2-P | dark grey | NTC (10k) – This extra sensor can be used to measure the outside temperature for the control of the geothermal heat exchanger. |
| X17 | 8-P | metal colored | LAN |
Usage
- Connector X01 Inapplicable; only for factory purpose
- Connector X02 Inapplicable; only for factory purpose
- Connector X03 – Power input Make sure that the wiring is correctly connected and not mixed up.
- Gnd
- 24V / 200mA
- Connector X04 – RS485: InternalBus The InternalBus is used for the communication between the extention print (UWA2-E) and the main PCB (UWA2-B).
- Gnd
- InternalBus – RS485 A
- InternalBus – RS485 B
- Connector X05 – RS485 Terminator This are two pins for supporting a jumper. If the jumper is placed over pins 1 and 2 a terminator resistor (120 Ohm) is placed over lines A and B of the RS485 InternalBus interface (X04). Default this jumper is in place.
- Connector X06 – RS485 ModBus The connection is RS485 and will be used as a ModBus interface, supporting the ModBus protocol (RTU) to connect to a ModBus network. The RS485 interface should support speeds up to 1Mbit/sec.
- Gnd – RS 485
- ModBus – RS485 A
- ModBus – RS485 B
- Connector X07 – RS485 Terminator This are two pins for supporting a jumper. If the jumper is placed over pins 1 and 2 a terminator resistor (120 Ohm) is placed over lines A and B of the RS485 ModBus interface (X06). Default this jumper is not in place; the jumper is placed only on pin 1.
- Connector X08 & X09 – Switching contact 1 & 2 To these connections an external switch can be connected. These components can supply a make or a break contact. An example of an external component is the pressure sensor for detecting a fireplace, fire damper, etc. The input should be a potential-free switch.
- SW (Gnd)
- SW
The function of both switching contacts can be programmed within menu 9, “Switching contacts”, in the ventilation unit.- X08 is switching contact 1
- X09 is switching contact 2
The following options are available:
- Is this a make or break contact?
- How should the switching contact behave?
- Off (no action)
- On (use fan action, see C)
- Meets Bypass conditions (use fan settings only if bypass is open)
- Bypass valve is open (open the bypass valve in adition to fan settings)
- Open external valve (activate relais 2, X11, in adition to fan settings)
- Which fan action should be performed? This can be specified separately for both the supply and the exhaust fan.
- Fan off
- Fan runs at absolute minimum
- Fan according to setting 1
- Fan according to setting 2
- Fan according to setting 3
- Fan according to multiple switch
- Fan runs at absolute maximum
Connector X10 & X11 – Relay output 1 & 2 This connection is defined as an output and could drive a 24V DC relay with a maximum continue power of 60 mA. It can be used to switch an external device on and off.
The output must be protected to drive a relay coil. Output: frequency < 10 Hz.
- Gnd
- Relay output 24V – 60 mA
The function is identical to connector X19 of the basic board UWA2-B. This connection is used to give a fault message. If a fault message is given in the appliance a contact is closed at connection X19. (The operation of X19 on the UWA2-B (basic board) is set by step number 16.1.)
Connector X12 & X13 – 0–10V input 1 & 2 These connections are an analog input. They will measure the output voltage of a connected device in the range 0V till 10V. The resolution is 0.1V, the accuracy must be +/- 0.1V or better. Response time max. 1 second (time to settle).
- Gnd
- Vin
The device must be able to communicate via 0-10V with external devices, such as a CO2 sensor. For this purpose, a component with a 0-10V output can be connected to one of the two 0-10V inputs X12 or X13 of the extension board. A minimum and maximum voltage must be entered in the settings menu between which the appliance must respond proportionally.
The function of 0-10v inputs can be programmed within menu 10, “0-10 v”, in the ventilation unit.
- X12 is 0-10v input 1
- X13 is 0-10v input 2
The following options are available:
- Should the input be used (on/off)?
- What should be the minimum voltage at which the fans will start to increase the flow? Default is 0 volt.
- What should be the maximum voltage at which the fans will produce the maximum flow? Default is 10 volt.
Connector X14 & X15 – 0–10V output 1 & 2 These connections are an analog output. They can be used to control a device which requires a control signal in the range from 0 or 10V. The resolution is 0.1V. Response time < 1 second (time to settle). Maximum 20mA.
- Gnd
- Vou
This output must be protected against short circuit. For example: The appliance can give a signal on the outputs 0-10V when 0-10V control has been selected for the geothermal heat exchanger
Connector X16 – NTC 10k To this input a 10K NTC sensor is connected. This connection uses an analog input on the processor. It must be possible to measure with a resolution of 0.1 degrees in the range of -20.0 till +60.0 °C. Precision +/- 0.5 °C or better.
- NTC (Gnd)
- NTC
Connector X17 LAN connection This connector is a standard LAN connection. The interface should support 100 Mbit/s. Connector type: Shielded RJ45 – 8 poles The appliance must be able to connect to a network via LAN X17 and with Brink Home. The appliance must send some parameters to Brink Home via the LAN. The screen must also show that there is a connection via LAN and that there is a connection with Brink-Home. If a user is not using a LAN, it should be off.
SW1 – Search button This is a small switch which is used for identification of the module in a InternalBus network. Switch type: Momentary push button Off – On.
WIFI & LAN WIFI Via the WiFi module on the UWA-2E, the device can make a wireless connection to a network and with Brink Home. The appliance must send some parameters to Brink Home via the WiFi. It must also be visible on the screen that there is a connection via WLAN and that there is a connection with Brink-Home. If a user does not use WiFi, it must be switched off. Log in with appliance with a display When a user wants to register the device, the user must turn on WiFi via the device. After this the network (SSID) and password must be entered by the user.
LAN
The appliance connect to a network via LAN and automatically with Brink Home. The appliance must send some parameters to Brink Home via the LAN. The screen must also show that there is a connection via LAN and that there is a connection with Brink-Home. If a user is not using a LAN, it should be off.
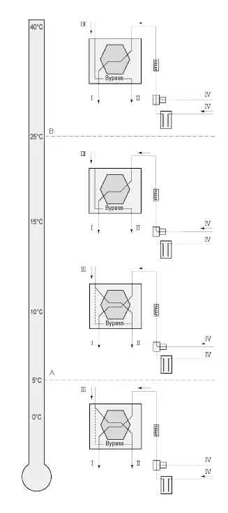
Geo heat exchanger connecting example A geo heat exchanger can be connected to the PCB UWA-2E.
Via the geo heat exchanger it is possible to preheat or cool the outside air, depending on the outside conditions and the status of the bypass valve. For the geo heat exchanger function, two switching temperatures are required, a maximum temperature and a minimum temperature. These switching temperatures are adjustable; the maximum between 15 ° C and 40 ° C, the minimum between 0 ° C and 10 ° C. The outside temperature for the geo heat exchanger is measured with an extra outside temperature sensor; connected to X16, that measures the outside temperature. When the outside temperature falls below the minimum switching temperature, the external valve for the geo heat exchanger will be opened, so that the cold outside air flows through the geo heat exchanger.
The bypass valve will be closed. When the outside temperature rises above the minimum switching temperature and remains below the maximum switching temperature, the external valve for the geothermal heat exchanger will be closed, so that the outside air does not flow through the geothermal heat exchanger. The bypass will be regulated according to the standard bypass conditions. If the outside temperature exceeds the maximum switching point, the external valve for the geothermal heat exchanger will be opened so that the warm outside air flows via the geothermal heat exchanger. The bypass valve will be open. When the outside temperature falls below the maximum switching point with a hysteresis of 0.5 degrees Celsius, the external valve for the geo heat exchanger must be closed. The bypass will be regulated according to the standard bypass conditions. A high-low signal (10V – 0V) or a relay output (24V – 0V) is used to control the external valve. For example: High signal is valve open, low signal is valve closed ( adjustable setting).
A geo heat exchanger can be connected to 2-pole connection X10, X11,X14 or X15. Connect the outdoor temperature sensor to connector X16.

Depending on the type of valve the geo heat exchanger can be connected to different connection of the Plus PCB:
- X10 no. 1 & 2 – Relay output 1 (Factory setting) X11 no. 1 & 2 – Relay output 2
- X14 no. 1 & 2 – Analogue output 1 (0 – 10 V)
- X15 no. 1 & 2 – Analogue output 2 (0 – 10 V)
Connect the outdoor temperature sensor to no. 1 and no. 2 of the 2-pole connectorX-16.
- Min. temperature
- Max. temperature
- To dwelling
- To outside
- From dwelling IV = From outside
When using a geo heat exchanger, parameter 11.1 must be changed from “OFF” to “ON”.
| Step No. | Description | Factory setting | Range |
| 11.1 | Switching on and off | Off | On/ off |
| 11.2 | Switch temperature 1 | 5°C | 0.0 °C / 10.0 °C |
| 11.3 | Switch temperature 2 | 25°C | 15.0°C / 40.0 °C |
| 11.4 | Mode valve 10 volt control | Closed | Open / Closed |
| 11.5 | Valve control | Relay output 1 | Relay output 1/Relay output 2/ Analogue output 1/Analogue output 2 |
Technical infomation

- Flair appliance with mounted Basic pcb (For example a Flair appliance type 4-0)
- Plus pcb mounting plate
- Plus pcb
- Plus pcb protective cap
Connecting with Brink Home
Compatibility Please consult the serial number of the ventilation unit and the following table to check if the unit is supported.
Serial number Flair
| Serial number | Compatibility |
| 4xxxxx2050xx (or later) | Always supported |
| 4xxxxx2049xx – 4xxxxx1904xx | Supported after software update Note! Software should only be updated by installer. |
| 4xxxxx1903xx (or earlier) | Not supported (Hardware main PCB not compatible) |
Set up
- Set Type of Bus connection to InternalBus (Menu 14.1)

Press << to confirm InternalBus-setting. - Set type of connection Wi-Fi or LAN (Menu 13.1 )

Press << to confirm WLAN-setting.
Wi-Fi Enter SSID (Menu 13.2 )

Press << to confirm SSID-setting. Go directly to step number 3 – Enter and confirm Brink Home Password
Enter SSID password (Menu 13.3)

Press << to confirm SSID-Password.
Wi-Fi specifications
- 802.11 b/g/n/e/i
- 802.11 n (2.4 GHz)
- Wi-Fi Protected Access (WPA)/WPA2/WPA2-Enterprise/Wi-Fi Protected Setup (WPS)
Enter and confirm Brink Home password

Press << to confirm Brink-Home Password.
Password requirements: At least 8 characters, with at least one lower-case and one upper-case letter as well as one number or special character. Same password is required in step 5
Check connection in Main menu (could take a couple of minutes).

Successful connection Wi-Fi Successful connection LAN
Register account and unit in the Brink Home Portal (www.Brink-home.com)

Enter the 12-digit serial number of the Flair here (it is located on the type plate behind the front cover). Enter password, set in step 3
Conformity declaration
This declaration of conformity is issued under the sole responsibility of the manufacturer.
- Fabrikant: Brink Climate Systems B.V.
- Addres: Postbus 11
- NL-7950 AA, Staphorst, The Netherlands
- Product Type: PCB UWA-2E
The product described above complies with the following directives:
- 2014/35/EU (OJEU L 96/357; 29-03-2014)
- 2014/30/EU (OJEU L 96/79; 29-03-2014)
- RoHS 2011/65/EU (OJEU L 174/88; 01-07-2011)
The product described above has been tested according to the following standards:
- EN 55014-1 : 2017+A11:2020
- EN 55014-2 : 2021
- EN IEC 61000-3-2 : 2019+A1:2021
- EN 61000-3-3 : 2013+A1:2019
- EN 61000-3-3 : 2013/AMD2 :2021
- EN 301 489-17 2.4 : 2020-09
- EN 300 328 2.2 : 2019-07
- ETSI EG 203 367 1.1 : 2016-06
EU-Type Examination Certificate 40053664 ; VDE Testing and Certification Institute (0366) EU-Type Examination Certificate 172141366/AA/01 ; Telefication B.V.(0560)
- EN 62311 2018





















