Hotpoint H7F HS51 Dishwasher

Product Information: Hotpoint Dishwasher
The Hotpoint Dishwasher comes with a control panel that has various buttons and indicator lights for different programs. The appliance comes with a user manual that provides detailed safety and installation instructions, and additional information about the product is available on the Hotpoint website. The dishwasher has a salt reservoir and a rinse aid reservoir, and the control panel has indicator lights to alert users when these need to be refilled. The appliance also has a water softener that can be adjusted based on the actual water hardness in the user’s house.
Product Usage Instructions: First Time Use
- Make sure to remove all transport protection parts from the dishwasher after installation.
- Switch on the appliance by pressing the ON-OFF button.
- Hold the Settings (Half Load) button for 3 seconds until you hear a beep.
- After one second, the first available setting (letter, h) will be displayed.
- Press the button to scroll through the list of available settings (see table below), then press START/Pause to view and change the value of the currently selected setting.
- Press to change the value, then press START/Pause to save the new value.
- To change another setting, repeat points 2 and 5.
- Press ON-OFF or wait 30 seconds to exit the menu.
Product Usage Instructions: Refilling the Salt Reservoir
- Make sure the control panel is lit.
- Remove the lower rack and unscrew the reservoir cap (anticlockwise).
- Position the funnel and fill the salt reservoir right up to its edge (approximately 0,5 kg); it is not unusual for a little water to leak out.
- Only the first time you do this: fill the salt reservoir with water.
- Remove the funnel and wipe any salt residue away from the opening.
- Make sure the cap is screwed on tightly so that no detergent can get into the container during the wash program (this could damage the water softener beyond repair).
- Run a program every time as soon as you completed refilling the salt reservoir to avoid corrosion.
Product Usage Instructions: Adjusting Water Hardness Level
- To allow the water softener to work in a perfect way, it is essential that the water hardness setting is based on the actual water hardness in your house. This information can be obtained from your local water supplier.
- The factory setting for water hardness is 3. To change, follow instructions in section “Setting Menu.”
THANK YOU FOR BUYING A HOTPOINT PRODUCT.
In order to receive a more complete assistance, please register your appliance on: www.hotpoint.eu/register
Before using the appliance carefully read Safety and Installation Instructions. More information about your product available on website: docs.hotpoint.eu
- After installation, please remember to remove all transport protection parts from the dishwasher.
CONTROL PANEL

- ON-OFF/Reset button with indicator light
- Eco program button with indicator light
- Auto Intensive program button with indicator light
- Auto Mixed program button with indicator light
- Auto Fast program button with indicator light
- Rapid program button with indicator light
- Delicates program button with indicator light
- Soak program button with indicator light
- Salt reservoir empty indicator light
- Rinse Aid reservoir empty indicator light
- Display
- Program number and remaining time indicator
- Closed water tap indicator light
- DESCALE indicator light
- 3D Zone Wash option button with indicator light
- Half Load option button with indicator light/ Settings – 3 sec. press
- Extra Dry option button with indicator light
- Silent option button with indicator light/ Key lock – 3 sec. press
- Sani Rinse option button with indicator light
- Self-Clean program button with indicator light
- Delay option button with indicator light
- START/Pause button with indicator light
FIRST TIME USE
SETTING MENU
- Switch on the appliance by pressing the ON-OFF button.
- Hold the Settings (Half Load ) button for 3 seconds until you hear a beep.
- After one second the first available setting (letter „h”) will be displayed.
- Press button to scroll through the list of available settings (see table below), then press START/Pause to view and change the value of the currently selected setting.
- Press to change the value, then press START/Pause to save the new value.
- To change another setting, repeat points 2 and 5.
- Press ON-OFF or wait 30 seconds to exit the menu.
| LETTER | SETTING | VALUES (Default – in bold) | ||
| Water Hardness Level (see “SETTING THE WATER HARDNESS” and “WATER HARDNESS TABLE”) | 1 | 2 | 3 | 4 | 5 | |||
| Rinse Aid Level (see “ADJUSTING THE DOSAGE OF RINSE AID”) | 0 | 1 | 2 | 3 | 4 | 5 | |||
| Active Dry (see “OPTIONS AND FUNCTIONS”) “1” = On, “0” = Off | 1 | 0 | |||
| Sound “1” = On, “0” = Off | 1 | 0 | |||
| Factory Settings Press START/Pause to restore to the factory default all the values of the settings included in the settings menu. | – | |||
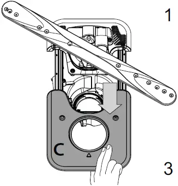
FILLING THE SALT RESERVOIR
The use of salt prevents the formation of LIMESCALE on the dishes and the machine’s functional components. The salt reservoir is located in the lower part of the dishwasher (under the lower rack on the left side).
- It is mandatory that THE SALT RESERVOIR NEVER BE EMPTY.
- It is important to set the water hardness.
- Salt must be filled when the SALT REFILL indicator light on the control panel is lit.
- Remove the lower rack and unscrew the reservoir cap (anticlockwise).
- Position the funnel (see figure) and fill the salt reservoir right up to its edge (approximately 0,5 kg); it is not unusual for a little water to leak out.
- Only the first time you do this: fill the salt reservoir with water.
- Remove the funnel and wipe any salt residue away from the opening. Make sure the cap is screwed on tightly so that no detergent can get into the container during the wash program (this could damage the water softener beyond repair).
Run a program every time as soon as you completed refilling the salt reservoir to avoid corrosion.
Setting the water hardness
To allow the water softener to work in a perfect way, it is essential that the water hardness setting is based on the actual water hardness in your house. This infor-mation can be obtained from your local water supplier. The factory setting is “3”. See „WATER HARDNESS TABLE”.
To change, follow instructions in section „SETTING MENU”.
| Water Hardness Table | |||
| Level | °dH German degrees | °fH French degrees | °Clark |
| 1 (soft) | 0 – 6 | 0 – 10 | 0 – 7 |
| 2 (medium) | 7 – 11 | 11 – 20 | 8 – 14 |
| 3 (average) | 12 – 16 | 21 – 29 | 15 – 20 |
| 4 (hard) | 17 – 34 | 30 – 60 | 21 – 42 |
| 5 (very hard) | 35 – 50 | 61 – 90 | 43 – 62 |
Only use salt that has been specifically designed for dishwashers. After the salt has been poured into the machine, the SALT REFILL indicator light switches off. If the salt container is not filled, the water softener and the heating element may be damaged as a result of limescale accumulation. Use of salt is recommended with any type of dishwasher detergent.
WATER SOFTENING SYSTEM
Water softener automatically reduces water hardness, consequently preventing scale buildup on the heater, contributing also to better cleaning efficiency. This system regenerates itself with salt, therefore it is required to refill the salt container when empty. The frequency of regeneration depends on the water hardness level setting – regeneration takes place once per 4-6 Eco cycles with the water hardness level set to 3. The regeneration process occurs at the beginning of the cycle with additional fresh water.
- Single regeneration consumes: ~3L of water;
- Takes up to 5 additional minutes for the cycle;
- Consumes below 0.005kWh of energy.
FILLING THE RINSE AID DISPENSER
Rinse aid makes dish DRYING easier. The rinse aid dispenser A should be filled when the RINSE AID REFILL indicator light in the control panel is lit.
- Open the dispenser B by pressing and pulling up the tab on the lid.
- Pour in the rinse aid (max. 110 ml), making sure it does not overflow from the dispenser. If this happens, clean the spill immediately with a dry cloth.
- Press the lid down until you hear a click to close it. NEVER pour the rinse aid directly into the appliance tub.
Adjusting the dosage of rinse aid
If you are not completely satisfied with the drying results, you can adjust the quantity of rinse aid used. To change, follow instructions in the section „SETTING MENU”. If the rinse aid level is set to ZERO, no rinse aid will be supplied. The LOW RINSE AID indicator light will not be lit if you run out of rinse aid. A maximum of 6 levels can be set according to the dishwasher model.
- If you see bluish streaks on the dishes, set a low number (0-3).
- If there are drops of water or limescale marks on the dishes, set a mid-range number (4-5).
FILLING THE DETERGENT DISPENSER
To open the detergent dispenser use the opening device C. Introduce the detergent into the dry dispenser D only. Place the amount of detergent for pre-washing directly inside the tub.
- When measuring out the detergent refer to the mentioned earlier information to add the proper quantity. Inside the dispenser D, there are indications to help the detergent dosing.
- Remove detergent residues from the edges of the dispenser and close the cover until it clicks.
- Close the lid of the detergent dispenser by pulling it up until the closing device is secured in place.
The detergent dispenser automatically opens up at the right time according to the program. Usage of detergent not designed for dishwashers may cause malfunction or damage to the appliance.
DAILY USE
- CHECK WATER CONNECTION
Check that the dishwasher is connected to the water supply and that the tap is open. - SWITCH ON THE DISHWASHER
Press the ON/OFF button. - LOAD THE RACKS (see LOADING THE RACKS).
- FILL THE DETERGENT DISPENSER
- CHOOSE THE PROGRAM AND CUSTOMISE THE CYCLE
Select the most appropriate program in accordance with the type of crockery and its soiling level (see PROGRAMS DESCRIPTION) by pressing the selected PROGRAM button.
Select the desired options (see OPTIONS AND FUNCTIONS).
Not all options are compatible with all programs. - START
Start the wash cycle by closing the door and pressing START/Pause button (led is lit). When the program starts you hear a single beep. - END OF WASH CYCLE
The end of the wash cycle is indicated by beeps and by the flashing of the wash cycle number on the display. Switch off the appliance by pressing the ON/OFF button and opening the door.
Wait for a few minutes before removing the crockery – to avoid burns. Unload the racks, beginning with the lower one.
MODIFYING A RUNNING PROGRAM
If a wrong program was selected, it is possible to change it, provided that it has only just begun. RESET the machine: press and hold the ON/OFF button for more than 3. sec., and the machine will switch off. The dashboard will show “0:01”. Switch the machine back on using the ON/OFF button and select the new wash cycle and any desired options. Start the cycle by pressing the START/Pause button.
ADDING EXTRA CROCKERY
Without switching off the machine, open the door first slightly to avoid water splashing out (START/Pause led starts blinking) (Caution!: Hot steam!) and place the crockery inside the dishwasher. Close the door and press the START/Pause button, the cycle will resume from the point at which it was interrupted.
ACCIDENTAL INTERRUPTIONS
If the door is opened during the wash cycle, or if there is a power cut, the cycle stops. Close the door and ONLY IF YOU PRESS the START/Pause button the cycle will resume from the point at which it was interrupted.
ADVICE AND TIPS
TIPS
Before loading the baskets, remove all food residues from the crockery and empty the glasses. You do not need to rinse beforehand under running water. Arrange the crockery so that it is held in place firmly and does not tip over; and arrange the containers with the openings facing downwards and the concave/convex parts placed obliquely, thus allowing the water to reach every surface and flow freely.
Warning: lids, handles, trays and frying pans should not prevent the sprayer arms from rotating.
Place any small items in the cutlery basket. Very soiled dishes and pans should be placed in the lower basket because in this sector the water sprays are stronger and allow a higher washing performance. After loading the appliance, make sure that the sprayer arms can rotate freely.
UNSUITABLE CROCKERY
- Wooden crockery and cutlery.
- Delicately decorated glasses, artistic handicrafts and antique crockery. Their decorations are not resistant.
- Parts in synthetic material which do not withstand high temperatures.
- Copper and tin crockery.
- Crockery soiled with ash, wax, lubricating grease or ink.
The colours of glass decorations and aluminium/silver pieces can change and fade during the washing process. Some types of glass (e.g. crystal objects) can become opaque after a number of wash cycles too.
DAMAGE TO GLASS AND CROCKERY
- Only use glasses and porcelain guaranteed by the manufacturer as dishwasher safe.
- Use a delicate detergent suitable for crockery
- Collect glasses and cutlery from the dishwasher as soon as the wash cycle is over.
TIPS ON ENERGY SAVING
- When the household dishwasher is used according to the manufacturer’s instructions, washing tableware in a dishwasher usually consumes less energy and water than hand dishwashing.
- In order to maximize dishwasher efficiency, it is recommended to initiate the wash cycle once the dishwasher is fully loaded. Loading the household dishwasher up to the capacity indicated by the manufacturer will contribute to energy and water savings. Information on the correct loading of tableware can be found in the Loading chapter. In case of partial loading, it is recommended to use a dedicated wash options if available (Half load/ Zone Wash/ Multizone), filling up only selected racks. Incorrect loading or overloading of the dishwasher may increase resources usage (such as water, energy and time, as well as increase noise level), reducing cleaning and drying performance.
- Manual pre-rinsing of tableware items leads to increased water and energy consumption and is not recommended.
HYGIENE
To avoid odour and sediment which can be accumulated in the dishwasher please run a high-temperature program at least once a month. Use a teaspoon of detergent and run it without loading to clean your appliance.
RESISTANCE TO FROST
If the appliance is placed in surroundings exposed to the risk of frost, it must be drained completely. Turn off the water tap, remove the inlet and outlet hoses, and let all the water drain away. Make sure that the water softener is full of dissolved regeneration salt in the salt container, to protect the appliance from temperatures of up to -20°C. If the appliance was stored in frost conditions the appliance must remain at an ambient temperature of min. 5°C for at least 24 hours before the first run.
PROGRAMS TABLE
| Program | Programs description | Drying phase | Active Dry | Available options *) | Duration of wash program (h: min)**) | Water consumption (litres/cycle) | Energy consumption (kWh/cycle) | |
| Eco | Eco 50°- Program is suitable to clean normally soiled table- ware, that for this use, it is the most efficient program in terms of its combined energy and water consumption, and that it is used to assess compliance with the EU Eco design legislation. | 4:00 | 9.5 | 0,65 | ||||
| Auto Intensive 65° – Automatic program for heavily soiled dishes and pans. | Senses the level of so- iling on the dishes and adjusts the program accordingly. When the sensor is detecting the soil level an animation appears in the display and the cycle duration is updated. |
| 2:25 – 3:10 | 15.5 – 24.5 | 1.30 – 1.70 | |||
![]() | Auto Mixed 55° – Automatic program for normally soiled dishes with dried food residues. | 1:20 – 3:00 | 7.5 – 19.5 | 0.75 – 1.20 | ||||
![]() | Auto Fast 50° – Automatic program for normally and lightly soiled dishes. The everyday cycle that ensure optimal cleaning and drying performance in shorter time. | 1:00 – 1:50 | 7.5 – 15.5 | 0.70 – 1.10 | ||||
![]() | Rapid 45° – Program is recommended for limited amount of lightly-soiled dishes with no dried food residues. Does not include the drying phase. | – |
| 0:30 – 0:40 | 10.0 – 12.0 | 0.55 – 0.65 | ||
![]() | Delicates 45° – Program for delicate items, which are more sensitive to high temperatures, for example, glasses and cups. |
| 1:40 – 1:50 | 12.5 – 16.5 | 0.95 – 1.20 | |||
![]() | Soak – Use to refresh crockery planned to be washed later. No detergent is to be used with this program. | – | 0:12 | 4.5 | 0.10 | |||
![]() | Self-Clean 65° – Program to be used to perform maintenance of the dishwasher, to be carried out only when the dishwasher is EMPTY using specific detergents designed for dishwasher maintenance. | – | – | 1:15 | 11.0 | 1.10 | ||
ECO program data is measured under laboratory conditions according to European Standard EN 60436:2020.
Note for Test Laboratories: For information on comparative EN testing conditions, please send an email to the following address: [email protected] Pre-treatment of the dishes is not needed before any of the programs.
- Not all options can be used simultaneously.
- Values given for programs other than the program Eco are indicative only. The actual time may vary depending on many factors such as temperature and pressure of the incoming water, room temperature, amount of detergent, quantity and type of load, load balancing, additional selected options and sensor calibration. The sensor calibration can increase program duration by up to 20 min.
OPTIONS AND FUNCTIONS
OPTIONS can be selected/ deselected, after choosing the program, directly by pressing the corresponding button (if available – the indicator lights up) (see CONTROL PANEL). If an option is not compatible with the selected program (see PROGRAMS TABLE), the corresponding LED flashes rapidly 3 times and beeps will sound. The option will not be enabled. An option can change time or water or energy consumption for the program.
- 3D ZONE WASH – Thanks to the additional power jets this option provides up to 80% more water power, a more intensive and powerful wash in the lower rack, in the specific bottom area. This option is recommended for washing pots and casseroles (Please refer to the 3D loading section).
- HALF LOAD – If there are not many dishes to be washed, HALF LOAD is used to save water, electricity or time depending on the selected program. Remember to reduce the amount of detergent.
- EXTRA DRY – The higher temperature during the final rinse and the extended drying phase allows for improved drying. The EXTRA DRY option results in the lengthening of the wash cycle.
- SILENT – Suitable for the night-time operation of the appliance. This option can be used to limit noise emissions during wash phases. It will increase cycle time depending on base cycle selection.
- SANI RINSE – This option can be used to sanitize washed dishes. It will increase the final rinse temperature and add an antibacterial wash to the selected program. Ideal to clean crockery and feeding bottles. The dishwasher door must be kept shut for the entire duration of the program in order to guarantee a reduction of germs. If the door is opened the indicator lamp starts flashing.
WARNING: the crockery and plates could be extremely hot at the end of the cycle.
- SENSING – When the sensor is detecting the soil level an animation appears in the display (around 20 min.) and the cycle
duration is updated. SENSING is for the level of soiling on the dishes and is present for all cycles (excepting Eco) adjusting the program accordingly. - KEYLOCK – A long press (for 3 seconds) of SILENT button, will activate the KEYLOCK function. The KEYLOCK function will block the control panel except for the ON/OFF button. To deactivate the KEYLOCK, long press again.
- WATER TAP CLOSED – Alarm – Flashes, when there is no inlet water or water tap is closed.
- DELAY – The start of the program may be delayed for a period of time between 0:30 and 24 hours.
- Select the program and any desired options. Press the DELAY button (repeatedly) to delay the start of the program. Adjustable from 0:30 to 24 hours. Once the 24 hours setting is reached, press the DELAY another time to deactivate the DELAY function.
- Close the door and press the START/Pause button. The timer will begin counting down.
- Once this time has elapsed, the indicator light switches off and the program begins automatically.
The DELAY function cannot be set once a program has been started.
- DESCALE – Alarm – Limescale accumulation was detected on internal components of the appliance. Check if the Water Hardness Setting is at the correct value and salt is present in the salt container (see FIRST TIME USE), then use a descaling product (WPro brand is recommended) with Self-Clean program. After a successful descaling, the icon will stop being displayed.
If the actions above are not performed, product performance will deteriorate. DESCALE warning will start blinking and «dES» alarm will appear on the display. If still no action is taken, the appliance will only allow a certain number of cycles to be started (indicated during «dES» alarm display) and then will be BLOCKED to prevent component damage, with only the Self-Clean program available. Performing a full descaling will unblock the product. In the case of extremely high amounts of limescale, descaling may have to be performed twice to be efficient. - Active Dry – It is a convection drying system which automatically opens the door during/after the drying phase to ensure exceptional drying performance every day. The door opens at a temperature that is safe to your kitchen furniture, thus door will not be opened when the option of SANI RINSE is on.
As additional steam protection, specially designed protection foil is added together with the dishwasher. To see how to mount protection foil please refer to the INSTALLATION GUIDE. This feature is active by default, but it is possible to deactivate it in the “SETTINGS MENU”.
LOADING THE RACKS
CUTLERY RACK
The third rack was designed to house the cutlery. Arrange the cutlery as shown in the figure. A separate arrangement of the cutlery makes collection easier after washing and improves washing and drying performance. Knives and other utensils with sharp edges must be positioned with the blades facing downwards.
The cutlery rack is equipped with two sliding side trays to make the most of the height of the space below and enable the loading of high items into the upper rack.
UPPER RACK
Load delicate and light dishes: glasses, cups, saucers, low salad bowls. The upper rack has tip-up supports which can be used in a vertical position when arranging tea/ dessert saucers or in a lower position to load bowls and food containers.
(loading example for the upper rack)
Adjusting the height of the upper rack
The height of the upper rack can be adjusted: a high position to place bulky crockery in the lower basket and a low position to make the most of the tip-up supports by creating more space upwards and avoiding collision with the items loaded into the lower rack. The upper rack is equipped with an Upper Rack height adjuster (see figure), without pressing the levers, lift it up by simply holding the rack sides, as soon as the rack is stable in its upper position. To restore to the lower position, press the levers A at the sides of the rack and move the basket downwards. We strongly recommend that you do not adjust the height of the rack when it is loaded. NEVER raise or lower the basket on one side only.
Foldable flaps with adjustable position
The side foldable flaps can be folded or unfolded to optimize the arrangement of crockery inside the rack. Wine glasses can be placed safely in the foldable flaps by inserting the stem of each glass into the corresponding slots.
Depending on the model:

- to unfold the flap there is needed to slide it up and rotate or release it from the snaps and pull it down.
- to fold the flap there is needed to rotate it and slide flap down or pull it up and attach flap to the snaps.
LOWER RACK
For pots, lids, plates, salad bowls, cutlery etc. Large plates and lids should ideally be placed at the sides to avoid interferences with the spray arm. The lower rack has tip-up supports which can be used in a vertical position when arranging plates or in a horizontal position (lower) to load pans and salad bowls easily.
(loading example for the lower rack)
3D ZONE WASH
3D Zone Wash uses additional water jets located both: in the lower and upper part of the dishwasher to wash more intensively heavily soiled items by increasing water coverage on dishes.
Example: Load pots and casseroles facing the lower part of 3D Zone Wash components and activate the 3D Zone Wash option on the panel.
CARE AND MAINTENANCE
CLEANING THE FILTER ASSEMBLY
Regularly clean the filter assembly so that the filters do not clog and that the waste water flows away correctly. Using the dishwasher with clogged filters or foreign objects inside the
filtration system or spray arms may cause unit malfunction resulting in loss of performance, noisy work or higher resources usage. The filter assembly consists of three filters which remove food residues from the washing water and then recirculate the water. The dishwasher must not be used without filters or if the filter is loose. At least once per month or after every 30 cycles, check the filter assembly and if necessary clean it thoroughly under running water, using a non-metallic brush and following the instructions below:
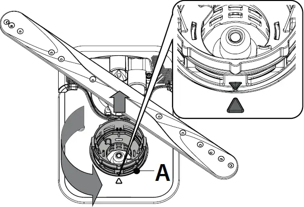
- Turn the cylindrical filter A in an anti-clockwise direction and pull it out .
It is important when reinstalling the filter that the two triangles shown on the zoom meet. - Remove the cup filter B by exerting a slight pressure on the side flaps.

- Slide out the stainless-steel plate filter C .

- In case you find foreign objects (such as broken glass, porcelain, bones, fruit seeds etc.) please remove them carefully.
- Inspect the trap and remove any food residues. NEVER REMOVE the wash-cycle pump protection (shown by an arrow) .

CLEANING THE SPRAY ARMS
On occasions, food residue may become encrusted onto the spray arms and block the holes used to spray the water. It is therefore recommended that you check the arms from time to time and clean them with a small non-metallic brush. To remove the upper spray you must remove it together with the manifold.
The lower spray arm may be removed by pulling it upwards and rotating it anti-clockwise. Mounting back the spray arm is by pulling it down and rotating it clockwise.
The top spray arm may be removed by pressing it up and then rotating it anti-clockwise. Mounting back the spray arm is by pulling it upwards and rotating it clockwise.
TROUBLESHOOTING
In case your dishwasher doesn’t work properly, check if the problem can be solved by going through the following list. For other errors or issues please contact authorized After-sales Service whose contact details can be found in the warranty booklet. Spare parts will be available for a period of either up to 7 or up to 10 years, according to the specific Regulation requirements.
| PROBLEMS | POSSIBLE CAUSES | SOLUTIONS |
| The salt indicator is lit | Salt reservoir is almost empty. | Refill the reservoir with salt (for more information – see FILLING THE SALT RESERVOIR). Check the water hardness setting if necessary – see WATER HARDNESS TABLE. |
| The salt indicator is blinking | Salt reservoir is empty. | Refill the reservoir with salt as soon as possible. Using the appliance without salt may cause damage to its internal components. |
| The rinse aid indicator is lit or blinking | Rinse aid dispenser is empty. (After refill the rinse aid indicator may remain lit for a short time). | Refill the dispenser with a rinse aid (for more information – see FILLING THE RINSE AID DISPENSER). |
| Descale indicator is lit or blinking; “dES” alarm is displayed. | Limescale is accumulating on internal components of the appliance. | Descale the appliance immediately using the Self Clean program and a commercially available descaling product (see OPTIONS AND FUNCTIONS). Refill the reservoir with salt. Check the water hardness setting. If the appliance is not descaled, it will stop functioning. |
| The dishwasher won’t start or does not respond to commands. | The appliance has not been plugged in properly. | Insert the plug into the socket. |
| Power outage. | For safety reasons, the dishwasher will not restart automatically when power returns. Close the door and press START/Pause button. | |
| The dishwasher door is not closed. Active Dry pin is not pulled in. | Vigorously push the door until you hear the “click”. | |
| A cycle is interrupted by the door opening for more than 4 seconds. | Close the door within 4 sec. and press START/Pause button. | |
| The control panel does not respond or F6 E1 is displayed. | Switch off the appliance by pressing the ON/OFF/Reset button, switch it back on after approximately one minute and restart the program. If the problem persists, unplug the appliance for 1 minute, then plug it back in. | |
| The dishwasher won’t drain. Display shows: F7 E3 or F9 E1 | The filter is clogged with food residues or lime- scale. | Clean the filter and descale the appliance (see CLEANING THE FILTER ASSEMBLY and DESCALE INSTRUCTION). |
| The drain hose is kinked. | Check the drain hose (see INSTALLATION INSTRUCTIONS). | |
| The sink drain pipe is blocked. | Clean the sink drain pipe. | |
| The dishwasher makes excessive noise. | Dishes are rattling against each other. | Position the crockery correctly (see LOADING THE RACKS). |
| An excessive amount of foam is present. | The detergent has not been measured out correctly or it is not suitable for use in dishwashers (see FILLING THE DETERGENT DISPENSER). Restart the current cycle by switching OFF the dishwasher, then switch it on again, select a new program, close the door and press START/Pause button. Please do not add any detergent. | |
| Crockery has not been arranged properly. | Arrange the crockery correctly (see LOADING THE RACKS). | |
| The filter is clogged with food residues or limescale. | Clean the filter assembly (see CARE AND MAINTENANCE). | |
| The dishes are not clean. | Crockery has not been arranged properly. | Arrange the crockery correctly (see LOADING THE RACKS). |
| Spray arms cannot rotate freely, being hindered by the dishes. | Arrange the crockery correctly (see LOADING THE RACKS). Check that the upper rack is in the correct position and adjust (lift up) if necessary. | |
| The wash cycle is too gentle. | Select an appropriate wash cycle (see PROGRAMS TABLE). | |
| An excessive amount of foam is present. | The detergent has not been measured out correctly or it is not suitable for use in dishwashers (see FILLING THE DETERGENT DISPENSER). | |
| The cap on the rinse aid compartment has not been closed correctly. | Make sure the cap of the rinse aid dispenser is closed. | |
| The filter is clogged with food residues or limescale. | Clean the filter and descale the appliance (see CLEANING THE FILTER ASSEMBLY). | |
| The salt reservoir is empty. | Fill the salt reservoir (see FILLING THE SALT RESERVOIR). |
| The dishwasher does not fill the water. The display shows: H2O and is lit; acoustic alarm sounds. | No water in the water supply or the tap is closed. | Make sure there is water in the water supply and the water tap is open. |
| The water inlet hose is kinked. | Check the inlet hose (see INSTALLATION). Close the door and press START/Pause button. | |
| The screen in the water inlet hose is clogged; it is necessary to clean it. | Check and clean the screen in the water inlet hose. Close the door and press START/Pause button. | |
| The dishwasher finishes the cycle prematurely. The display shows: F8 E3 | The filter is clogged with food residues or lime- scale | Clean the filter and descale the appliance (see CLEANING THE FILTER ASSEMBLY and DESCALE INSTRUCTION). |
| Drain hose positioned too low or siphoning into the home sewage system. | Check if the end of the drain hose is placed at the correct height (see INSTALLATION). Check for siphoning into the home sewage system, and install a siphon breaker/air admittance valve if necessary. | |
| An excessive amount of foam is present. | The detergent has not been measured out correctly or it is not suitable for use in dishwashers (see FILLING THE DETERGENT DISPENSER). | |
| Air in the water supply. | Check water supply for leaks or other issues letting air inside. | |
| The dishes are not dried well. | Rinse aid is not present or the dosage is too low. | Make sure the rinse aid dispenser is filled (see FILLING THE RINSE AID DISPENSER). Multifunctional tablets only will not provide as good drying effects as the actual use of liquid rinse aid. |
| The dishes have been unloaded after the door was opened automatically but before the actual cycle end. | Make sure the cycle has ended before starting to unload the dishes (see DAILY USE). For even better drying results, it is recommended to let the dishes sit inside the dishwasher with the door open for additional 15 minutes after the cycle ends. | |
| The dishes are sitting too flat. | If you notice puddles of water inside cavities of cups, mugs or bowls, try loading the dishes (especially in the upper rack) providing more inclination to let larger amounts of water drip down before drying starts. | |
| The selected cycle does not have the drying phase. | Please check in the PROGRAMS TABLE if the selected program is equipped in the drying phase. A cycle without the drying phase may not deliver desired drying efficiency, so it is recommended to change cycle selection for the one that has the drying phase. | |
| The dishes are made of non-stick or plastic. | Some water drops remaining on this type of material are normal. | |
| Dishes and glasses have blue streaks or bluish tinges. | Rinse aid dosage is excessive. | Adjust the dosage to a lower setting. |
| Dishes and glasses are covered with li- mescale or a whitish film. | The salt reservoir is empty. | Refill the reservoir with salt as soon as possible. Using the appliance without salt may cause damage to its internal components. |
| The water hardness setting is too low. | Increase the setting (see WATER HARDNESS TABLE). | |
| The cap of the salt reservoir is not properly closed. | Check and close the salt reservoir cap. | |
| The rinse aid reservoir is empty or the rinse aid dosage is insufficient. | Refill the dispenser with rinse aid and check the dosage setting (for more information – see FILLING THE RINSE AID DISPENSER). | |
| The dishwasher shows F8 E5 | Valve is blocked or faulty. | Close the water tap, if possible. Do not switch off the power supply. Call the service. |
Policies, standard documentation, ordering of spare parts and additional product information can be found by:
- Using QR code and visiting our website: docs.hotpoint.eu
- Visiting our website: parts-selfservice.whirlpool.com
- Alternatively, contact our After-sales Service (See phone number in the warranty booklet). When contacting our After-sales Service, please state the codes provided on your product’s identification plate.
The model information can be retrieved using the QR-Code reported in the energy label. The label also includes the model identifier that can be used to consult the portal of the registry at https://eprel.ec.europa.eu























