Hotpoint LST 216 DISHWASHER Instruction booklet

Installation
- Keep this instruction manual in a safe place for future reference. If the appliance is sold, given away or moved, please ensure the manual is kept with the machine, so that the new owner may benefit from the advice contained within it.
- Please read this instruction manual carefully: it contains important information regarding the safe installation, use and maintenance of the appliance.
- If the appliance must be moved at any time, keep it in an upright position; if absolutely necessary, it may be tilted onto its back.
- This appliance is intended to be used in household and similar applications such as:
- staff kitchen areas in shops, offices and other working environments;
- farm houses;
- by clients in hotels, motels and other residential type environments;
- bed and breakfast type environments.
Positioning and levelling
- Remove the appliance from all packaging and check that it has not been damaged during transportation. If it has been damaged, contact the retailer and do not proceed any further with the installation process.
- Check the dishwasher by placing it so that its sides or back panel are in contact with the adjacent cabinets or even with the wall. This appliance can also be recessed under a single worktop* (see the Assembly instruction sheet).
- Position the dishwasher on a level and sturdy floor. If the floor is uneven, the front feet of the appliance may be adjusted until it reaches a horizontal position (the angle of inclination must not exceed 2 degrees). If the appliance is levelled correctly, it will be more stable and much less likely to move or cause vibrations and noise while it is operating.
- Adjust the height of the rear foot from the front of the appliance* on the central lower part of the dishwasher, turning a hexagonal spanner (red color) with an opening of 8 mm in a clockwise direction to increase the height or in an anticlockwise direction to decrease the height.
Anti-condensation strip*
After installing the dishwasher, open the door and stick the adhesive transparent strip under the wooden shelf in order to protect it from any condensation that may form.
Advice regarding the first wash cycle
After the appliance has been installed, immediately before running the first wash cycle, completely fill the salt dispenser with water and add only then approximately 1 kg of salt (see chapter entitled Rinse aid and refined salt). The water may overflow: this is normal and is not a cause for concern. Select the water hardness value (see chapter entitled Rinse aid and refined salt). – After the salt has been poured into the machine, the LOW SALT indicator light* switches off.
- If the salt container is not filled, the water softener and the heating element may be damaged as a result.
Technical data Dim ensions
w idth 44.5 c m height 82 c m depth 57 c m Capacity 10 standard place-settings Water supply pressure
0,05 ÷ 1MPa (0.5 ÷ 10 bar) 7,25 – 145 psi
Pow er supply voltage
See appliance data plate Total absorbed power
See appliance data plate Fuse See appliance data plate This dishw asher conforms to the follow ing European Community Directives: -2006/95/EC (Low Voltage
-2004/108/EC ( Electromagnetic Compatibility)
-2005/32/EC ( Comm. Reg. 1275/2008) ( Ecodes ign)
–97/17/EC (Labelling)
-2002/96/ EC (Waste Electrical and Electronic Equipment WEEE)
- The dishwasher meets the requirements set out by the regulations in force concerning safety and electrical equipment.
- Any technical checks should be conducted exclusively by a trained and authorised technician: Repairs carried out by unaithorised persons will invalidate the guarantee, as well as posing a potential hazard to the user.
- The manufacturer declines all responsibility for damage to persons or property resulting from failure to observe the above precautions, from tampering with even a single component or from the use of non-original spare parts.
Electrical Connection
Before inserting the plug into the electrical socket, make sure that:
- the socket is earthed and complies with current regulations;
- the socket can withstand the maximum load of the appliance, which is indicated on the data plate located on the inside of the door (see Description of the appliance);
- the power supply voltage falls within the values indicated on the data plate on the inside of the door;
- the socket is compatible with the plug of the appliance. If this is not the case, ask an authorised technician to replace the plug (see After Sales Service); do not use extension cables or multiple sockets.
- Once the appliance has been installed, the power supply cable and the electrical socket should be easily accessible.
- The cable should not be bent or compressed.
- If the power supply cable is damaged, it must be replaced by the manufacturer or its Technical Assistance Service in order to prevent all potential hazards. (See After Sales Service)
This appliance must be earthed
Fuses:your appliance comes fitted with a plug and a 13A fuse. If you need to replace the fuse, only those rated at 13A and ASTA approved to BS1362 should be used. If you lose the fuse cover, a replacement may be obtained from your local authorised Service Centre or Electrical company. Correct replacement is identified by colour coding or the marking on base of plug. DO NOT use the plug unless the fuse cover is fitted.
Changing the Plug
- Cut off and dispose of the supplied plug if it does not fit your socket.
- To avoid a shock hazard DO NOT insert the discarded plug into a socket anywhere else.
- Wires in the mains lead are coloured accordance with the following code:
- Green/Yellow – Earth
- Blue – Neutral
- Brown – Live
If you change the plug, the colour of the wires in the mains lead may not correspond with the terminal markings in the plug, which if not coloured, could be:
- EARTH ‘E’ or

- NEUTRAL ‘N’
- LIVE ‘L’
Changing the Mains Lead
A lead can be ordered from Hotpoint Service UK: 08709 066 066 or
Republic of Ireland: 1850 302 220
- If you have damaged the existing lead or require a longer one a charge will be made. It is strongly advised that this work is carried out by a qualified electrician.
- If the domestic wiring includes a residual current-operated circuit breaker, ensure that it conforms to the latest regulations.
- The dishwasher must not be connected to the electricity supply while installation is being carried out.
- This appliance should only be connected to a 230/240V AC source, via a properly installed earthed socket.
- Use the dishwasher solely in a domestic environment.
- DO NOT stand or place heavy objects on the door when it is open, this could damage the door or cause the appliance to tip forward.
- The Company shall not be held responsible for any incidents that occur if these regulations are not observed.
Connecting the water supplies
- Connection to the water and electricity supplies should only be performed by a qualified technician.
- The dishwasher should not stand on top of the water hoses or the electricity supply cable.
Connecting the water inlet hose
The water inlet and outlet hoses and the electricity supply cable may be positioned towards the right or the left in order to achieve the best possible installation.
- To a suitable cold water connection point: before attaching the hose, run the water until it is perfectly clear so that any impurities that may be present in the water do not clog the appliance; after performing this operation, screw the inlet hose tightly onto a tap with a ¾ gas threaded connection.
- To a suitable hot water connection point: your dishwasher may be provided with hot water from the mains supply (if you have a central heating system with radiators) provided that it does not exceed a temperature of 60°C. Screw the hose to the tap as described for connection to a cold water supply.
- If the inlet hose is not long enough, contact a specialist store or an authorised technician (see After Sales Service).
- The water pressure must be within the values indicated in the Technical data table (see Installation).
- The hose should not be bent or compressed.
- The appliance must be connected to the water supply network using new hoses. Do not use old hoses. Ensure that the new hose supplied is connected and the old hose is disposed of safely.
- DO NOT overtighten the hose connector, hand tight is sufficient.
- Ensure the fill hose is not kinked.
- Tap connections*: A range of adaptors are available to suit your tap.
- DO NOT connect the dishwasher to a single outlet instantaneous water heater or an electric heater.
Sink Waste System
Connect the outlet hose (without bending it) to a drain duct with a minimum diameter of 32 mm.
The outlet hose must be at a height ranging from 40 to 80 cm (from 15’’ to 31’’) from the floor / surface where the dishwasher rests (A).
- before connecting the drain hose, remove any internal restrictions; this will prevent a build up of debris which could cause a blockage
- remove any restrictions from the waste spigot and ensure that the sealing bung is removed (B).
- It MUST NOT be connected to a surface water drain.
- Untie the end of the GREY drainage hose from the rear of the appliance.
- If fitting an under sink waste disposal unit, cut out the membrane, bung or blanking plug.

- Ensure the drain hose is securely attached, to prevent it coming away while the machine is in use and causing a flood.
- Fit hose to waste securely using a “Jubilee” type clip.
- Only available in selected models.
Anti-flooding protection
To ensure floods do not occur, the dishwasher:
- is provided with a special system which blocks the water supply in the event of anomalies or leaks from inside the appliance. Some models are also equipped with the supplementary safety device New Acqua Stop*, which guarantees anti-flooding protection even in the event of a supply hose rupture.
WARNING: HAZARDOUS VOLTAGE!
Under no circumstance should the water inlet hose be cut as it contains live electrical parts.
- The Company shall not be held responsible for any incidents that occur if these regulations are not observed.
ECODESIGN REGULATION
ECO wash cycle is the standard cycle to which the energy label data refers; this cycle can be used to wash crockery with a normal soil level and is the most efficient in terms of energy and water consumption for this type of crockery. To reduce consumption even further, only run the dishwasher when it is full. Standby consumption: Left-on mode consumption: 3 W – Off mode consumption: 1,3 W Consumption data table for the main cycles
| Standard conditions* | User conditions** | |||||
| Energy consumption (kWh/cycle) | Water consumption (l/cycle) | Duration (min/cycle) | Energy consumption (kWh/cycle) | Water consumption (l/cycle) | Duration (min/cycle) | |
| INTENSIVE | 1,30 | 14 | 150 | 1,15 | 14 | 140 |
| NORMAL | 1,05 | 14 | 115 | 0,95 | 13 | 110 |
- Cycle data refers to the values recorded in a laboratory, in accordance with European standard EN 50242.
- Data is obtained by recording values when the appliance is operational and loaded with user crockery.
Description of the appliance
Overall view

- Upper rack
- Upper sprayer arm
- Tip-up compartments
- Rack height adjuster
- Lower rack
- Lower sprayer arm
- Cutlery basket
- Washing filter
- Salt dispenser
- Detergent and rinse aid dispensers
- Data plate
- Control panel***
Control panel

- Only in completely built-in models.
- Only available in selected models.
- The number and type of wash cycles and options may vary depending on the dishwasher model.
Loading the racks
- Before loading the racks, remove all food residues from the crockery and empty liquids from glasses and cups. Arrange the crockery so that it is held in place firmly and does not tip over. After loading the appliance, check that the sprayer arms can rotate freely.
Lower rack
The lower rack can hold pans, lids, plates, salad bowls, cutlery, etc. as seen in the Loading examples. Plates and large covers should be placed at the sides of the rack, ensuring that they do not block the rotation of the upper sprayer arm.Some dishwasher models are fitted with tip-up sections*, which can be used in a vertical position when arranging plates or in a horizontal position when arranging pans and salad bowls.
Cutlery basket
The type of cutlery basket may vary according to the dishwasher model: The cutlery basket should be positioned at the front of the lower rack, by sliding it between the fixed inserts, or on the upper rack when the half load option has been selected (in models featuring this option).
- It has a collapsible sliding system which means the cutlery can be arranged in the best possible way.
- Knives and other utensils with sharp edges must be placed in the cutlery basket with the points facing downwards, or they must be positioned horizontally in the tip-up compartments on the upper rack.
Cutlery basket positioning examples

Upper rack
Load this rack with delicate and lightweight crockery: glasses, tea and coffee cups, saucers, small salad bowls, saucepans and small saucepans which are not too soiled, using the Loading examples as a guide.
- Mugs and cups, long sharp knives and serving utensils: place these on the tip-up compartments**.
Adjusting the height of the upper rack
In order to make it easier to arrange the crockery, the upper rack may be moved to a higher or lower level.
- The height of the upper rack should ideally be adjusted WHEN THE RACK IS EMPTY.
Never lift or lower the rack on one side only.
- Open the left and right guide rail stops and pull out the rack; position it higher or lower as required, slide it along the guide rails until the front wheels are in place and close the stops (see figure).
- If the rack is fitted with Dual Space handles* (see figure), pull out the upper rack until it reaches its stop point, grip the handles at the sides of the rack and move it upwards or downwards, then slowly let it fall back into place.

- Loading examples for the upper rack

- Loading examples for the lower rack

Items that should not be washed in the dishwasher
- Wooden items, objects with wooden or horn handles or glued-on parts.
- Items made from aluminum, copper, brass, pewter or tin.
- Items made from plastic material which is not heat-resistant.
- antique or hand-painted porcelain.
- Antique silver. Silver which is not antique may, however, be washed in the dishwasher using a delicate wash cycle, provided that it does not come into contact with other metals. We recommend the use of crockery which is a dishwasher safe.
- Only available in selected models.
- The number and position may vary.
Start-up and use
Starting the dishwasher
- Turn the water tap on.
- Open the door and press the ON/OFF button: you will hear a short beep and the ON/OFF and wash cycle indicator lights switch on for a few seconds.
- Measure out the detergent (see below).
- Load the racks (see chapter entitled Loading the racks).
- Select the wash cycle in accordance with the type of crockery and its soil level (see Table of wash cycles), by pressing the P button; the indicator light corresponding to the selected wash cycle will switch on.
- Start the wash cycle by shutting the door: after a few seconds have passed, a long beep signals the start of the wash cycle.
- Two short beeps* and one long one indicate the end of the wash cycle and the indicator light corresponding to the wash cycle flashes slowly. Open the door, switch off the appliance by pressing the ON/OFF button, shut off the water tap and unplug the appliance from the electricity socket.
- Wait for a few minutes before removing the crockery, in order to avoid burns. Unload the racks, beginning with the lower level.
- The machine will switch off automatically during certain periods of inactivity, in order to minimise electricity consumption.
Modifying a wash cycle in progress
If a mistake was made during the wash cycle selection process it is possible to change the cycle, provided that it has only just begun: open the door, taking care to avoid the escaping steam, and press and hold the ON/OFF button; the machine will switch off with a long beep. Switch the machine back on using the ON/OFF button and select the new wash cycle using the P button; start the cycle by closing the door.
Adding extra crockery
Without switching off the machine, open the door, taking care to avoid the escaping steam, and place the crockery inside the dishwasher. Close the door: the cycle starts from the point at which it was interrupted.
Accidental interruptions
If the door is opened during the wash cycle, or if there is a power cut, the cycle stops. It starts again from the point at which it was interrupted once the door has been shut or the electricity supply is restored.
Measuring out the detergent
A good wash result also depends on the correct amount of detergent being used; exceeding the stated amount does not result in a more effective wash and increases environmental pollution.
- Only use detergent which has been specifically designed for dishwashers.
- DO NOT USE washing up liquid.
- Using excessive detergent may result in foam residue remaining in the machine after the cycle has ended.
- The use of tablets is only recommended for models which offer the MULTI-FUNCTIONAL TABLETS option.
- To achieve the best results from each washing and drying cycle, powder detergent, rinse aid liquid and salt should be used.
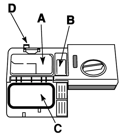
- Compartment A: Washing detergent
- Compartment B: Pre-wash detergent

- Open cover C by pressing button D.
- Pour in the detergent after consulting the Table of wash cycles:
- For powder detergent use compartments A and B.
- For detergent in tablet form: when the cycle requires 1 tablet, place it in compartment A and close the cover; when it requires 2, place the second tablet at the bottom of the appliance.
- Remove detergent residues from the edges of the compartment and close the cover until it clicks.
Wash cycles
- If the crockery is only lightly soiled or if it has been rinsed with water before being placed in the dishwasher, reduce the amount of detergent used accordingly.
- The number and type of wash cycles and options may vary depending on the dishwasher model.
Wash cycle selection instructions
Wash cycle
Detergent (A) = compartment A
(B) = compartment B
Drying
Wash cycle duration (tolerance ±10%)
Hrs. Min.
Powder Liquid Tablets Environmentally-friendly wash cycle with low energy consumption levels, suitable for pans and dishes.

Eco*
25 g (A)
25 ml (A)
1 (A)
Yes
2:50’
Normally soiled pans and dishes. Standard daily wash cycle. 
Normal
21 g (A)
4 g (B)
21 ml (A)
4 ml (B)
1 (A)
Yes
1:50’
Preliminary wash cycle for dishes while the load is awaiting completion with the dishes from the next meal.

Soak
No
No
No
No
0:08’
Extremely soiled dishes and pans (not to be used for delicate items).

Intensive
25 g (A)
25 ml (A)
1 (A)
Yes
2:25’
Economic and fast wash to be used for lightly soiled dishes. (Run cycle immediately after use) (2 plates + 2 glasses + 4 pieces of cutlery + 1 saucepan + 1 small frying pan).

Rapid
21 g (A)
21 ml (A)
1 (A)
No
0:35’
Economic and fast wash for delicate items which are sensitive to high temperatures. (Run cycle immediately after use) ( glasses upper rack + delicate plates, lower rack).

Delicate
25 g (A)
25 g (A)
1 (A)
Yes
1:35’
Notes:
To make it easier to measure out the detergent, it is worth remembering that: 1 tablespoon = 15 gr. of powder = approximately 15 ml of liquid – 1 teaspoon = 5 gr. of powder = approximately 5 ml of liquid Optimum performance levels when using the “Rapid’” cycles can be achieved by observing the maximum amounts of crockery specified.
- The Eco wash cycle adheres to the regulation EN-50242. Although it has a longer duration than other wash cycles it uses less energy and is les harmful to the environment. Note for Test Laboratories::::: for information relating to comparative EN testing conditions, please send an email to the following address: [email protected]
Rinse aid and refined salt
- Only use products which have been specifically designed for dishwashers. Do not use table salt or industrial salt, or washing up liquid.Follow the instructions given on the packaging.
- If using a multi-functional product it is not necessary to add rinse aid; however, we recommend that you add salt, especially if you live in an area where the water is hard or very hard. Follow the instructions given on the packaging.
- If you do not add salt or rinse aid, the LOW SALT* and LOW RINSE AID* indicator lights remain lit.
Measuring out the rinse aid
Rinse aid makes it easier for the crockery to dry, as water runs off surfaces more readily and therefore does not leave streaks or marks. The rinse aid dispenser should be filled:
- When the LOW RINSE AID* indicator light on the control panel is illuminated;
- Open the dispenser by turning the lid (G) in an anticlockwise direction.
- Pour in the rinse aid, making sure it does not overflow from the dispenser. If this happens, clean the spill immediately with a dry cloth.
- Screw the lid back on. NEVER pour the rinse aid directly

into the appliance tub.
Adjusting the amount of rinse aid
If you are not completely satisfied with the drying results, you may adjust the quantity of rinse aid used. Use a screwdriver to turn the dosage adjuster (F) to one of the 6 pre-set positions (the default position is set to 4):
- If there are streaks on the crockery, set the adjustment device to a lower number (1-3).
- If drops of water remain on the crockery or if there are limescale marks present after the cycle has finished, set the adjuster to a higher number (4-6).
Setting the water hardness
Every dishwasher is equipped with a water softener which, by using refined salt designed especially for this type of appliance, supplies water without limescale which is then used to wash the crockery. This dishwasher offers a setting which helps to reduce pollution and optimises washing performance in accordance with the water hardness level in your area. This information can be obtained from the organisation which supplies your household with water.
- Open the door and switch on the machine by pressing the ON/OFF button.
- Press the P button and hold for approximately 5 seconds; two short beeps will sound and the indicator light corresponding to the set degree of hardness will flash slowly on the control panel (the water softening system is set to number 3).
- Press the P button repeatedly until the desired hardness level has been reached (1-2-3-4-5* see Water hardness table). E.g. hardness 1 (indicator light 1 flashing)
hardness 2 (indicator light 1 illuminated, indicator light 2 flashing). hardness 3 (indicator lights 1 and 2 illuminated, indicator light 3 flashing and so on). - To exit the function, wait a few seconds or press one of the option buttons*, or switch off the machine using the ON/OFF button.
Even if using multi-functional tablets, the salt dispenser should still be filled.Water Hardness Table Average salt container capacity duration**
Level °dH °fH mmol/l months 1 0 – 6 0 – 10 0 – 1 7 months 2 6 – 11 11 – 20 1,1 – 2 5 months 3 12 – 17 21 – 30 2,1 – 3 3 months 4 17 – 34 31 – 60 3,1 – 6 2 months 5* 34 – 50 61 – 90 6,1 – 9 2/3 weeks For values between 0°f and 10°f, we do not recommend the use of salt. * this setting may cause a slight increase in the duration of the cycles. ** for 1 wash cycle per day.
For values between 0°f and 10°f, we do not recommend the use of salt. * this setting may cause a slight increase in the duration of the cycles. ** for 1 wash cycle per day.
(°dH = hardness measured in German degrees – °f = hardness measured in French degrees – mmol/l = millimoles per litre)
Measuring out the refined salt
In order to achieve the best possible results using a wash cycle, make sure that the dispenser is never empty. Refined salt removes limescale from the water, thus avoiding the formation of deposits on crockery. The salt dispenser is located in the lower part of the dishwasher (see Description) and should be filled:
- When the green float* cannot be seen by simply looking at the cap of the salt dispenser.
- When the LOW SALT* indicator light on the control panel is illuminated;

- Remove the lower rack and unscrew the container cap (anticlockwise).
- The first time you do this: fill the water tank right up to its edge.
- Position the funnel* (see figure) and fill the salt container right up to its edge (this should hold approximately 1 kg); it is not unusual for a little water to leak out.
- Remove the funnel* and wipe any salt residue away from the opening; rinse the cap under running water and then screw it on, the head facing downwards so as to let the water flow out of the four cracks which are arranged in a star shape on the lower part of the cap. (the container cap with the green float*) It is advisable to perform this procedure every time you add salt to the container. Make sure the cap is screwed on tightly, so that no detergent can get into the container during the wash cycle (this could damage the water softener beyond repair). When necessary, measure out the salt before a wash cycle so that any saline solution which has leaked out of the salt dispenser is removed.
- Only available in selected models.
Care and maintenance
Shutting off the water and electricit supplies
- Turn off the water tap after every wash cycle to avo leaks.
- Always unplug the appliance when cleaning it and when performing maintenance work.
Cleaning the dishwasher
- The external surfaces of the machine and the control panel may be cleaned using a non-abrasive cloth which has been dampened with water. Do not use solvents or abrasive products.
- Any marks on the inside of the appliance may be removed using a cloth dampened with water and a little vinegar.
Preventing unpleasant odours
- Always keep the door of the appliance ajar in order to avoid moisture from forming and being trapped inside the machine.
- Clean the seals around the door and detergent dispensers regularly using a damp sponge. This will avoid food becoming trapped in the seals, which is the main cause behind the formation of unpleasant odours.
Cleaning the sprayer arms
Food residue may become encrusted onto the sprayer arms and block the holes used to spray the water. It is therefore recommended that the arms are checked from time to time and cleaned with a small non-metallic brush. The two sprayer arms may both be removed.
- To remove the upper spraye arm, rotate the locking ring in an anti-clockwise direction. The upper sprayer arm should be replaced with the holes facing upwards.
- The lower sprayer arm can be removed by pulling it upwards.

Cleaning the water inlet filter
If the water hoses are new or have not been used for an extended period of time, let the water run to make sure it is clear and free of impurities before performing the necessary connections. If this precaution is not taken, the water inlet could become blocked and damage the dishwasher.
- Clean the water inlet filter at the tap outlet regularly.
- Turn off the water tap.
- Unscrew the end of the water inlet hose, remove the filter and clean it carefully under running water.
- Replace the filter and screw the water hose back into position.
Cleaning the filters
The filter assembly consists of three filters which remove food residues from the washing water and then recirculate the water. They should be cleaned if you wish to achieve the best results in every wash.
- Clean the filters regularly.
- The dishwasher should not be used without filters, or if the filter is loose.
- After several washes, check the filter assembly and if necessary clean it thoroughly under running water, using a non-metallic brush and following the instructions below:
- Turn the cylindrical filter C in an anti-clockwise direction and pull it out (fig. 1).
- Remove the cup filter B by exerting a slight pressure on the side flaps (fig. 2).
- Slide out the stainless steel plate filter A (fig. 3).
- Inspect the trap and remove any food residue. NEVER REMOVE the wash cycle pump (black detail) (fig. 4).

After cleaning the filters, replace the filter assembly and fix it in position correctly; this is essential for maintaining the efficient operation of the dishwasher.
Leaving the machine unused for extended periods
- Disconnect the appliance from the electricity supply and shut off the water tap.
- Leave the door of the appliance ajar.
- When you return, run a wash cycle when the dishwasher is empty.
- Only available in selected models.
Precautions and advice
The appliance was designed and manufactured in compliance with current international safety standards. The following information has been provided for safety reasons and should therefore be read carefully.
General safety
- This appliance is not intended for use by persons (including children) with reduced physical, sensory or mental capabilities, or lack of experience and knowledge, unless they have been given supervision or instruction concerning use of the appliance by a person responsible for their safety.
- Children should be supervised to ensure that they do not play with the appliance.
- The appliance was designed for domestic use inside the home and is not intended for commercial or industrial use.
- The appliance must be used by adults only, to wash domestic crockery according to the instructions in this manual.
- The appliance must not be installed outdoors, even in covered areas. It is extremely dangerous to leave the machine exposed to rain and storms.
- Do not touch the appliance when barefoot.
- When unplugging the appliance always pull the plug from the mains socket, do not pull on the cable.
- The water supply tap must be shut off and the plug should be removed from the electrical socket before cleaning the appliance or carrying out any maintenance work.
- If the appliance breaks down, do not under any circumstances touch the internal parts in an attempt to carry out the repair work yourself.
- Never touch the heating element.
- Do not lean or sit on the open door of the appliance: this may cause the appliance to overturn.
- The door should not be left open as it may create a dangerous obstacle.
- The packaging material should not be used as a toy: it can become a choking or suffocation hazard.
If your family includes children:
- DO NOT allow children to play with the appliance or tamper with its controls.
- Keep detergents and rinse aids away from children.
- Keep children away from the open door of a dishwasher, there could still be some detergent left inside.
Disposal of old electrical appliances
The European Directive 2002/96/EC on Waste Electrical and Electronic Equipment (WEEE), requires that old household electrical appliances must not be disposed of in the normal unsorted municipal waste stream. Old appliances must be collected separately in order to optimise the recovery and recycling of the materials they contain and reduce the impact on human health and the environment. The crossed out “wheeled bin” symbol on the product reminds you of your obligation, that when you dispose of the appliance it must be separately collected. Consumers should contact their local authority or retailer for information concerning the correct disposal of their old appliance.
Saving energy and respecting the environment
Saving water and energy
- Only start a wash cycle when the dishwasher is full. While waiting for the dishwasher to be filled, prevent unpleasant odours with the Soak cycle (see Wash Cycles).
- Select a wash cycle that is suited to the type of crockery and to the soil level of the crockery using the Wash cycle table:
- for dishes with a normal soil level, use the Eco wash cycle, which guarantees low energy and water consumption levels.
- if the load is smaller than usual activate the Half load* option (see Start-up and use).
- If your electricity supply contract gives details of electricity saving time bands, run wash cycles during the periods when a lower tariff is applied. The Delayed start* button (see Start-up and use) helps you organise the wash cycles accordingly.
Phosphate-free and chlorine-free detergents containing enzymes
- We strongly recommend that you use detergents that do not contain phosphates or chlorine, as these products are harmful to the environment.
- Enzymes provide a particularly effective action at temperatures around 50°C, and as a result detergents containing enzymes can be used in conjunction with low-temperature wash cycles in order to achieve the same results as a normal 65°C wash cycle.
- To avoid wasting detergent, use the product in appropriate quantities based on the manufacturer’s recommendations, the hardness of the water and the soil level and quantity of the crockery. Even if they are biodegradable, detergents contain substances that may alter the balance of nature.
Recycling & Disposal Information
As part of Hotpoint’s continued commitment to helping the environment, Hotpoint reserves the right to use quality recycled components to keep down customer costs and minimise material wastage. Please dispose of packaging and old appliances carefully. To minimise risk of injury to children, remove the door, plug and cut mains cable off flush with the appliance. Dispose of these parts separately to ensure that the appliance can no longer be plugged into a mains socket and the door cannot be locked shut.
- Only available in selected models.
Troubleshooting
Whenever the appliance fails to work, check for a solution from the following list before calling for Assistance (see After Sales Service).
| Problem: | Possible causes / Solutions: |
| The dishwasher does not start or cannot be controlled | • Switch off the appliance by pressing the ON/OFF button, switch it back on after approximately one minute and reset the program. • The appliance has not been plugged in properly. • The dishwasher door has not been shut properly. |
| The door won’t close | • The lock was released. Strongly push the door until a “clacking” noise is heard. |
| No water drains out from the dishwasher. | • The dishwasher cycle has not yet finished. • The water inlet hose is bent (see Installation). • The drain duct is blocked. • The filter is clogged up with food residues. |
| The dishwasher makes excessive noise. | • The dishes are rattling against each other or against the sprayer arms. • An excessive amount of foam has been produced: the detergent has not been measured out correctly or it is not suitable for use in dishwashers (see Start-up and use). |
| The dishes and glasses are covered in a white film or limescale deposits. | • The level of the refined salt is low or the dosage setting is not suited to the hardness of the water (see Rinse aid and salt). • The lid on the salt dispenser is not closed properly. • The rinse aid has been used up or the dosage is too low. |
| The dishes and glasses are streaked or have a bluish tinge. | • The rinse aid dosage is too high. |
| The crockery has not been dried properly. | • A wash cycle without a drying program has been selected. • The rinse aid has been used up or the dosage is too low (see Rinse aid and salt). • The rinse aid dispenser setting is not suitable. • The crockery is made from non-stick material or plastic. |
| The dishes are not clean. | • The racks are overloaded (see Loading the racks). • The crockery has not been arranged well. • The sprayer arms cannot move freely. • The wash cycle is too gentle (see Wash cycles). • An excessive amount of foam has been produced: the detergent has not been measured out correctly or it is not suitable for use in dishwashers (see Start-up and use). • The lid on the rinse aid compartment has not been shut correctly. • The filter is dirty or blocked (see Care and maintenance). • The refined salt level is low (see Rinse aid and salt). |
| The dishwasher does not take any water in – Tap shut-off alarm (several short beeps* are emitted) (the 2 (Normal) and 3 (Soak) WASH CYCLES indicator lights flash). | • There is no water in the mains supply. • The water inlet hose is bent (see Installation). • Turn on the tap and the appliance will start after a few minutes. • The appliance lock has been activated because no action was taken when the beeps* sounded. Switch off the appliance using the ON/OFF button, turn on the tap and switch the appliance back on after 20 seconds by pressing the same button. Re- program the appliance and restart the wash cycle. |
| Water inlet hose alarm / Water inlet filter blocked (the 1 ECO), the 2 (Normal) and the 3 (Soak) WASH CYCLES indicator lights flash). | • Switch off the appliance by pressing the ON/OFF button. Shut off the water tap to eliminate the risk of flooding and remove the plug from the electrical socket. Make sure the water inlet filter has not become blocked by impurities (see “Care and maintenance” chapter). |
After Sales Service
After Sales Service
No one is better placed to care for your Hotpoint appliance during the course of its working life than us – the manufacturer.
Essential Contact Information
Hotpoint Service
We are the largest service team in the country offering you access to 400 skilled telephone advisors and 1000 fully qualified engineers on call to ensure you receive fast, reliable, local service.
- UK: 08448 224 224
- Republic of Ireland: 0818 313 413
- www.hotpointservice.co.uk
Please note: Our advisors will require the following information:
- Model number:

- Serial number:

Parts and Accessories
We supply a full range of genuine replacement parts as well as accessory products that protect and hygienically clean your appliance to keep it looking good and functioning efficiently throughout its life.
- UK: 08448 225 225
- Republic of Ireland: 0818 313 413
- www.hotpointservice.co.uk
Appliance Registration
We want to give you additional benefits of Hotpoint ownership. To activate your free 5 year parts guarantee you must register your appliance with us.
- UK: 08448 24 24 24
- Republic of Ireland: 01 230 0800
- www.hotpointservice.co.uk
Indesit Company UK Ltd. Morley Way, Peterborough, PE2 9JB Indesit Company Unit 49 Airways Industrial Estate, Dublin 17
Recycling and Disposal Information
As part of Hotpoint’s continued commitment to helping the environment, Hotpoint reserves the right to use quality recycled components to keep down customer costs and minimise material wastage. Please dispose of packaging and old appliances carefully. To minimize the risk of injury to children, remove the door, plug, and cut main cable off flush with the appliance. Dispose of these parts separately to ensure that the appliance can no longer be plugged into a mains socket and the door cannot be locked shut.
Guarantee
12 months Parts and Labour Guarantee
Your appliance has the benefit of our manufacturer’s guarantee, which covers the cost of breakdown repairs for twelve months from the date of purchase. This gives you the reassurance that if, within that time, your appliance is proven to be defective because of either workmanship or materials, we will, at our discretion, either repair or replace the appliance at no cost to you. This guarantee is subject to the following conditions:
- The appliance has been installed and operated correctly and in accordance with our operating and maintenance instructions.
- The appliance is used only on the electricity or gas supply printed on the rating plate.
- The appliance has been used for normal domestic purposes only.
- The appliance has not been altered, serviced, maintained, dismantled, or otherwise interfered with by any person not authorised by us.
- Any repair work must be undertaken by us or our appointed agent.
- Any parts removed during repair work or any appliance that is replaced become our property.
- The appliance is used in the United Kingdom or Republic of Ireland.
The guarantee does not cover:
- Damage resulting from transportation, improper use, neglect or interference or as a result of improper installation.
- Replacement of any consumable item or accessory. These included but not limited to: plugs, cables, batteries, light bulbs, fluorescent tubes and starters, covers and filters.
- Replacement of any removable parts made of glass or plastic.
- THIS GUARANTEE WILL NOT APPLY IF THE APPLIANCE HAS BEEN USED IN COMMERCIAL OR NON-DOMESTIC PREMISES.
5 Year Parts Guarantee
Hotpoint also offers you a free 5 year parts guarantee. This additional guarantee is conditional on you registering your appliance with us and the parts being fitted by one of our authorised engineers. There will be a charge for our engineer’s time. To activate the extra parts warranty on your appliance, simply call our registration line on 08448 24 24 24 (Republic of Ireland 01 230 0800)
Extended Guarantees
We offer a selection of protection plans that enable you to fully cover yourself against the expense of repair bills for the life of your policy. To find the ideal plan for you please call our advice line on 08448 226 226 (Republic of Ireland 01 230 0233).
Free Helpdesk Service
We have a dedicated team who can provide free advice and assistance with your appliance if you experience any technical difficulties within the first 90 days of ownership. Simply call our Hotpoint Service Hotline on 08448 224 224 (Republic of Ireland 0818 313 413) for telephone assistance, or, where necessary, to arrange for an engineer to call.
































