Hotpoint HIC 3C41 CW Integrated Standard Dishwasher

THANK YOU FOR BUYING A HOTPOINT PRODUCT. In order to receive more complete assistance, please register your appliance at: www.hotpoint.eu/register. You can download the Safety Instructions and the User Manual, by visiting our website docs.hotpoint.eu and following the instructions on the back of this booklet.
Before using the appliance carefully read the Safety Instructions guide.
PRODUCT DESCRIPTION
APPLIANCE

- Upper rack
- Foldable flaps
- Upper rack height adjuster
- Upper spray arm
- Lower rack
- Cutlery basket
- Lower spray arm
- Filter Assembly
- Salt reservoir
- Detergent and Rinse Aid dispensers
- Rating plate
- Control panel
CONTROL PANEL

- On-Off/Reset button with indicator light
- Program selection button
- Salt refill indicator light
- Rinse Aid refill indicator light
- Program number and delay time indicator
- Tablet indicator light
- Display
- Half Load indicator lights
- Half Load button
- Delay button
- START/Pause button with indicator light / Tab
FIRST TIME USE
SALT, RINSE AID, AND DETERGENT
ADVICE REGARDING THE FIRST-TIME USE
After installation, remove the stoppers from the racks and the retaining elastic elements from the upper rack.
FILLING THE SALT RESERVOIR
The use of salt prevents the formation of LIMESCALE on the dishes and on the machine’s functional components.
- It is mandatory that THE SALT RESERVOIR NEVER BE EMPTY.
- It is important to set the water hardness.
The salt reservoir is located in the lower part of the dishwasher (see PRODUCT DESCRIPTION) and must be filled when the SALT REFILL indicator light in the control panel is lit.

- Remove the lower rack and unscrew the reservoir cap (anticlockwise).
- Only the first time you do this: fill the salt reservoir with water.
- Position the funnel (see figure) and fill the salt reservoir right up to its edge (approximately 1 kg); it is not unusual for a little water to leak out.
- Remove the funnel and wipe any salt residue away from the opening.
Make sure the cap is screwed on tightly so that no detergent can get into the container during the wash program (this could damage the water softener beyond repair). Whenever you need to add salt, it is mandatory to complete the procedure before the beginning of the washing cycle to avoid corrosion.
SETTING THE WATER HARDNESS
To allow the water softener to work in a perfect way, it is essential that the water hardness setting is based on the actual water hardness in your house. This information can be obtained from your local water supplier.
The factory sets the default value for the water hardness.
- Switch on the appliance by pressing the ON/OFF
- Switch off the appliance by pressing the ON/OFF
- Hold down button P for 5 seconds, until you hear a
- Switch on the appliance by pressing the ON/OFF
- The current selection level number and the salt indicator light both
- Press button P to select the desired hardness level (see WATER HARDNESS TABLE).
| Water Hardness Table | ||||
| Level | °dHGerman degrees | °fHFrench degrees | °ClarkEnglish degrees | |
| 1 | Soft | 0 – 6 | 0 – 10 | 0 – 7 |
| 2 | Medium | 7 – 11 | 11 – 20 | 8 – 14 |
| 3 | Average | 12 – 16 | 21 – 29 | 15 – 20 |
| 4 | Hard | 17 – 34 | 30 – 60 | 21 – 42 |
| 5 | Very hard | 35 – 50 | 61 – 90 | 43 – 62 |
- Switch off the appliance by pressing the ON/OFF Setting is complete!
As soon as this procedure is complete, run a program without loading. Only use salt that has been specifically designed for dishwashers. After the salt has been poured into the machine, the SALT REFILL indicator light switches off.
If the salt container is not filled, the water softener and the heating element may be damaged as a result of limescale accumulation. Using Salt is recommended with any type of dishwasher detergent.
FILLING THE RINSE AID DISPENSER
Rinse aid makes dish DRYING easier. The rinse aid dispenser A should be filled when the RINSE AID REFILL indicator light in the control panel is lit.

- Open the dispenser B by pressing and pulling up the tab on the
- Pour in the rinse aid (max.110 ml), making sure it does not overflow from the If this happens, clean the spill immediately with a dry cloth.
- Press the lid down until you hear a click to close it.
NEVER pour the rinse aid directly into the appliance tub.
ADJUSTING THE DOSAGE OF RINSE AID
If you are not completely satisfied with the drying results, you can adjust the quantity of rinse aid used.
- Switch the dishwasher on using the ON/OFF
- Switch it off using the ON/OFF
- Press button P three times – a beep will be
- Switch it on using the ON/OFF
- The current selection level number and rinse aid indicator light
- Press button P to select the level of rinse aid quantity to be
- Switch it off using the ON/OFF button
The setting is complete!
If the rinse aid level is set to ZERO (ECO), no rinse aid will be supplied. The LOW RINSE AID indicator light will not be lit if you run out of rinse aid. A maximum of 5 levels can be set according to the dishwasher model. The factory setting is specific to the model, please follow the instructions above to check this for your machine.
- If you see bluish streaks on the dishes, set a low number (1-2).
If there are drops of water or limescale marks on the dishes, set a mid-range number (3-4).
FILLING THE DETERGENT DISPENSER
To open the detergent dispenser use the opening device C. Introduce the detergent into the dry dispenser D only. Place the amount of detergent for pre-washing directly inside the tub.

- When measuring out the detergent refer to the mentioned earlier information to add the proper quantity. Inside dispenser D, there are indications to help the detergent dosing.
- Remove detergent residues from the edges of the dispenser and close the cover until it clicks.
- Close the lid of the detergent dispenser by pulling it up until the closing device is secured in place.
The detergent dispenser automatically opens up at the right time according to the program. If all-in-one detergents are used, we recommend using the TABLET button, because it adjusts the program so that the best washing and drying results are always achieved. Usage of detergent not designed for dishwashers may cause malfunction or damage to the appliance.
PROGRAMS TABLE

ECO program data is measured under laboratory conditions according to European Standard EN 60436:2019.
Note for Test Laboratories: For information on comparative EN testing conditions, please send an email to the following address: [email protected] Pre-treatment of the dishes is not needed before any of the programs. Not all options can be used simultaneously. Values given for programs other than the program Eco are indicative only. The actual time may vary depending on many factors such as temperature and pressure of the incoming water, room temperature, amount of detergent, quantity and type of load, load balancing, additional selected options, and sensor calibration. The sensor calibration can increase program duration by up to 20 min.
PROGRAMS DESCRIPTION
Instructions on wash cycle selection
- ECO
The Eco program is suitable to clean normally soiled tableware, for this use, it is the most efficient program in terms of its combined energy and water consumption, and it is used to assess compliance with the EU Ecodesign legislation. - INTENSIVE
Program recommended for heavily soiled crockery, especially suitable for pans and saucepans (not to be used for delicate items). - MIXED
Mixed soil. For normally soiled dishes with dried food residues. - FAST WASH
Program for a limited quantity of normally soiled crockery. Ensures optimal cleaning performance in a shorter time. - DELICATES
Program for delicate items, which are more sensitive to high temperatures, for example, glasses and cups. - RAPID 30’
Program to be used for a half load of lightly-soiled dishes with no dried food residues. Does not include the drying phase. - SANITIZING
Normally or heavily soiled crockery, with additional antibacterial wash. Can be used to perform maintenance of the dishwasher. - SOAK
Use to refresh crockery planned to be washed later. No detergent is to be used with this program.
Notes: Please note that cycle Rapid 30’ is dedicated to lightly soiled dishes.
OPTIONS AND FUNCTIONS
OPTIONS can be selected directly by pressing the corresponding button (see CONTROL PANEL).
If an option is not compatible with the selected program see PROGRAMS TABLE, the corresponding LED flashes rapidly 3 times and beeps will sound. The option will not be enabled.
- ZONE WASH 3D: The option works with one rack at once. In particular, we recommend using it with Mixed and Intensive cycles – thanks to the additional 3D water jets placed on the bottom o the cavity, ZONE WASH 3D option allows you to save energy or increase the washing performance of the dishwasher:
- ZONE WASH 3D + MIXED CYCLE: it allows to reduce energy consumption by up to 40%.
- ZONE WASH 3D + INTENSIVE CYCLE: it increases the washing performance by up to 40%. Ideal for very soiled mixed loads, e.g. pans and saucepans, dishes with heavy encrustation or difficult-to-clean crockery (grater, vegetable mill, dirty cutlery).
How to activate the option:
- Select a compatible cycle
- By default, the appliance washes dishes in all racks.
To wash only the specific rack, press this button repeatedly:![]()
shown on the display (only the lower rack)
shown on the display (only the upper rack)
shown on the display (the option is OFF and the appliance will wash dishes in all racks).
Remember to load the upper or lower rack only, and to reduce the amount of detergent accordingly. If an upper rack is removed, please apply detergent directly to the tub instead of a detergent dispenser.
DELAY
The start time of the program may be delayed for a period of time between 1 and 12 hours.
- Press the DELAY button: the corresponding «h» symbol appears on the display; each time you press the button, the time (1h, 2h, etc. up to max. 12h) from the start of the selected wash cycle will be increased.
- Select the wash program, press the START/Pause button, and within 4 seconds close the door: the timer will begin counting down.
- Once this time has elapsed, the indicator light «h» switches off and the wash cycle begins.
To adjust the delay time and select a shorter period of time, press the DELAY button. To cancel it, press the button repeatedly until the selected delayed start indicator light «h» switches off.
The DELAY function cannot be set once a wash cycle has been started.
TABLET (Tab)
This setting allows you to optimize the performance of the program according to the type of detergent used. Press the START/Pause button for 3 seconds (the corresponding symbol will light up) if you use combined detergents in tablet form (rinse aid, salt, and detergent in 1 dose).
If you use powder or liquid detergent, this option should be off.
ActiveDry ActiveDry is a convection drying system that automatically opens the door during/after the drying phase to ensure exceptional drying performance every day. The door opens at a temperature that is safe for your kitchen furniture. As additional steam protection, specially designed protection foil is added together with the dishwasher. To see how to mount protection foil please refer to (the INSTALLATION GUIDE). ActiveDry functionality could be disabled by the user as follows:
- Go to the Dishwasher software menu by pressing and holding the P button (6 sec).
- You switched to ActiveDry Control Menu, you could change the status of ActiveDry functionality by pressing the P button: E – enabled D – disabled
To confirm the change and exit from the Control Menu please press and hold the P button (3 sec).
LOADING THE RACKS
UPPER RACK

Load delicate and light dishes: glasses, cups, saucers, and low salad bowls.
ADJUSTING THE HEIGHT OF THE UPPER RACK
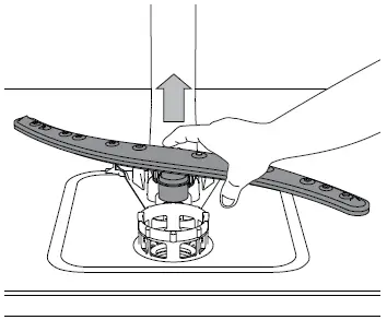
The height of the upper rack can be adjusted: a high position to place bulky crockery in the lower basket and a low position to make the most of the tip-up supports by creating more space upwards and avoiding collision with the items loaded into the lower rack. The upper rack is equipped with an Upper Rack height adjuster (see figure), without pressing the levers, lift it up by simply holding the rack sides, as soon as the rack is stable in its upper position. To restore to the lower position, press the levers A at the sides of the rack and move the basket downwards.

We strongly recommend that you do not adjust the height of the rack when it is loaded. NEVER raise or lower the basket on one side only.
FOLDABLE FLAPS WITH ADJUSTABLE POSITION
The side foldable flaps can be folded or unfolded to optimize the arrangement of crockery inside the rack. Wine glasses can be placed safely in the foldable flaps by inserting the stem of each glass into the corresponding slots.
Depending on the model:
- to unfold the flaps there is needed to slide it up and rotate or release it from the snaps and pull it down.
- to fold the flaps there is needed to rotate them and slide flaps down or pull them up and attach flaps to the snaps.

SLIDING TRAY
The upper rack is fitted with a sliding tray which can be used to hold small crockery and cutlery. For optimum washing performance, avoid positioning bulky crockery directly below the tray. The tray is removable.

LOWER RACK
For pots, lids, plates, salad bowls, cutlery, etc. Large plates and lids should ideally be placed at the sides to avoid interferences with the spray arm.

CUTLERY BASKET
The basket is equipped with top grilles for improved cutlery arrangement. The cutlery basket should be positioned only at the front of the lower rack. Knives and other utensils with sharp edges must be placed in the cutlery basket with the points facing downwards or they must be positioned horizontally in the tip-up compartments on the upper rack.
ZONE WASH 3D
Zone Wash 3D uses additional water jets located both: in the lower and upper part of the dishwasher (marked with orange color) to wash more intensively heavily soiled items by increasing water coverage on dishes. Example: Load pots and casseroles facing the lower part of Zone Wash 3D components and activate the Zone Wash 3D option on the panel.

DAILY USE
- CHECK WATER CONNECTION: Check that the dishwasher is connected to the water supply and that the tap is open.
- SWITCH ON THE DISHWASHER: Open the door and press the ON/OFF button.
- LOAD THE RACKS (see LOADING THE RACKS).
- FILLING THE DETERGENT DISPENSER
- CHOOSE THE PROGRAM AND CUSTOMISE THE CYCLE: Select the most appropriate program in accordance with the type of crockery and its soiling level (see PROGRAMS DESCRIPTION) by pressing the P button. Select the desired options (see OPTIONS AND FUNCTIONS).
- START: Start the wash cycle by pressing the START/Pause button (led is lit) and closing the door within 4 sec. When the program starts you hear a single beep. If the door was not closed within 4sec., the alarm sound will be played. In this case, open the door, press the START/Pause button, and close the door again within 4 sec.
- END OF WASH CYCLE: The end of the wash cycle is indicated by beeps and by the flashing of the wash cycle number on the display. Open the door and switch off the appliance by pressing the ON/OFF button. Wait for a few minutes before removing the crockery – to avoid burns. Unload the racks, beginning with the lower one.
The machine will switch off automatically during certain extended periods of inactivity, in order to minimize electricity consumption. If the crockery is only lightly soiled or if it has been rinsed with water before being placed in the dishwasher, reduce the amount of detergent used accordingly.
MODIFYING A RUNNING PROGRAM
If a wrong program was selected, it is possible to change it, provided that it has only just begun: open the door, press and hold the ON/OFF button, and the machine will switch off. Switch the machine back on using the ON/OFF button and select the new wash cycle and any desired options; Start the wash cycle by pressing the START/Pause button (led is lit) and closing the door within 4 sec.
ADDING EXTRA CROCKERY
Without switching off the machine, open the door (START/Pause led starts blinking) (beware of HOT steam!) and place the crockery inside the dishwasher. Press the START/Pause button and close the door within 4 sec., and the cycle will resume from the point at which it was interrupted.
ACCIDENTAL INTERRUPTIONS
If the door is opened during the wash cycle, or if there is a power cut, the cycle stops. Press the START/Pause button and close the door within 4 sec., and the cycle will resume from the point at which it was interrupted.
ADVICE AND TIPS
TIPS
Before loading the baskets, remove all food residues from the crockery and empty the glasses. You do not need to rinse beforehand under running water.
Arrange the crockery so that it is held in place firmly and does not tip over; and arrange the containers with the openings facing downwards and the concave/convex parts placed obliquely, thus allowing the water to reach every surface and flow freely.
Warning: lids, handles, trays, and frying pans do not prevent the sprayer arms from rotating.
Place any small items in the cutlery basket. Very soiled dishes and pans should be placed in the lower basket because in this sector the water sprays are stronger and allow a higher washing performance. After loading the appliance, make sure that the sprayer arms can rotate freely.
UNSUITABLE CROCKERY
- Wooden crockery and
- Delicately decorated glasses, artistic handicrafts, and antique crockery. Their decorations are not resistant.
- Parts in synthetic material that do not withstand high
- Copper and tin
- Crockery soiled with ash, wax, lubricating grease or
The colors of glass decorations and aluminum/silver pieces can change and fade during the washing process. Some types of glass (e.g. crystal objects) can become opaque after a number of wash cycles too.
DAMAGE TO GLASS AND CROCKERY
- Only use glasses and porcelain guaranteed by the manufacturer as dishwasher safe.
- Use a delicate detergent suitable for crockery
- Collect glasses and cutlery from the dishwasher as soon as the wash cycle is over.
TIPS ON ENERGY SAVING
- When the household dishwasher is used according to the manufacturer’s instructions, washing tableware in a dishwasher usually consumes less energy and water than hand dishwashing.
- In order to maximize dishwasher efficiency it is recommended to initiate the wash cycle once the dishwasher is fully loaded. Loading the household dishwasher up to the capacity indicated by the manufacturer will contribute to energy and water Information on the correct loading of tableware can be found in the Loading chapter.
- In case of partial loading, it is recommended to use dedicated wash options if available (Half load/ Zone Wash, Multizone), filling up only selected racks. Incorrect loading or overloading the dishwasher may increase resource usage (such as water, energy, and time, as well as increase noise levels), reducing cleaning and drying performance.
- Manual pre-rinsing of tableware items leads to increased water and energy consumption and is not recommended.
HYGIENE
To avoid odor and sediment which can be accumulated in the dishwasher please run a high-temperature program at least once a month. Use a teaspoon of detergent and run it without loading to clean your appliance.
CARE AND MAINTENANCE
CLEANING THE FILTER ASSEMBLY
Regularly clean the filter assembly so that the filters do not clog and that the waste water flows away correctly. Using a dishwasher with clogged filters or foreign objects inside the filtration system or spray arms may cause unit malfunction resulting in loss of performance, noisy work, or higher resource usage. The filter assembly consists of three filters that remove food residues from the washing water and then recirculate the water.
The dishwasher must not be used without filters or if the filter is loose.
At least once per month or after every 30 cycles, check the filter assembly and if necessary clean it thoroughly under running water, using a non-metallic brush and following the instructions below:
- Turn the cylindrical filter A in an anti-clockwise direction and pull it out (Fig 1).
- Remove the cup filter B by exerting a slight pressure on the side flaps (Fig 2).
- Slide out the stainless-steel plate filter C (Fig 3).
- In case you find foreign objects (such as broken glass, porcelain, bones, or fruit seeds ) please remove them carefully.
- Inspect the trap and remove any food residues. NEVER REMOVE the wash-cycle pump protection (black detail) (Fig 4).

After cleaning the filters, re-place the filter assembly and fix it in position correctly; this is essential for maintaining the efficient operation of the dishwasher.
CLEANING THE WATER INLET HOSE
If the water hoses are new or have not been used for an extended period of time, let the water run to make sure it is clear and free of impurities before performing the necessary connections. If this precaution is not taken, the water inlet could become blocked and damage the dishwasher.
CLEANING THE SPRAY ARMS
On occasions, food residue may become encrusted onto the spray arms and block the holes used to spray the water. It is, therefore, recommended that you check the arms from time to time and clean them with a small non-metallic brush. To remove the upper spray arm, turn the plastic locking ring in an anti-clockwise direction. The upper spray arm should be replaced so that the side with the greater number of holes is facing upwards.
The lower spray arm may be removed by pulling it upwards.
WATER SOFTENING SYSTEM
Water softener automatically reduces water hardness, consequently preventing scale buildup on the heater, contributing also to better cleaning efficiency. This system regenerates itself with salt, therefore it is required to refill salt containers when empty. The frequency of regeneration depends on the water hardness level setting – regeneration takes place once per 5 Eco cycles with the water hardness level set to 3. The regeneration process starts in the final rinse and finishes in the drying phase before the cycle ends.
- Single regeneration consumes: ~3.5L of water;
- Takes up to 5 additional minutes for the cycle;
- Consumes below 0.005kWh of energy.
TROUBLESHOOTING
In case your dishwasher doesn’t work properly, check if the problem can be solved by going through the following list. For other errors or issues please contact authorized After-sales Service whose contact details can be found in the warranty booklet. The manufacturer ensures the availability of spare parts for at least 10 years after the production date of this appliance.
| PROBLEMS | POSSIBLE CAUSES | SOLUTIONS |
| The salt indicator is lit | The salt reservoir is empty. (After refill the salt indicator may remain lit for several wash cycles). | Refill the reservoir with salt (for more information – see page 2). Adjust water hardness – see table, page 2. |
| The rinse aid indicator is lit | The rinse aid dispenser is empty. (After refill the rinse aid indicator may remain lit for several wash cycles). | Refill dispenser with rinse aid (for more information – see page 2). |
| The dishwasher won’t start or does not respond to commands. | The appliance has not been plugged in properly. | Insert the plug into the socket. |
| Power outage. | For safety reasons, the dishwasher will not restart automatically when power returns. Open the dishwasher door, press the START/Pause button, and close the door within 4 seconds. | |
| The dishwasher door is not closed. ActiveDry pin is not pulled in. | Vigorously push the door until you hear the “click”. | |
| The cycle is interrupted by the door opening for more than 4 seconds. | Press START/Pause and close the door within 4 seconds. | |
| It does not respond to commands.
The display shows 9 or 12 and the On/Off LED is blinking rapidly | Switch off the appliance by pressing the ON/OFF button, switch it back on after approximately one minute, and restart the program. If the problem persists, unplug the appliance for 1 minute, then plug it back in. | |
| The dishwasher won’t drain.
The display shows 3 and the On/Off LED is blinking rapidly | The wash cycle has not finished yet. | Wait until the wash cycle finishes. |
| The drain hose is bent. | Check that the drain hose is not bent (see INSTALATION INSTRUCTION). | |
| The sink drain pipe is blocked. | Clean the sink drain pipe. | |
| The filter is clogged up with food residues. | Clean the filter (see CLEANING THE FILTER ASSEMBLY). | |
| The dishwasher makes excessive noise. | The dishes are rattling against each | Position the crockery correctly (see LOADING THE RACKS). |
|
An excessive amount of foam has been produced. | The detergent has not been measured out correctly or it is not suitable for use in dishwashers (see FILLING THE DETERGENT DISPENSER). Restart the current cycle by switching OFF the dishwasher, then switch it on again, select a new program, press START/Pause, and close the door within 4 seconds. Please do not add any detergent. | |
| The dishes are not clean. | The crockery has not been arranged properly. | Arrange the crockery correctly (see LOADING THE RACKS). |
| The spray arms cannot rotate freely, being hindered by the dishes. | Arrange the crockery correctly (see LOADING THE RACKS). | |
| The wash cycle is too gentle. | Select an appropriate wash cycle (see PROGRAMS TABLE). | |
| An excessive amount of foam has been produced. | The detergent has not been measured out correctly or it is not suitable for use in dishwa- shers (see FILLING THE DETERGENT DISPENSER). | |
| The cap on the rinse aid compartment has not been shut correctly. | Make sure the cap of the rinse aid dispenser is closed. | |
| The filter is soiled or clogged. | Clean the filter assembly (see CARE AND MAINTENANCE). | |
| There is no salt. | Fill the salt reservoir (see FILLING THE SALT RESERVOIR). | |
| The dishwasher does not fill the water.
Display shows H, 6, and On/Off LED are blinking rapidly | No water in the water supply or the tap is closed. | Make sure there is water in the water supply or the tap running. |
| The inlet hose is bent. | Make sure the inlet hose is not bent (see INSTALLATION) reprogram the dishwasher and reboot. | |
| The sieve in the water inlet hose is clogged; it is necessary to clean it | After having carried out the verification and cleaning, turn off and turn on the dishwasher and restart a new program. | |
| The dishwasher finishes the cycle prematurely.
The display shows: 15 and the On/Off LED is blinking rapidly | Drain hose positioned too low or siphoning into the home sewage system. | Check if the end of the drain hose is placed at the correct height (see INSTALLATION). Check for siphoning into the home sewage system, and install an air admittance valve if necessary. |
|
Air in the water supply. |
Check the water supply for leaks or other issues letting air inside. |
Policy and standard documentation and additional product information can be found by:
- Visiting our website: docs.hotpoint.eu
- Using QR Code
- Alternatively, contact our After-sales Service (See phone number in the warranty booklet).

When contacting our After-sales Service, please state the codes provided on your product’s identification plate. The model information can be retrieved using the QR-Code reported in the energy label. The label also includes the model identifier that can be used to consult the portal of the registry at https://eprel.ec.europa.eu
(available only on certain models).

FAQ’s
This cycle will take approximately 32 minutes. Load clean dishware to be wanned.
End of wash cycle – indicated by beeps and by the flashing of the wash cycle indicator in the panel.
ActiveDry naturally air-dries dishes by automatically opening the door of the dishwasher, by up to 10 cm, at the end of the cycle.
Dishwashers are a modern convenience that has become a necessity. They average over 1,000 watts of energy every hour, depending on usage and size. Not only do they drain energy while not being used, but that amount increases significantly when they are running.
Your Hotpoint large appliance is covered for a full 12 months by our own parts and labor guarantee. Register your large appliance and we’ll provide you with free parts for the first 10 years, providing they are fitted by our highly qualified engineers.
Thanks to the Hotpoint freestanding HIC 3C41 CW dishwasher in white, you can be confident that your tableware will be spotless and squeaky clean. If you’re in a hurry, the 30-minute quick wash is perfect for washing lightly soiled dishes, a time-saving option for when you’re in a rush.
If your Hotpoint dishwasher will not fill then please ensure that your water taps at the back of the Hotpoint dishwasher are fully turned on and that the pipes are not kinked or squashed. In order for a Hotpoint dishwasher to fill it must first drain.
Its consistent performance will give you totally clean and dry dishes with every cycle. This easy-to-use dishwasher has a one-button cycle, so there’s never confusion about which cycle you’re using.
Three cycles Most standard dishwashers will have at least three cycles: A light cycle, often used for delicate glassware and plates. A normal cycle, for everyday plates and cutlery. A heavy cycle, for items that need a more intense clean.
Hotpoint dishwasher technology: The combined action of the powerful water jets, spray arms and inverter motor provide impeccable cleaning that’s tough on grease, but always gentle on energy consumption.
The dishwasher stops mid-cycle because the thermal fuse is shorting out. After all, it is either fouled, dirty, broken, or loosely connected. If your dishwasher is older, the thermal fuse is used as a safety switch to stop the motor and circuit board when the dishwasher gets too hot.
The fast wash is perfect if you need to get things done quickly with 30min or 60min wash. This machine has a Spin speed of 1200RPM which removes more water for easier drying.
With each cycle, its reliable performance will provide you with completely dry and clean dishes.
Numerous programmers, including a half-load option and a quick wash setting, are available for your benefit as well. To fit your schedule, you may even choose to put off doing the dishes for 3, 6, or 9 hours!.
Our advice: if your dishwasher has a heat-dry cycle, use it sparingly. Otherwise, select the air-dry cycle. This mode uses room temperature air to help dry your dishes. It’s more efficient and easier on your appliance.
Download this PDF Link: Hotpoint HIC 3C41 CW Integrated Standard Dishwasher User Guide















