Hotpoint HSFE 1B19 Freestanding Dishwasher

THANK YOU FOR BUYING A HOTPOINT PRODUCT. In order to receive more complete assistance, please register your appliance on: www.hotpoint.com/register
You can download the Safety Instructions and the User Manual, by visiting our website docs.hotpoint.eu and following the instructions on the back of this booklet.
Before using the appliance carefully read the Safety Instructions guide.
PRODUCT DESCRIPTION
APPLIANCE

- Upper rack
- Foldable flaps
- Upper rack height adjuster
- Upper spray arm
- Lower rack
- Cutlery basket
- Lower spray arm
- Filter Assembly
- Salt reservoir
- Detergent and Rinse Aid dispensers
- Rating plate
- Control panel
CONTROL PANEL

- On-Off/Reset button with indicator light
- Tablet (Tab) button with indicator light
- Salt refill indicator light
- Rinse Aid refill indicator light
- Program selection knob
- Delay indicator light
- Delay button with indicator light
- Start/Pause button with indicator light / Drain out
FIRST TIME USE
SALT, RINSE AID, AND DETERGENT
ADVICE REGARDING THE FIRST-TIME USE
- After installation, remove the stoppers from the racks and the retaining elastic elements from the upper rack.
FILLING THE SALT RESERVOIR
The use of salt prevents the formation of LIMESCALE on the dishes and on the machine’s functional components.
- It is mandatory that THE SALT RESERVOIR NEVER BE EMPTY.
- It is important to set the water hardness.
The salt reservoir is located in the lower part of the dishwasher (see PRODUCT DESCRIPTION) and must be filled when the SALT REFILL indicator light in the control panel is lit .
- Remove the lower rack and unscrew the reservoir cap (anticlockwise).
- Only the first time you do this: fill the salt reservoir with water.
- Position the funnel (see figure) and fill the salt reservoir right up to its edge (approximately 1 kg); it is not unusual for a little water to leak out.
- Remove the funnel and wipe any salt residue away from the opening.
Make sure the cap is screwed on tightly so that no detergent can get into the container during the wash program (this could damage the water softener beyond repair). Whenever you need to add salt, it is mandatory to complete the procedure before the beginning of the washing cycle to avoid corrosion.
SETTING THE WATER HARDNESS
To allow the water softener to work in a perfect way, it is essential that the water hardness setting is based on the actual water hardness in your house. This information can be obtained from your local water supplier. The factory sets the default value for the water hardness:
- Switch on the appliance by pressing the ON/OFF button.
- Switch off the appliance by pressing the ON/OFF button.
- Hold down the button START/Pause for 5 seconds.
- Switch on the appliance by pressing the ON/OFF button.
- The ON/OFF LED light will flash as many times as the level that was set.
- Set the desired water hardness level using the PROGRAM SELECTION knob (see WATER HARDNESS TABLE).

- Switch off the appliance by pressing the ON/OFF button., The setting is complete!
As soon as this procedure is complete, run a program without loading. Only use salt that has been specifically designed for dishwashers. After the salt has been poured into the machine, the SALT REFILL indicator light switches off.] If the salt container is not filled, the water softener and the heating element may be damaged as a result of limescale accumulation. Using Salt is recommended with any type of dishwasher detergent.
FILLING THE RINSE AID DISPENSER
Rinse aid makes dish DRYING easier. The rinse aid dispenser A should be filled when the RINSE AID REFILL indicator light in the control panel is lit.
- Open the dispenser B by pressing and pulling up the tab on the lid.
- Pour in the rinse aid (max.110 ml), making sure it does not overflow from the dispenser. If this happens, clean the spill immediately with a dry cloth.
- Press the lid down until you hear a click to close it.
NEVER pour the rinse aid directly into the appliance tub.
ADJUSTING THE DOSAGE OF RINSE AID
If you are not completely satisfied with the drying results, you can adjust the quantity of rinse aid used.
- Switch the dishwasher on using the ON/OFF button.
- Switch it off using the ON/OFF button.
- Press button START/Pause three times.
- Switch it on using the ON/OFF button.
- The START LED light will flash as many times as the level that was set.
- Set the level of rinse aid quantity to be supplied using the PROGRAM SELECTION knob (see PROGRAMS TABLE).
- Switch it off using the ON/OFF button Setting is complete!
If the rinse aid level is set to 1 (ECO), no rinse aid will be supplied. A maximum of 5 levels can be set according to the dishwasher model. The factory setting is specific to the model, please follow the instructions above to check this for your machine
- If you see bluish streaks on the dishes, set a low number (2-3).
- If there are drops of water or limescale marks on the dishes, set a midrange number (4-5).
FILLING THE DETERGENT DISPENSER
To open the detergent dispenser use the opening device C. Introduce the detergent into the dry dispenser D only. Place the amount of detergent for pre-washing directly inside the tub.
- When measuring out the detergent refer to the mentioned earlier information to add the proper quantity. Inside the dispenser D, there are indications to help the detergent dosing.
- Remove detergent residues from the edges of the dispenser and close the cover until it clicks.
- Close the lid of the detergent dispenser by pulling it up until the closing device is secured in place.
The detergent dispenser automatically opens up at the right time according to the program. If all-in-one detergents are used, we recommend using the TABLET button, because it adjusts the program so that the best washing and drying results are always achieved. Usage of detergent not designed for dishwashers may cause malfunction or damage to the appliance.
PROGRAMS TABLE

ECO program data is measured under laboratory conditions according to European Standard EN 60436:2020.
Note for Test Laboratories: For information on comparative EN testing conditions, please send an email to the following address: [email protected]. Pre-treatment of the dishes is not needed before any of the programs. ugly.
Values given for programs other than the program Eco are indicative only. The actual time may vary depending on many factors such as temperature and pressure of the incoming water, room temperature, amount of detergent, quantity, and type of load, load balancing, additional selected options and sensor calibration. The sensor calibration can increase program duration up to 20 min.
PROGRAMS DESCRIPTION
Instructions on wash cycle selection.
- ECO: Eco program is suitable to clean normally soiled tableware, for this use, it is the most efficient program in terms of its combined energy and water consumption, and that it is used to assess compliance with the EU Ecodesign legislation.
- INTENSIVE: Program recommended for heavily soiled crockery, especially suitable for pans and saucepans (not to be used for delicate items).
- MIXED: Mixed soil. For normally soiled dishes with dried food residues.
- DELICATES: Program for delicate items, which are more sensitive to high temperatures, for example, glasses and cups.
- RAPID 30’: Program to be used for half load of lightly-soiled dishes with no dried food residues Does not have a drying phase.
- HALF LOAD: Ideal for washing a half load of lightly or normally soiled crockery.
- SOAK: Use to refresh crockery planned to be washed later. No detergent is to be used with this program.
Notes: Please note that cycle Rapid 30’ is dedicated to lightly soiled dishes.
OPTIONS AND FUNCTIONS
OPTIONS can be selected directly by pressing the corresponding button (see CONTROL PANEL). If an option is not compatible with the selected program (see PROGRAMS TABLE), the corresponding LED flashes rapidly 3 times. The option will not be enabled.
DELAY
It is possible to delay the start time of the program by 2, 4 or 8 hours:
- After selecting the desired program and any other options, press the DELAY button. The indicator light will go on.
- Select the desired delay time by pressing the DELAY button repeatedly. The 2 hours, 4 hours and 8 hours indicator lights will go on in succession. If the DELAY button is pressed again, the option is deselected and the indicator light goes off.
- After the selection process, the countdown will begin if the START/PAUSE button is pressed. The selected delay-period indicator light is on and the Start/Pause button lights up (fixed light).
- Once this time has elapsed, the DELAY indicator light goes off and the program begins.
The DELAY function cannot be set once a program has started.
TABLET (Tab)
This setting allows you to optimize the performance of the program according to the type of detergent used. Press the TABLET button (the indicator light will light up) if you use combined detergents in tablet form (rinse aid, salt, and detergent in 1 dose). If you use powder or liquid detergent, this option should be off.
DRAIN OUT: To stop and cancel the active cycle, the Drain Out function can be used. A long press of the START/PAUSE button will activate the DRAIN OUT function. The active program will be stopped and the water in the dishwasher will be drained out.
LOADING THE RACKS
UPPER RACK
- Load delicate and light dishes: glasses, cups, saucers, and low salad bowls.

ADJUSTING THE HEIGHT OF THE UPPER RACK
The height of the upper basket can be adjusted: a high position to place bulky crockery in the lower basket and low position to make the most of the tip-up compartments by creating more space upwards. The upper rack is equipped with an Upper Rack height adjuster (see figure), without pressing the levers, lift it up by simply holding the rack sides, as soon as the rack is stable in its upper position. To restore to the lower position, press the levers (A) at the sides of the rack and move the basket downwards. We strongly recommend that you do not adjust the height of the rack when it is loaded. NEVER raise or lower the basket on one side only.
FOLDABLE FLAPS WITH ADJUSTABLE POSITION
The side foldable flaps can be folded or unfolded to optimize the arrangement of crockery inside the rack. Wine glasses can be placed safely in the foldable flaps by inserting the stem of each glass into the corresponding slots. Depending on the model:
- to unfold the flaps there is needed to slide it up and rotate or release it from the snaps and pull it down.
- to fold the flaps there is needed to rotate it and slide flaps down or pull it up and attach flaps to the snaps.
LOWER RACK: For pots, lids, plates, salad bowls, cutlery, etc… Large plates and lids should ideally be placed at the sides to avoid interferences with the spray arm.
CUTLERY BASKET
- It is fitted with top grids for improved cutlery arrangement. It must only be positioned at the front of the lower rack.

- Knives and other utensils with sharp edges must be placed in the cutlery basket with the points facing downwards or they must be positioned horizontally in the tip-up compartments on the upper rack.
DAILY USE
- CHECK WATER CONNECTION
- Check that the dishwasher is connected to the water supply and that the tap is open.
- SWITCH ON THE DISHWASHER
- Press the ON/OFF button.
- LOAD THE RACKS
- (see LOADING THE RACKS)
- FILLING THE DETERGENT DISPENSER
- CHOOSE THE PROGRAM AND CUSTOMISE THE CYCLE
- Select the most appropriate program in accordance with the type of crockery and its soiling level (see PROGRAMS DESCRIPTION) by turning the PROGRAM SELECTION knob clockwise. Select the desired options (see OPTIONS AND FUNCTIONS).
START
- Start the wash cycle by pressing the START/Pause button.
END OF WASH CYCLE
- The end of the wash cycle is indicated by the ON/OFF LED lit.
- Switch off the appliance by pressing the ON/OFF button and open the door.
- Wait for a few minutes before removing the crockery – to avoid burns. Unload the racks, beginning with the lower one.
The machine will switch off automatically during certain extended periods of inactivity, in order to minimize electricity consumption. If the crockery is only lightly soiled or if it has been rinsed with water before being placed in the dishwasher, reduce the amount of detergent used accordingly.
MODIFYING A RUNNING PROGRAM
If a wrong program was selected, it is possible to change it, provided that it has only just begun: press and hold the ON/OFF button, the machine will switch off. Switch the machine back on using them ON/OFF button and select the new wash cycle and any desired options; start the cycle by pressing the START/Pause button.
ADDING EXTRA CROCKERY
Without switching off the machine, open the door (beware of HOT steam!) and place the crockery inside the dishwasher. Close the door and press the START/Pause button the cycle will begin from the point at which it was interrupted.
ACCIDENTAL INTERRUPTIONS
If the door is opened during the wash cycle, or if there is a power cut, the cycle stops. Once the door has been closed or the electricity supply is restored, to start again the cycle from where it was interrupted, press the START/Pause button.
ADVICE AND TIPS
TIPS
Before loading the baskets, remove all food residues from the crockery and empty the glasses. You do not need to rinse beforehand under running water. Arrange the crockery so that it is held in place firmly and does not tip over; and arrange the containers with the openings facing downwards and the concave/convex parts placed obliquely, thus allowing the water to reach every surface and flow freely.
Warning: lids, handles, trays, and frying pans do not prevent the sprayer arms from rotating. Place any small items in the cutlery basket. Very soiled dishes and pans should be placed in the lower basket] because in this sector the water sprays are stronger and allow a higher washing performance. After loading the appliance, make sure that the sprayer arms can rotate freely.
UNSUITABLE CROCKERY
- Wooden crockery and cutlery.
- Delicate decorated glasses, artistic handicrafts and antique crockery. Their decorations are not resistant.
- Parts in synthetic material which do not withstand high temperatures.
- Copper and tin crockery.
- Crockery soiled with ash, wax, lubricating grease, or ink.
The colors of glass decorations and aluminum/silver pieces can change and fade during the washing process. Some types of glass (e.g. crystal objects) can become opaque after a number of wash cycles too.
DAMAGE TO GLASS AND CROCKERY
- Only use glasses and porcelain guaranteed by the manufacturer as dishwasher safe.
- Use a delicate detergent suitable for crockery
- Collect glasses and cutlery from the dishwasher as soon as the wash cycle is over.
TIPS ON ENERGY SAVING
- When the household dishwasher is used according to the manufacturer’s instructions, washing tableware in a dishwasher usually consumes less energy and water than hand dishwashing.
- In order to maximize dishwasher efficiency, it is recommended to initiate the wash cycle once the dishwasher is fully loaded. Loading the household dishwasher up to the capacity indicated by the manufacturer will contribute to energy and water savings. Information, on the correct loading of tableware, can be found in the Loading chapter.
- In case of partial loading it is recommended to use dedicated wash options if available (Half load/ Zone Wash, Multi-Zone), filling up only selected racks. Incorrect loading or overloading the dishwasher may increase resource usage (such as water, energy, and time, as well as increasing noise level), reducing cleaning and drying performance.
- Manual pre-rinsing of tableware items leads to increased water and energy consumption and is not recommended.
HYGIENE
To avoid odor and sediment which can be accumulated in the dishwasher please run a high-temperature program at least once a month. Use a teaspoon of detergent and run it without loading to clean your appliance.
CARE AND MAINTENANCE
CLEANING THE FILTER ASSEMBLY
Regularly clean the filter assembly so that the filters do not clog and that the waste water flows away correctly. Using a dishwasher with clogged filters or foreign objects inside the filtration system or spray arms may cause unit malfunction resulting in loss of performance, noisy work or higher resource usage. The filter assembly consists of three filters that remove food residues from the washing water and then recirculate the water.
The dishwasher must not be used without filters or if the filter is loose. At least once per month or after every 30 cycles, check the filter assembly and if necessary clean it thoroughly under running water, using a non-metallic brush and following the instructions below:

- Turn the cylindrical filter A in an anti-clockwise direction and pull it out (Fig 1).
- Remove cup filter B by exerting slight pressure on the side flaps (Fig 2).
- Slide out the stainless-steel plate filter C (Fig 3).
- In case you find foreign objects (such as broken glass, porcelain, bones, fruit seeds, etc.) please remove them carefully.
- Inspect the trap and remove any food residues. NEVER REMOVE the wash-cycle pump protection (black detail) (Fig 4).
After cleaning the filters, re-place the filter assembly and fix it in position correctly; this is essential for maintaining the efficient operation of the dishwasher.
CLEANING THE WATER INLET HOSE
If the water hoses are new or have not been used for an extended period of time, let the water run to make sure it is clear and free of impurities before performing the necessary connections. If this precaution is not taken, the water inlet could become blocked and damage the dishwasher.
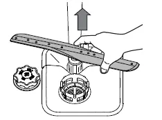
CLEANING THE SPRAY ARMS
On occasions, food residue may become encrusted onto the spray arms and block the holes used to spray the water. It is therefore recommended that you check the arms from time to time and clean them with a small non-metallic brush.
To remove the upper spray arm, turn the plastic locking ring in an anti-clockwise direction. The upper spray arm should be replaced so that the side with the greater number of holes is facing upwards.
- The lower spray arm may be removed by pulling it upwards.
WATER SOFTENING SYSTEM
Water softener automatically reduces water hardness, consequently preventing scale buildup on the heater, contributing also to better cleaning efficiency. This system regenerates itself with salt, therefore it is required to refill the salt containers when empty. The frequency of regeneration depends on the water hardness level setting – regeneration takes place once per 5 Eco cycles with the water hardness level set to 3. Regeneration process starts in the final rinse and finishes in the drying phase before the cycle ends.
- Single regeneration consumes ~3.5L of water;
- Takes up to 5 additional minutes for the cycle;
- Consumes below 0.005kWh of energy.
TROUBLESHOOTING
In case your dishwasher doesn’t work properly, check if the problem can be solved by going through the following list. For other errors or issues please contact authorized After-sales Service whose contact details can be found in the warranty booklet. Spare parts will be available for a period of either up to 7 or up to 10 years, according to the specific Regulation requirements.
| PROBLEMS | POSSIBLE CAUSES | SOLUTIONS |
| Salt indicator is lit | The salt reservoir is empty (after refill the salt indicator may remain lit for several wash cycles). | Refill the reservoir with salt (for more information – see page 2). Adjust water hardness (see table, page 2). |
| Rinse aid indicator is lit | The rinse aid dispenser is empty (after refill the rinse aid indicator may remain lit for several wash cycles). | Refill dispenser with rinse aid (for more information – see page 2). |
|
The dishwasher won’t start or does not respond to commands. | The appliance has not been plugged in properly. | Insert the plug into the socket. |
| Power outage. | For safety reasons, the dishwasher will not restart automatically when power returns. Press the START/Pause button to resume the cycle. | |
| The dishwasher door is not closed. | Vigorously push the door until you hear the “click”. | |
| The cycle is interrupted by door opening for > 4 sec. | Close the door and press the START/Pause button. | |
| It does not respond to commands. | Switch off the appliance by pressing the ON/OFF button, switch it back on after approximately one minute and restart the program. If the problem persists, unplug the appliance for 1 minute, then plug it back in. | |
|
The dishwasher won’t drain. | The wash cycle has not finished yet. | Wait until the wash cycle finishes. |
| The drain hose is bent. | Check that the drain hose is not bent (see INSTALLATION INSTRUCTION). | |
| The sink drain pipe is blocked. | Clean the sink drain pipe. | |
| The filter is clogged up with food residues. | Clean the filter (see CLEANING THE FILTER ASSEMBLY). | |
| The dishwasher makes excessive noise. | The dishes are rattling against each other. | Position the crockery correctly (see LOADING THE RACKS). |
| An excessive amount of foam has been produced. | The detergent has not been measured out correctly or it is not suitable for use in dishwashers (see FILLING THE DETERGENT DISPENSER). Restart dishwasher by pressing the DRAIN button (see OPTIONS AND FUNCTIONS) and run new program without detergent. | |
|
The dishes are not clean. | The crockery has not been arranged properly. | Arrange the crockery correctly (see LOADING THE RACKS). |
| The spray arms cannot rotate freely, being hindered by the dishes. | Arrange the crockery correctly (see LOADING THE RACKS). | |
| The wash cycle is too gentle. | Select an appropriate wash cycle (see PROGRAMS TABLE). | |
| An excessive amount of foam has been produced. | The detergent has not been measured out correctly or it is not suitable for use in dishwashers (see FILLING THE DETERGENT DISPENSER). | |
| The cap on the rinse aid compartment has not been shut correctly. | Make sure the cap of the rinse aid dispenser is closed. | |
| The filter is soiled or clogged. | Clean the filter assembly (see CARE AND MAINTENANCE). | |
| There is no salt. | Fill the salt reservoir (see FILLING THE SALT RESERVOIR). | |
| The dishwasher does not fill the water. All LEDs are blinking rapidly. | No water in the water supply or the tap is closed. | Make sure there is water in the water supply or the tap running. |
| The inlet hose is bent. | Make sure the inlet hose is not bent (see INSTALLATION) reprogram the dishwasher and reboot. | |
| The sieve in the water inlet hose is clogged; it is necessary to clean it. | After having carried out the verification and cleaning, turn off and turn on the dishwasher and restart a new program. | |
| The dishwasher finishes the cycle prematurely. | Drain hose positioned too low or siphoning into the home sewage system. | Check if the end of the drain hose is placed at the correct height (see INSTALLATION). Check for siphoning into the home sewage system, install air admittance valve if necessary. |
| Air in the water supply. | Check water supply for leaks or other issues letting air inside. |
Policies, standard documentation, ordering of spare parts, and additional product information can be found by:
- Visiting our website docs.hotpoint.eu and parts-selfservice.whirlpool.com
- Using QR Code
- Alternatively, contact our After-sales Service (See phone number in the warranty booklet).
- When contacting our After-sales Service, please state the codes provided on your product‘s identification plate.
The model information can be retrieved using the QR-Code reported in the energy label. The label also includes the model identifier that can be used to consult the portal of the registry at https://eprel.ec.europa.eu.



















