Linear50 & Linear72
Owners’ Manual
Model#: BEF-50BIF03 (Linear50)
BEF-72BIF03 (Linear72)
50”/ 72” – Built-in Electric Fireplace
AC 220-240V 50Hz 1400-1600W
BEF-50BIF03 72 Inch Built-in Electric Fireplace
WARNING
Read and understand this entire owner’s manual, including all safety information, before plugging in or using this product. Failure to do so could result in fire, electric shock, or serious personal injury.
CAUTION
Keep this owner’s manual for future reference. If you sell or give this product away, make sure this manual accompanies this product.
IMPORTANT SAFETY INFORMATION!
WARNING
When using electrical appliances basic precautions should always be followed to reduce the risk of fire, electric shock, and injury to persons, including the following:
- Read all instructions before using this heater.
- This heater is hot when in use. To avoid burning, do not touch hot surfaces. If provided, use handles when moving this heater. Keep combustible materials, such as furniture, pillows, bedding, papers, clothes, and curtains at least 1 m from the front of the heater and keep them away from the sides and rear. In order to avoid overheating, do not cover the heater.
- Extreme caution is necessary when any heater is used near children or the infirm and whenever the heater is left operating and unattended.
- Do not operate any heater with a damaged cord or plug or after the heater malfunctions, or has been dropped damaged in any manner, return the heater to an authorized service facility for examination, electrical or mechanical adjustment, or repair.
- Indoor use only, do not use outdoors.
- This heater is not intended for use in bathrooms, laundry areas, and similar indoor locations.
Never locate the heater where it may fall into a bathtub or other water container. - Do not run the cord under the carpeting. Do not cover the cord with throw rugs, runners, or similar coverings. Arrange the cord away from the traffic area and where it will not be tipped over.
- To disconnect the heater, turn the controls off, then remove the plug from the outlet.
- Do not insert or allow foreign objects to enter any ventilation or exhaust opening as this may cause an electric shock or fire, or damage the heater.
- To prevent a possible fire, do not block air intakes or exhaust in any manner. Do not use it on soft surfaces, like a bed, where openings may become blocked.
- A heater has hot surfaces and arcing or sparking parts inside. Do not use it in areas where gasoline or flammable liquids are used or stored.
- Use this heater only as described in this manual. Any other use not recommended by the manufacturer may cause fire, electric shock, or injury to persons.
- DANGER-HIGH Temperatures may be generated under certain abnormal conditions. Do not partially or fully cover or obstruct the front of this heater.
- Replacement of the LEDs should only be done by a qualified technician or service agency while the heater is disconnected from the supply circuit.
- This appliance is not intended for use by persons (including children) with reduced physical, sensory, or capabilities, or lack of experience and knowledge unless they have been given supervision or instruction concerning the use of the appliance by a person responsible for their safety. Children should be supervised to ensure that they do not play with the appliance.
- CAUTION: In order to avoid a hazard due to inadvertent resetting of the thermal cut-out, this appliance must not be supplied through an external switching device, such as a timer, or connected to a circuit that is regularly switched on and off by the utility.
- Do not use outdoors.
- Do not use in immediate surroundings of water, bath, shower, pool, etc.
Preparation
This product includes a GLASS panel! Always use extreme caution when handling glass. Failure to do so could result in personal injury or property damage.}Remove all parts and hardware from the carton and place them on a clean, soft, dry surface. Parts and assembly steps are grouped for free-standing or wall-hanging use. Check the parts list to make sure nothing is missing. Dispose of packaging materials properly. Please recycle whenever possible.
You will need the following tools (not included): Phillips screwdriver; stud finder; level; tape measure; electric drill; 1/4” wood drill bit, and hammer.
Parts and Hardware

Installation and Assembly
Front View of Fireplace

Step 1. Find a safe location.
Choose a location near an outlet so an extension cord is not required.
DO NOT position the unit directly below a power outlet.
See Safety Information on pages 2 and 3 for warnings about safe placement, safe installation, and proper use of this product.
ALWAYS unplug this fireplace before assembly or cleaning, or before relocating.
Failure to do so could result in electric shock, fire, or personal injury.
Installation
STEP 1. Select drywall to open a hole for the fireplace box. Size of the cavity as below chart
| Model No. | W | H | T |
| BEF- 50BIF03 | 1215mm | 432mm | 170mm |
| BEF- 72BIF03 | 1775mm | 432mm | 170mm |
Figure ( A )
When installing the electric fireplace into a cavity or within a wall, the effectiveness of the thermostat function will be reduced. This temperature setting feature is designed to work in installations where there is free air passing between the cavity in which the fireplace is installed and the room.
Figure ( B )
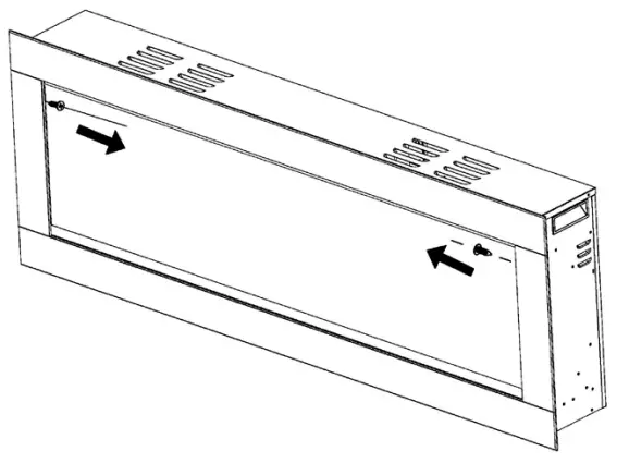
STEP 2. Place the fireplace in a clean dry place. Use the screwdriver to take off the TWO screws on both sides. Figure (B)
Figure ( C )
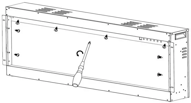
STEP 3. Have two people pull the trim up, and then take them out of the fireplace box. Figure (C)
Figure ( D )
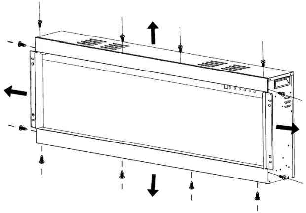
STEP 4. Use the screwdriver to take off the 8 screws as above in Figure (D). Have two people take out the glass panel Figure (E) and move it to a clean area taking care to avoid scratching.
Figure ( E )
STEP 5. Have two people lift the fireplace box and put it into the hole. Fix the FOUR wall screws on each side of the fireplace box. Figure (F)
Figure ( F )
STEP 6. Place the plastic tray ( I ) onto the designed slot of the fireplace and make sure it’s flat.
Then carefully place crystals or pebbles on the ember bed as illustrated. Apply an even layer from side to side. Figure (G) , Figure(H).

STEP 7. After placing the Decorative Crystals or Pebbles on the designed slot, fasten the screws back on the glass panel and metal trim.
(Repeat as Fig B, C, D, E)
Frameless Kit Installation
- Remove the two screws as shown in the below picture.


- Take off the black glass fascia with care.

- Remove the four screws.

- Take off the two brackets.

- Place the left and right trims on the appliance and fix the part using the screws provided in the kit.

- Remove the relevant screws at the top and bottom of the appliance.

- Place the top and bottom trims on the appliance and fix them using the screws removed in the previous step.

- Put the appliance into the wall opening and fix it with the screws provided.

- Finished.

Operation
Read and understand this entire owner’s manual, including all safety information, before plugging in or using this product. Failure to do so could result in electric shock, fire, serious injury, or death.
Power
Plug the power cord into an outlet or hard wire the appliance. If you choose to hard wire the appliance, it MUST have a dedicated isolation switch accessible after installation.
Warning: do not attempt to wire your own new outlets or circuits. Always use a licensed electrician.
Methods of Operation
This electric fireplace can be operated by the TOUCH PANEL, located on the right-side panel of the fireplace (see figure below), or by the battery-powered REMOTE CONTROL.
The operation and functions of the two methods are the same.
Before operating, please review the IMPORTANT SAFETY INFORMATION on Pages 2 and 3, and heed all warnings.

Remote Control &Touch Panel Operation
| BUTTON | FUNCTION | ACTION & INDICATION |
| ON: Enables control panel functions and remote control. Turns on the flame effect. OFF: Disables control panel functions and remote control. Turns off the flame effect. | 1. Press once. An indicator light turns on. The power turns on. All functions enabled. 2. Press again. The flame effect turns off. The unit goes to standby. All functions turn off. | |
| TIMER button: Controls timer settings to turn off the fireplace at the selected time. Settings range from 0.5 hours to 8 hours. | 1. Press once. Indicator light turns on. Timer is set to 0.5 hours. 2. Press again until the desired setting is reached. Indicator lights show the setting. | |
| FLAME button: Makes flame effect dimmer and brighter. NOTE: The flame effect stays on until the power button is turned off. The flame effect must be on for the heater to turn on. | 1. Press once. The flame brightness effect gets changing. 2. Press again. until the desired setting is reached. | |
| COLOR button: Changes the color of the flame effect. NOTE: color effect stays on until the power button is turned off. The color flame effect must be on for the heater to turn on. NOTE: The fireplace will remember the color selection. | 1. Press once. Flame color changes. 2. Press again until the desired setting is reached. | |
| HEATER button: Turns the heater on and off. NOTE: The heater only works when the flame effect is on. If the flame effect is off, the heater will not turn on. NOTE: To prevent overheating, the heater fan will blow cool air for 8-10 seconds before the heater turns on, and after the heater turns off. | 1. Press once. The indicator lights up. A fan blows cool air for 10 seconds. 800W heater turns on and blows warm air. 2. Press again. The indicator lights up. 1600W heater turns on and blows hot air. 3. Press again. Heaters turn off. The fan blows cool air for 10 seconds to allow the heater to cool down, then turns off. | |
| TEMPERATURE button: Turns the heater on and off. NOTE: Press the button for 5 seconds, and the temperature setting will switch from ℃ to ℉. The same way from ℉ to ℃。 | 1. Press once: Touch panel indicator becomes active. 2. Press again: until the desired setting is ‘ Reached. The digital display shows setting circles as below: Please notice: that the thermostat measure the climateof the box in the fireplace is installed. This feature will not work as intended if the cavity does not allow free air to pass between the cavity and the room. | |
| LED Ember light button ( 1 ): Changes the color of the bottom (ember) lighting. NOTE: Ember color effect stays on until the power button is turned off. | 1. Press once. Ember color effect changes, in total a cycle of 10 colors. 2. Press again until the desired color is reached. 3. Press the 10th time. Ember lighting color automatically changes in fade mode. 4. Press again, Ember lighting quits fade mode and is available to change color. | |
| LED Bottom light button ( 2 ): Dimmer and brighter the brightness of the bottom (ember) lighting. NOTE: Ember bed’s default brightness is L5, it changes at five levels back and forth. | 1. Press once. Ember lighting dimmer to L4. 2. Press again. Ember lighting dimmer from L4 to L1. 3. Press again. Ember lighting is brighter from L1 to L5. 4. Press again. Until the desired setting is reached. |
NOTICE
When the fireplace is first turned on, a slight odor may be present. This is normal and should not occur again unless the fireplace is not used for a long period of time.
NOTICE
To improve operation, aim for the remote control at the front of the fireplace. Do not press the buttons too quickly. Give the unit time to respond to each command.
Temperature Limiting Control
This heater is equipped with a Temperature Limiting Control. Should the heater reach an unsafe temperature, the heater will automatically turn OFF. To reset:
- Unplug the power cord from the outlet.
- Turn the ON/OFF switch on the CONTROL PANEL to OFF. Wait 5 minutes.
- Inspect the fireplace to make sure no vents are blocked, or clogged with dust or lint. If they are, use a vacuum to clean the vent areas.
- With the POWER switch in the OFF position, plug the power cord back into the outlet.
- If the problem continues, have your outlet and wiring inspected by a professional.
Remote Control Battery Information
- This remote control uses a CR2025 battery (included).
- Instructions for battery installation are on the Remote Control battery compartment.
NEVER dispose of batteries in fire. Failure to observe this precaution may result in an explosion. Dispose of batteries at your local hazardous material processing center.
Care and Maintenance
Cleaning
ALWAYS turn the fireplace OFF and unplug the power cord from the outlet before cleaning, performing maintenance, or moving this fireplace. Failure to do so could result in electric shock, fire, or personal injury.
NEVER immerse in water or spray with water. Doing so could result in electric shock, fire, or personal injury.
Metal:
- Buff using a soft cloth, slightly dampened with a citrus oil-based product.
- DO NOT use brass polish or household cleaners as these products will damage the metal trim.
Glass:
- Use a good quality glass cleaner sprayed onto the cloth or towel. Dry thoroughly with a paper towel or lint-free cloth.
- NEVER use abrasive cleansers, liquid sprays, or any cleaner that could scratch the surface. Vents:
- • Use a vacuum or duster to remove dust and dirt from the fireplace and vent areas.
- Plastic:
- Wipe gently with a slightly damp cloth and a mild solution of dish soap and warm water.
- NEVER use abrasive cleaners, liquid sprays, or any cleaner that could scratch the surface.
Maintenance
Risk of electric shock! DO NOT OPEN any panels! No user-serviceable parts inside!
ALWAYS turn the fireplace OFF and unplug the power cord from the outlet before cleaning, performing maintenance, or moving this fireplace. Failure to do so could result in electric shock, fire, or personal injury.
Electrical and Moving Parts:
- The fan motors are lubricated at the factory and will not require lubrication.
- Electrical components are integrated into the fireplace and are not serviceable by the consumer.
Storage:
- Store the fireplace in a clean dry place when not in use.
WARNING! NO SERVICING of the internal or electrical parts should be performed by the consumer. Do not service the unit yourself.
Troubleshooting
WARNING
DISCONNECT THE APPLIANCE COMPLETELY AND LET IT COOL PRIOR TO ANY SERVICE. ONLY A QUALIFIED SERVICE PERSON SHOULD SERVICE AND REPAIR THIS ELECTRIC APPLIANCE.
| Problem | Possible Cause | Solution |
| 1. Fireplace turns off and will not turn on. | 1. Fireplace has overheated and the safety device has caused the thermal switch to disconnect or the home circuit breaker has opened. | 1. Reset the switch by turning the main power switch off and waiting 10 minutes then turning it back on or resetting the circuit breaker. |
| 2. Flame is not moving. | 1. Loose wiring. 2. Flame motor defective. 3. Flame rod out of place. | 1. Inspect wiring for loose connections. 2. Call a qualified service technician to replace flame motor. 3.”Flame Rod” is out of place due to rough transit/handling of the product. This issue can be corrected as simple as removing the glass, flipping the fireplace upside down, removing a set of screws that are holding the bottom frame plate, and placing the flame rod back into place. |
| 3. Flame is not visible. | 1. Wiring is loose. | 1. Disconnect from the power source and inspect the wiring for loose connections and repair or replace if necessary. 2. Push the flame button to high. |
| 4. Log set and/or ember is not glowing. 5. Remote control does not work. | 1. Wiring is loose. 2. Ember is in off mode. 1. Low batteries. 2. Not aiming control correctly. 3. Defective remote control and/or sensor. | 1. Disconnect from the power source and inspect the wiring for loose connections and repair or replace if necessary. 2. Ensure the ember button is pressed until on high. 1. Replace the batteries in the remote control. 2. Aim control at the sensor located directly behind the glass screen in the center of the unit just above logs. 3. Replace the remote control and/or sensor. |
| 6. Fireplace will not come on when the switch is flipped to ON. | 1. Fireplace is not plugged into an electrical outlet. 2. Control failure. 3. Breaker tripped. | 1. Check the plug. 2. Call a qualified service technician. 3. Reset the breaker. |
| 7. Heater does not provide heat when turned on. | 1. Thermal switch has been tripped. 2. Wiring is loose. 3. Heater is defective. | 1. Turn the unit off and unplug the unit for 10 minutes. Plug back in and turn the unit on. If the plug cannot be reached, follow directions for tripped circuit breaker. 2. Disconnect from the power source and inspect the wiring for loose connections and repair or replace if necessary. 3. Replace the heater. |
| 8. Touch panel /Remote Control do not work. | The front glass is moved or not secured properly. | Unplug the appliance, if the appliance is recessed to the wall, shut off the house circuit breaker. Ensure the front glass is in the correct location and is sitting flat on the appliance touch panel. after 15 seconds, plug or turn on the appliance to reset it. |
CAUTION: To remove the glass, you will notice two screws on front both sides (right and left) of the fireplace. Once the screws are removed, slide the glass up and away from the fireplace. Once the bottom frame plate is removed, you will notice one flame motor on the right side where the rod should be in place with the rubber plugs.
Please remember to always have the unit disconnected prior to any work, and always lay glass as well as the unit on a towel or other material not to damage parts/frame.
This entire process should not take longer than 20-30 minutes.
![]()









Please notice: that the thermostat measure the climate

















