Swiss Madison 0103160011 Wall Hung Toilet

PRIOR TO INSTALLATION
- Inspect toilet to ensure no damages have occurred while in shipping.
- Observe all plumbing and building codes in accordance with your state and local requirements.
- All dimensions are nominal! Be sure to measure your toilet prior to installation.
- The step-by-step guidelines in the installation instructions are a general reference. Should there be any discrepancies, Swiss Madison cannot be held liable. It is recommended to install all Swiss Madison products by hiring a licensed professional.
- Read installation and maintenance instructions thoroughly before installing. Be sure to use proper tools and always wear proper personal safety accessories for your protection.
- Two people are recommended to handle and install this product as it is fragile.
If you have any questions or concerns please contact us: 1-434-623-4766 [email protected]
SUGGESTED TOOLS & MATERIALS

REQUIRED PARTS

- Install Tank Carrier System
- Before toilet bowl installation, a wood frame and commercial or residential tank system is required.
- Install according to manufacturer’s instructions.
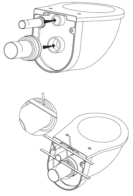
- Dry Fit Outlet Pipe and Inlet Pipe
- Fully insert straight tube into cistern flushing outlet then connect pipe into discharge outlet.
- Draw lines to mark the finished wall location on each pipe as pictured below.

- Determine Pipe Size
- Apply lubricant on rubber washers of straight tube and connecting pipe, then insert into holes.
- Draw lines on pipes as pictured below.

- Cut Pipes
- Measure the distance between both marked lines on pipe. Take measured distance, deduct from bald end of pipe and cut pipes as shown below.
- After cutting, take a file and remove all burrs. Try and bevel pipe edge.
- L1: The distance between the two lines on the straight tube.
- L2: The distance between the two lines on the connecting pipe

- Mount Toilet Bowl
- Apply lubricant to the joint surface on straight tube and connecting pipe.
- Mount the toilet bowl to the wall.

- Level and Attach Bowl
- Attach bowl using the washers and bolts, make sure the bowl is level, then cover with included cap.
- Fill any gaps with cement or sealant

TOILET SEAT INSTALLATION
- Dissassemble
Disassemble the cover cap and the hinge
- Construct Hinges
- Insert screw and nut into the hole on the hinge.
- Attach blind hole screw fixing to the bottom of screw.

- Attach Hinges
- Insert hinges with blind hole screw fixings attached into holes on toilet bowl.
- Lightly tighten hinges with a screwdriver too allow for later adjustment.

- Adjust and Cover Hinges
- Be sure the hinge is all the way forward for proper seat fitting.
- Place the covers onto the hinges

- Adjust and Attach Seat
- Align seat to the hinges then firmly tighten the hinges.
- Attach seat to the secure hinges.
- Adjust seat to align to the bowl

TOILET SEAT USAGE
- To remove, push middle button until you hear a “click”, then pull straight up.
- To re-install, align hinge posts with reference marks on seat, then push down until your hear a “click”.
One Button:

Two Button:

ONE YEAR LIMITED WARRANTY
Swiss Madison® products are made with quality materials and excellent craftsmanship to provide our customers with beautiful, durable, long-lasting products. Should there be any defects in materials or craftsmanship under regular use that are discovered within the first year of installation, Swiss Madison® will provide replacement parts at no charge, or at its discretion, replace any product or part of the product that is deemed defective, under normal installation, use, service or maintenance. This warranty applies only to the original purchaser. Proof of purchase will be required in the instance of a claim. Swiss Madison® recommends all installations of Swiss Madison® products to be conducted by a licensed, professional plumber or contractor. Swiss Madison® will not be held responsible for any damage or product failure due to improper installation, misuse, or failure to utilize a licensed professional for installation. Swiss Madison® is not responsible for any installation or removal costs
This One Year Limited Warranty Will Be Voided If:
- The installation recommendations were not followed by the installer
- The product has been moved from its initial place of installation
- The product has in any way been modified from its packaged state
- The product has been subjected to improper maintenance, abuse, misuse, excessive use of chemicals, accidents, or other damages, etc.
Swiss Madison® makes no implication that its products comply with any local building or plumbing codes. It is the consumer’s responsibility and obligation to determine local code compliance prior to and during installation. This warranty extends only to the original purchaser and first consumer. Swiss Madison® is not responsible for any special, incidental or consequential damages associated with the installation, replacement, return or use of the original purchaser’s product. This includes, but is not limited to: freight costs, labor, travel time, lost profit, home damages and other contingent liabilities and costs (including, without limitation, costs associated with ‘professionals’ or ‘experts’, investigations, audits, analyses, attorneys and any other professional/hired services). The Swiss Madison® warranty is a comprehensive and explicit limit of liability. All items not disclosed within the warranty are not addressable within the responsibility of Swiss Madison®. Certain states have variances regarding implied warranties; in those situations, we remain fully compliant.
If you have any questions or concerns, please contact us directly at 1-434-MADISON (623-4766)
WARNING: Contents of your order may contain sharp and possibly other harmful pieces and may cause hazard to children and adults. Swiss Madison® is not responsible in any way for personal damages.
1-434-MADISON (623-4766) 19 Stults Road Dayton, NJ 08810 www.swissmadison.com



























