WATERSTONE FAUCETS 3100 Wall-Mounted Potfiller

Model #s:
3100, 3150
BEFORE YOU BEGIN YOUR INSTALLATION
REQUIRED TOOLS
PARTS INCLUDED
HK-WPF-XX* WALL POT FILLER HARDWARE KIT HARDWARE KIT
INSTALL PREPARATION – POTFILLER PLACEMENT
Prior to installation, rough-in plumbing must be completed. The position of your pot filler should be considered prior to start. When fully extended from the wall, the reach of the pot filler is 22 inches. Use a position on wall that allows potfiller to reach the furthest cooking position for filling (Fig. 1). We recommend aligning the pot filler valve to either left or right side of the cooking surface. Access to valve should not be over the center of the cooking area
ROUGH-IN PLUMBING REQUIREMENTS
Tools mentioned do not apply to the rough in-plumbing process.
Once the position of potfiller has been determined, plumb STUB OUT PIPE (A) from your household water source. Use a 1/2” NPT PIPE nipple for rough-in plumbing stub out. Extend end of the STUB OUT no more than 1/2” beyond the mounting surface. Loosely strap pipe behind to allow some play; between 1/8” and 1/4 “ of in and out movement. Height of STUB OUT PIPE should be approximately 13 inches above the cooking surface. This allows adequate clearance for most larger cook pots. With the rough-in plumbing complete, your potfiller can now be installed
POTFILLER INSTALL INSTRUCTIONS
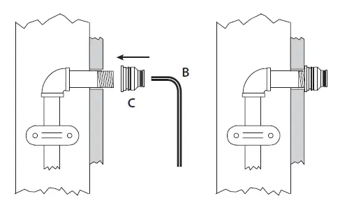
ATTACH PIPE ADAPTER
Make sure water source is off. Using 1/4” hex wrench (B) provided, attach PIPE ADAPTER (C) to STUB OUT PIPE nipple on wall. Use Teflon tape on threads to get a good, watertight seal. Tighten PIPE ADAPTER. Check to make sure you can push the back of PIPE ADAPTER flush to wall
ALIGN MOUNTING PLATE
Place MOUNTING PLATE (D) over PIPE ADAPTER (C). Adapter should be positioned in hole at bottom of the plate. Plate should fit flat to wall surface. Using a level, or a carpenters square, position plate straight up and down. Hold plate in place. With a pencil, mark four mounting screw hole positions on wall. Remove plate
DRILL FOUR MOUNTING HOLES
WARNING – Before drilling, take precautions to not drill into any electrical or water lines behind surface of wall. Predrill four holes using a 1/4” drill bit on four mounting screw marks. Insert four plastic WALL ANCHORS (E) into drilled holes. Make sure head of the WALL ANCHOR does not protrude above surface of wall, or faucet assembly will not attach correctly to plate
ATTACH MOUNTING PLATE
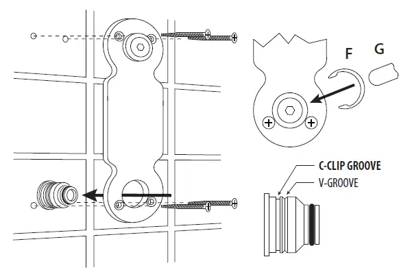
Reposition MOUNTING PLATE over PIPE ADAPTER and line up four drilled holes with four screw holes on plate. Screw MOUNTING PLATE to wall. Next, use C-CLIP (F) provided to secure PIPE ADAPTER to MOUNTING PLATE (because pipe has play in and out, you might need to pull on PIPE ADAPTER to expose C-CLIP groove). Using wooden stick (G) provided, push C-CLIP into the C-CLIP groove closest to MOUNTING PLATE. This prevents an accidental scratch on plate as you install it. NOTE: The C-Clip MUST be installed to insure that the pipe adapter is properly located for attachment of the potfiller assembly.
ATTACH POT FILLER
TO MOUNTING PLATE
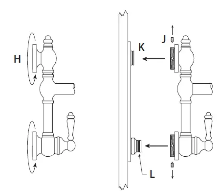
Your potfiller comes pre-assembled. Once MOUNTING PLATE is secure on wall, you are ready to attach POTFILLER ASSEMBLY. Both upper and lower mounting bases have a threaded decorative ring (H) to hide MOUNTING SET SCREWS (J). Unscrew upper and lower rings away from mounting surface to reveal threads and SET SCREWS. Back off or remove the three upper and three lower SET SCREWS on each mounting base. Prior to mounting POTFILLER ASSEMBLY, lubricate PIPE ADAPTER with liquid dish soap. POTFILLER ASSEMBLY will slide onto PIPE ADAPTER and the UPPER MOUNTING BASES (K) on plate. Push the POTFILLER ASSEMBLY onto bases. Lower base has an O-ring (L) that will seal into valve assembly. POTFILLER ASSEMBLY unit should be touching and flush with MOUNTING PLATE.
SECURE POTFILLER
Using provided 3/32” hex wrench (M), replace and tighten lower three SET SCREWS and upper three SET SCREWS. Set screw points should be seated into “V” groove ON PIPE ADAPTER. DO NOT OVERTIGHTEN THE SET SCREWS. Snug tight is all that’s needed. Replace and tighten upper three SET SCREWS. Once all six set screws are in place, thread decorative upper and lower rings back onto mounting bases to conceal threads and SET SCREWS. Hand tighten only, do not use a wrench. IMPORTANT NOTE: If SET SCREW points are not properly seated into PIPE ADAPTER “V” groove, the tops of the SET SCREWS will not allow decorative rings to be threaded into place. This is a safety feature that assures a proper connection to PIPE ADAPTER. DO NOT modify or use different SET SCREWS than those provided. Restore water pressure to line and check for leaks. For questions or concerns, please call Waterstone for technical assistance. 1-888-304-0660
41180 Raintree Court
Murrieta, CA 92562
1-888-304-0660
951-304-0520
www.waterstoneco.com
















