Leuchten Direkt 11932-55 Direct Max LED Spotlight

This product contains light sources of energy efficiency class <F>.
SPECIFICATION
- 4 W
- GU10
- 420 Im
- 15.000 h
- 3.000 K
- 12.500 x
- <0,5 s
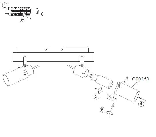
TOOLS REQUIRED

INSTALLATION INSTRUCTIONS



This product contains light sources of energy efficiency class <F>.



Download manual
Here you can download full pdf version of manual, it may contain additional safety instructions, warranty information, FCC rules, etc.