PHOENIX 200
POWER STATION
Model: R200PHX
User Guide
IMPORTANT SAFETY INSTRUCTIONS
Please read the User Guide carefully before recharging or operating your Phoenix 200.
IMPORTANT SYMBOLS
WARNING
Indicates potentially dangerous conditions that could result in personal injury
CAUTION
Indicates conditions or practices that could result in damages to the unit or other equipment
NOTE
Indicates procedures or functions that are important for the proper and safe operation of the unit and/or other equipment
WARNING
DO NOT submerge the unit in water or operate the unit in the rain. Doing so may cause short-circuits, electric shocks, and/or fire.
WARNING
DO NOT place the unit near the fire and/or heat the unit. Doing so may cause irreversible damages to the unit and/or battery explosion.
WARNING
DO NOT overload the AC or DC outputs. Please check the specifications of output ports and devices before operation.
WARNING
Please dispose of the product according to the local recycling and environmental regulations.
WARNING
Please turn off the output ports when no devices are connected to the unit to prevent electric shocks.
CAUTION
DO NOT dismantle or modify the unit. Doing so may cause irreversible damages to the unit and void the warranty.
CAUTION
DO NOT drop or strike the unit. Doing so may cause circuit failures and cracks in the casing.
CAUTION
Keep the unit out of the reach of young children.
CAUTION
DO NOT place the unit under direct sunlight or place in high-temperature situations. Doing so may cause unit malfunction or component degradation.
CAUTION
DO NOT expose the unit to strong electrostatic fields, strong magnetic fields, and/or radiation.
CAUTION
Please check the unit before each use. Stop using the unit if you notice unusual smells, heating, distortion, or any other abnormalities.
FEATURES
UNIVERSAL COMPATIBILITY
Equipped with multiple output ports to power mainstream essential gadgets and small appliances at the push of a button.
EASY RECHARGING
Conveniently charge the PHOENIX 200 through a wall outlet, a car socket, or a solar panel.
COMPREHENSIVE PROTECTION
The battery management system (BMS) enables voltage control, temperature control, short circuit protection, overcurrent protection, and more advanced safety operations.
POWERFUL FLASHLIGHT
Be prepared for blackouts or other emergencies with the multi-mode LED flashlights on both sides of the carrying handle.
PACKAGE CONTENTS
- 1 x Renogy PHOENIX 200 Power Station
- 1 x Cigarette Lighter Plug to 5.5mm DC Adapter Cable
- 1 x AC/DC Adapter
- 1 x User Guide
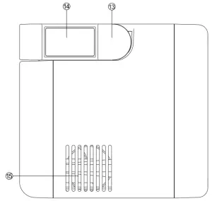
PRODUCT OVERVIEW


| 1. Battery Level LED Indicators 2. Port Status LED Indicators 3. Flashlight Status LED Indicators 4. CIG Port 5. USB-A Ports 6. USB-C Port 7. DC Output Port 8. Port On/Off Buttons | 9. Flashlight On/Off Button 10. Main Power Button 11. AC Outlets 12. DC Input Port 13. Folding Carrying Handle 14. LED Flashlight 15. Air Vent |
SPECIFICATIONS
General | |
| Dimension | 181 x 155 x 143 mm / 7.1 x 6.1 x 5.6 in. |
| Weight | 2.1 kg / 4.6 lb. |
| Material | PC + ABS |
| Flashlight | 2 x 1.6W LED |
| Normal Operating Temperature | -10-45 / 14-113 |
| Storage Temperature | -20-60 / -4-140 |
| Operating Humidity | 0-65% |
| Storage Humidity | 10-90% |
| Certifications | FCC, CE, PSE, RoHS |
Battery | |
| Type | Lithium-ion Battery |
| Voltage | 10.8V |
| Capacity | 17500mAh / 189Wh |
| Cycle Life | 500 Cycles to 80% Capacity |
Input | |
| DC Input Port | 12-25V, 30W Max |
Output | |
| USB-A Port (3) | 5V / 2.4A Each Max |
| USB-C Port | 5V / 3A Max |
| CIG Port | 9.6-12.6V / 10A Max |
| DC Output Port | 9.6-12.6V / 5A Max |
| AC Outlet (2) | 110V / 60Hz (US, JP, CA) 220V / 50Hz (AU, EU, CN) 150W Rated, 200W Surge Modified Sine Wave |
| Total Continuous Output | 200W Max |
BATTERY LEVEL LED INDICATORS
- Four Battery Level LED Indicators to indicate the battery level of the PHOENIX 200, approximating 25% – 50%- 75% – 100% capacity.
- As you use your PHOENIX 200 to power other devices, the Battery Level LED Indicators will go out one by one to indicate the remaining battery capacity.
- When the battery level of PHOENIX 200 is lower than 20%, the last Battery Level LED Indicator will flash twice per second.
- When recharging your PHOENIX 200, one of the Battery Level LED Indicators will flash. The flashing LED indicates the unit’s current battery level. Once your PHOENIX 200 is fully recharged, all Battery Level LED Indicators will be lit and remain solid.
CAUTION
If the Battery Level LED Indicators to flash in an unusual way, your PHOENIX 200 may need special attention. Please refer to the TROUBLESHOOTING section for help.
RECHARGING YOUR PHOENIX 200
CAUTION
To maximize battery life, be sure to fully recharge your PHOENIX 200 before operating or storing.
NOTE
To shorten the recharge time of PHOENIX 200, it is recommended to disconnect all loads while recharging the unit.
Recharge Time
Recharge via Solar: 7 Hours
Recharge via AC/DC Adapter: 7 Hours
Recharge via Car Socket: 8 Hours
NOTE
The above recharge times are based on conditions when the PHOENIX 200 is recharged at full speed with no loads connected to it.
Recharging via Solar
- For optimal recharging performance, it is strongly recommended to recharge your PHOENIX 200 using a solar panel with 30W or higher rated power (not included) on bright sunny days free of scattered clouds.
- Place the solar panel under direct sunlight. Steer clear of trees or branches that can shade the solar panel and slow down the recharging process.
- Use a solar panel connector to 5.5mm DC adapter cable (not included) to connect the solar panel to the DC Input Port of your PHOENIX 200 and place your PHOENIX 200 in the shade to prevent it from overheating.
- The PHOENIX 200 will begin to recharge automatically and one of the Battery Level LED Indicators will flash. The flashing LED indicates the unit’s current battery level.

Recommended Solar Panels:
- Renogy Monocrystalline Solar Panel: 50W
- Renogy Polycrystalline Solar Panel: 50W
- Renogy Flexible Solar Panel: 50W
- Renogy E.FLEX Series Portable Solar Panel: 50W
WARNING
Electrical shock can occur if the solar panel connectors to a 5.5mm DC adapter cable is damaged or frayed. DO NOT use a damaged or frayed cable to recharge your PHOENIX 200.
CAUTION
Make sure the open-circuit voltage of the solar panel does not exceed 25V or fall short of 12V.
NOTE
The solar recharge time is highly dependent on solar irradiance and ambient temperature.
Recharging via AC/DC Adapter
- Plug your PHOENIX 200 into a wall outlet through the DC Input Port using the included AC/DC Adapter.
- The PHOENIX 200 will begin to recharge automatically and one of the Battery Level LED Indicators will flash.
The flashing LED indicates the unit’s current battery level.

WARNING
Electrical shock can occur if the AC/DC Adapter is damaged. DO NOT use a damaged AC/DC Adapter to recharge your PHOENIX 200.
Recharging via Car Socket
- Plug your PHOENIX 200 into a car socket through the DC Input Port using the included Cigarette Lighter Plug to 5.5mm DC Adapter Cable.
- The PHOENIX 200 will begin to recharge automatically and one of the Battery Level LED Indicators will flash.
- The flashing LED indicates the unit’s current battery level.

WARNING
Electrical shock can occur if the Cigaretter Lighter Plug to 5.5mm DC Adapter Cable is damaged or frayed. DO NOT use a damaged or frayed cable to recharge your PHOENIX 200.
CAUTION
Please disconnect your PHOENIX 200 from the car socket when starting the engine. Electric surges from the alternator when starting may damage your PHOENIX 200.
NOTE
For some makes or models of vehicles, the car socket may not operate when the ignition is turned off. In such cases, please start the engine before recharging your PHOENIX 200 via the car socket
OPERATING YOUR PHOENIX 200
CAUTION
Operating your PHOENIX 200 at high temperatures above 113 °F (45 ) or at low temperatures below 32 °F (0°C ) can result in battery performance degradation and service life-shortening. For optimal battery performance and maximum battery life, it is strongly recommended to operate your PHOENIX 200 at room temperature.
Operation Time
NOTE
The above estimation formulas only apply when the PHOENIX 200 has been fully recharged and the device does not draw too much power.
NOTE
Actual number of full charges and working hours may vary from different powering methods and device operation status.
Powering Your Devices
- Four Port Status LED Indicators respectively display the status of the AC Outlets, DC Output Port and CIG Port, USB-C Port, as well as USB-A Ports.
- To use the output port(s), first press the Main Power Button to turn on the PHOENIX 200. The Battery Level LED Indicator(s) will illuminate to indicate the unit’s current battery level. Then, press the corresponding Port On/Off Button(s) to turn on the output port(s). The corresponding Port Status LED Indicator(s) will illuminate. Lastly, connect your device(s) to the output port(s) for power. When not using the output port(s), long-press the corresponding Port On/Off Button(s) to turn it (them) off and the corresponding Port Status LED Indicator(s) will go out.
- When no device is connected to the PHOENIX 200, long-press the Main Power Button to turn it off to conserve energy.
- When the battery level of PHOENIX 200 is lower than 10%, the use of the AC Outlets will be automatically disabled. Please use DC outputs to continue powering your devices.
- When the battery voltage is excessively low, all the outputs will be cut off automatically. See TROUBLESHOOTING for more details.
Compatible Devices:
CAUTION
Battery high-temperature protection may be triggered when the PHOENIX 200 is operating at full load. When this is the case, cool down the unit before resuming operation. See TROUBLESHOOTING for more details.
CAUTION
When using the AC outlets of your PHOENIX 200, keep 4 inches of space on either side of the unit to guarantee efficient heat dissipation of the inverter.
CAUTION
If any of the Ports Status LED Indicators flashes in an unusual way, your PHOENIX 200 may need special attention. See TROUBLESHOOTING for help.
NOTE
Some devices that require high current impulse may not be compatible with the PHOENIX 200 even though they do not exceed the power ratings of output ports.
NOTE
When the PHOENIX 200 is powering devices that have high power consumption, the battery level can drop quickly. In this case, you may not get exactly 189Wh of energy.
NOTE
The PHOENIX 200 can be recharged and deliver DC power to your devices simultaneously. However, AC power is not available when the PHOENIX 200 is being recharged.
Using the LED Flashlight
- The LED Flashlights on both sides of the Folding Carrying Handle have four light modes: Bright (100% brightness), Dim (50% brightness), Flashing, and SOS.
- Press the Flashlight On/Off Button to turn on the LED Flashlights, switch light modes, and turn off the LED Flashlights. You can also long-press the Flashlight On/Off Button to turn off the LED Flashlights no matter what mode are they in.
MAINTENANCE
- To prolong the service life of your PHOENIX 200, keep it away from harsh sunlight, water, dust, and dirt. DO NOT leave your PHOENIX 200 outside under harsh environments.
- If possible, keep your PHOENIX 200 connected to a power source when it is not being used, and avoid using large loads when the battery level is low.
- To maintain a healthy battery, please recharge your PHOENIX 200 at least once every two months.
- If you do not intend to use your PHOENIX 200 frequently, it is strongly recommended to keep its battery level at around 50% and store it in a clean, dry, and well-ventilated environment with temperatures around 77 °F (25 °C ) and humidity no higher than 75%.
- Keep your PHOENIX 200 away from corrosives, fire, and heat sources.
TROUBLESHOOTING
- If your PHOENIX 200 does not operate normally, please refer to the following table for a possible cause and solution.
- If the following troubleshooting solutions do not work, please contact us for help. Refer to the last page of the User Guide for contact information.
LED Indicators | Possible Causes | Solution |
| All Battery Level LED Indicators flash twice per second | 1. DC Input Port Overvoltage Protection (Input Voltage27.5V) 2. DC Input Port Undervoltage Protection | 1. Remove all connections 2. If the voltage rating of the power source does not fall in the range of 12-25V, stop using that power source to recharge the unit. 3. Connect the unit to the power source that conforms to the specifications of DC Input Port and the unit will resume recharging automatically. |
| All Battery Level LED Indicators and Port Status LED Indicators flash twice per second | 1. Discharge High-Temperature Protection (Battery Temperature 149°F/65°C) 2. Discharge Low-Temperature Protection (Battery Temperature s-4°F/-20°C) 3. Recharge High-Temperature Protection(Battery Temperature 122°F/50°C) 4. Recharge Low-Temperature Protection (Battery Temperature s32°F/0°C) | 1. Remove all connections. 2. Cool down or warm up the unit to room temperature. 3. If the unit was powering loads, press the Port On/Off Button(s) to turn on the output port(s) again and reconnect the loads to the unit. 4. If the unit was recharging, reconnect the unit to the power source and the unit will resume recharging automatically. |
| The last Battery Level LED Indicator flashes twice per second and the unit get shut off afterward | 1. Battery Low Voltage Protection (Battery Voltages9V) | 1. Remove all output connections. 2. Press the Main Power Button to restart the unit and press the Ports On/Off Buttons. 3. If output ports can be turned on, it means that the loads drew too much power from the unit and pulled down the battery voltage. In this case. only connect small loads to the unit. 4. If none of the output ports can be turned on. it means that the unit should not continue powering loads. In this case. recharge the unit as soon as possible to avoid permanent damages to the battery. |
| All Battery Level LED Indicators and the Port Status LED Indicator of USB-A Ports flash twice per second | 1. USB-A Ports Overcurrent Protection (Output Current? 2.6A) 2. USB-A Ports Short-circuit Protection | 1. Remove connections to the USB-A Ports 2. If the USB-A Ports were shorted remove the short circuit immediately. 3. If the loads drew currents that exceed the specifications of USB-A Ports, stop powering those loads via the USB-A Ports. 4. Press the Port On/Off Button to tum on the USB-A Ports again and connect only the loads that conform to the specifications of USB-A Ports to the unit. |
| AJI Battery Level LED Indicators and the Port Status LED Indicator of DC Output Port and CIG Port flash twice per second | 1. DC Output Port Overcurrent Protection (Output Current? 6.5A) 2. CIG Port Overcurrent Protection (Output Current? 12.1A) 3. DC Output Port Short-circuit Protection 4. CIG Port Short-circuit Protection 5. DC Output Port Reverse Current Protection | 1. Remove connections to the DC Output Port and CIG Port. 2. If the DC Output Port or CIG Port was shorted, remove the short circuit immediately. 3. If the loads drew currents that exceed the specifications of DC Output Port or CIG Port. stop powering those loads via the DC Output Port or CIG Port. If If the power source was connected to the DC Output Port. disconnect the power source and recharge the unit via the nr: Input Part instead 5. Press the Port On/Off Button to turn on the DC Output Port and CIG Port again and connect only the loads that conform to the specifications of the DC Output Port and CIG Port to the unit. |
| All Battery Level LED Indicators and the Port Status LED Indicator of USB-C Port flash twice per second | 1. USB-C Port Overcurrent Protection (Output Current 3.3A) 2. USB-C Port Short-circuit Protection | 1. Remove the connection to the USB-C Port 2. If the USB-C Port Port was shorted. remove the short circuit immediately. 3. If the load drew a current that exceeds the specifications of the USB-C Port. stop powering that load via the USB-C Port. 4. Press the Port On/Off Button to turn on the USB-C Port again and connect only the load that conforms to the specifications of the USB-C Port to the unit. |
| All Battery Level LED Indicators and the Port Status LED Indicator of AC Outlets flash twice per second | 1. AC Outlets Overload Protection (Output Powera200W) 2. AC Outlets Short-circuit Protection 3. Inverter Over Temperature Protection (Inverter Temperaturez203°F/95t | 1. Remove all output connections. 2. If the AC Outlets were shorted. remove the short circuit immediately. 3. If the loads drew power that exceeds the specifications of AC Outlets. stop powering those loads via the AC Outlets. 4. If the unit has been operating at high loads or at high temperatures for a long time, cool down the unit to room temperature. 5. Press the Port On/Off Button to turn on the AC Outlets again and connect only the loads that conform to the specifications of AC Outlets to the unit. |
| All Battery Level LED Indicators and the Port Status LED Indicators of all operating output ports flash twice per second | 1. Total Output Overload Protection (Output Power > 200W) | 1. Reallocate the outputs to keep the total output power under 200W. 2. Press the Port On/Off Button(s) to turn on the output port(s) again and connect only the necessary loads to the unit. |
FREQUENTLY ASKED QUESTIONS
- Why doesn’t my PHOENIX 200 power other devices?
First, make sure the unit has been turned on by pressing the Main Power Button. Then check the battery level of the unit. If the last Battery Level LED Indicator is flashing, please recharge the unit as soon as possible. If not, make sure the output ports have been turned on by pressing the corresponding Ports On/Off Buttons. Finally, check if the connected device conforms to the specifications of output ports. If the unit still can’t power your devices, see TROUBLESHOOTING or contact us for help. Refer to the last page of the User Guide for contact information. - Can I replace the battery pack in my PHOENIX 200?
No, the battery pack in PHOENIX 200 is not replaceable. Do not try to dismantle your PHOENIX 200 and replace the battery by yourself. Doing so may cause irreversible damages to the unit and battery explosion. - Is the PHOENIX 200 chainable?
No, the PHOENIX 200 cannot be chained with other power stations. If you are looking for a rechargeable AC power supply with a larger capacity, please visit our official website or contact us for more options. Refer to the last page of the User Guide for contact information. - Is the PHOENIX 200 waterproof?
No, the PHOENIX 200 is not waterproof. Please keep the unit away from moisture. Do not submerge the unit in water or operate the unit in the rain. Doing so may cause short-circuits, electric shocks, and fire. - Why doesn’t the battery of PHOENIX 200 last as long as I expect?
The battery capacity is rated at 0.2C. When the PHOENIX 200 is powering devices that have high power consumption, the internal resistance of the battery will turn more energy into heat and lower battery capacity as a result. When this is the case, you may not get exactly 189Wh of energy.
WARRANTY
- RENOGY products are covered by a 12-month limited warranty from the original purchase date. If any problems occur, please contact us for assistance. Refer to the last page of the User Guide for contact information.
- We only provide after-sales services for products that are sold by RENOGY or retailers and distributors authorized by RENOGY. If you have purchased your unit from other channels, please contact your seller for more information about return and warranty.
- Please register your purchase(s) directly at warranty.renogy.com/support/tickets/new or your region’s corresponding website so that we can stay in touch and contact you in the unlikely event that a safety recall is required.
FCC Compliance:
This device complies with Part 15 of the FCC Rules. Operation is subject to the following two conditions: (1) this device may not cause harmful interference, and (2) this device must withstand any interference received, including interference that may cause undesired operation.
MADE IN CHINA

RENOGY.COM
Renogy reserves the right to change the contents of this manual without notice.
2775 E Philadelphia St, Ontario, CA 91761, USA
909-287-7111
www.renogy.com
[email protected]
References
Renogy® Official- offer all off grid solar system products
Renogy® Official- offer all off grid solar system products
Solar Power Kits & Equipment for Sale | Renogy Australia
Renogy® Canada-Solar Off-grid Products
Renogy Weihnachten Sale Bis Zu 30% Sparen| Renogy DE
High Quality Solar Products | Renogy UK
RENOGY如果新能源 | 让每个人拥有独立清洁的能源
独立型太陽光発電システム専門 | RENOGY JAPANオンラインショップ


















