EMEET C970L HD Webcam with Microphone and Speaker User Guide
Connect to PC

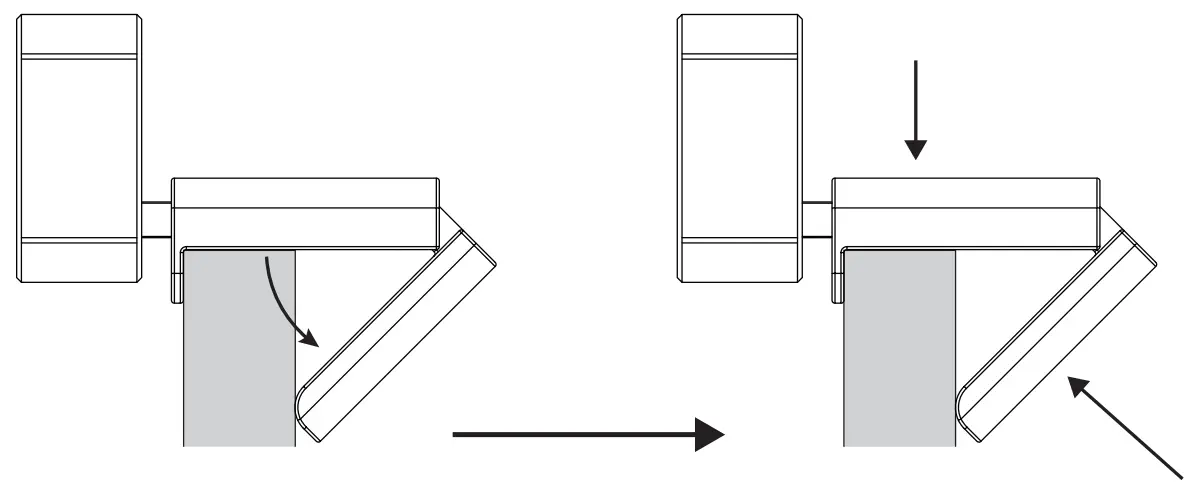
Setting up the webcam

AUTO privacy protection <10°
- AUTO privacy protection ON

>10°
- AUTO privacy protection OFF

LED usage instructions (C970L only)

Mount to tripod

- Tripod is sold separately.
eMeetLink(Windows & macOS)

eMeetLink Windows&macOS)
Image adjustment
Firmware upgrade
eMeetLink software can be downloaded from this website.
EMEET Two(2) Year Limited Warranty
Limited two(2) Year Warranty with EMEET proof of purchase. The warranty does not cover normal wear and tear or damage caused by accidents or misuse. To protect your rights, please keep the proof of purchase. For service, please contact us
:www.emeet.com
Safety Guide
Caution:
To avoid electrical shock, do not open the housing of this product. In addition, users do not need to use the product’s internal parts. To repair the product, please contact qualified maintenance personnel or mail the product to our after-sales department.
- Please read this guide carefully.
- Please keep this guide.
- Please observe all warnings.
- Please follow all instructions.
- When cleaning this product, use a dry cloth only.
- Choking hazard – This product contains small parts. It is not suitable for children under the age of 3.
- Do not put this product near a heat source, such as a heating radiator, hot air regulator, stove, or loudspeakers (including amplifiers) that produce heat.
- Do not use this product if you must remain alert of your surroundings, for example, while driving a car or riding a bike.
- Do not submerge this product in water or expose it to a damp environment for a long period of time. Do not use this product when engaging in water
sports, such as swimming or surfing. - Please protect the USB cable. Do not step on or apply pressure on them. Do not pull on the product’s plug, socket, or cable outlet.
- It is recommended that users use the accessories that have been specified
by the vendor. - When not using the webcam, please unplug the device from the USB port
and turned off the power. - To repair the product, please contact our professional maintenance personnel. If the product is damaged, the product should be repaired. For
example, if the power cable or plug is damaged, liquid has flowed into the product, an object has fallen into the product; the product has come into contact with rain or moisture, the product cannot operate properly, or if the product has fallen.
EU/UK Compliance (Corded equipment only)
Hereby, SHENZHEN EMEET TECHNOLOGY CO., LTD. Corporation declares that this device is in compliance with the essential requirements and other relevant provisions of Directive 2014/30/EU and Electromagnetic Compatibility Regulations 2016. A copy of the EU/UK Declaration of Conformity is available at http://www.emeet.ai/Certificate.html.
CE
The suitable temperature for the product and accessories is 0~40℃. Manufacture Name: SHENZHEN EMEET TECHNOLOGY CO., LTD. Manufacture Address: Unit 2C, Building A6, Guangming Science Park, Guanguang Road 3009, Guangming District, Shenzhen, China.
FCC Compliance
This device complies with part 15 of the FCC Rules. Operation is subject
to the following two conditions:
- this device may not cause harmful interference, and
- this device must accept any interference received, including interference that may cause undesired operation.
NOTE: The manufacturer is not responsible for any radio or TV interference caused by unauthorized modifications or changes to this equipment. Such modifications or changes could void the user’s authority to operate the equipment.
NOTE: This equipment has been tested and found to comply with the limits for a Class B digital device, pursuant to part 15 of the FCC Rules. These limits are designed to provide reasonable protection against harmful interference in a residential installation. This equipment generates uses and can radiate radio frequency energy and, if not installed and used in accordance with the instructions, may cause harmful interference to radio communications. However, there is no guarantee that interference will not occur in a particular installation. If this equipment does cause harmful interference to radio or television reception, which can be determined by turning the equipment off and on, the user is encouraged to try to correct the interference by one or more of the following measures:
- Increase the separation between the equipment and receiver.
- Connect the equipment into an outlet on a circuit different from that to which the receiver is connected.
- Consult the dealer or an experienced radio/TV technician for help.
This device complies with Industry Canada license-exempt RSS
standard(s).
Operation is subject to the following two conditions:
- This device may not cause harmful interference, and
- this device must accept any interference received, including interference that may cause undesired operation of the device.
This Class B digital apparatus complies with Canadian ICES-003.
UK REP:
Obelis UK Ltd, Sandford Gate, East Point
Business Park, Oxford, OX4 6LB, UK
: Obelis S.A.
Boulevard Général Wahis 53, B-1030 Brussels, Belgium
HENZHEN EMEET TECHNOLOGY CO., LTD.
Unit 2C, Building A6, Guangming Science Park, Guanguang Road 3009, Guangming District, Shenzhen,China






















