EMEET SmartCam C965
Quick Start Guide
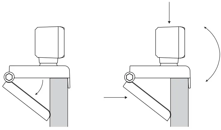
Connect to PC

Setting up the webcam

eMeetlink (Windows&macOS)
- lmage adjustment
- Firmware upgrade
eMeet One (1) Year Limited Warranty
Limited one (1) Year Warranty with eMeet proof of purchase. The warranty does not cover normal wear and tear or damage caused by accidents or misuse To protect your nights, please keep the proof of pur- chase. For service, please contact us
(+1888 959 5320 (£ST 9.00am-6.00pm
[email protected]
www.emeet.al
Safety Guide
Caution:
To avoid electrical shock, do not open the housing of this product. In addition, users do not need to use the product’s internal pants. To repair the product, please contact qualifed maintenance personnel or mail the product to our after-sales department
- Pease read this guide carefully.
- Pease keep this guide.
- Please observe all warnings.
- Please follow all instructions.
- when cleaning this product use a dry cloth only
- Choking hazard This product contains small pants It is not suitable for children under the age of 3.
- Do not put this product near a heat source such as a heating radiator, hot air regulator stove, or loudspeakers (including arnplifers.l that produce heat.
- Do not use this product you must remain alert o your surroundings tor example, wtile drying acar or niding a bike.
- Do not submerge this product in water or expose it to a damp environment for a long period of time. Do not use this product when engaging in water sports, such as swimming or surfing.
- Please protect the USB cable. Do not step on or apply pressure on them. Do not pull on the product’s plug, socket, or cable outlet.
- It is recommended that users use the accessories that have been specified by the vendor.
- When not using the webcam, please unplug the device from the USB port and turned off the power.
- To repair the product, please contact our professional maintenance personnel. If the product is damaged, the product should be repaired. For example, if the power cable or plug is damaged, liquid has flowed into the product, an object has fallen into the product; the product has come into contact with rain or moisture, the product cannot operate properly, or if the product has fallen.
EU/UK Compliance (Corded equipment only)
Hereby, SHENZHEN EMEET TECHNOLOGY CO, LTD. Corporation declares that this device is in compliance with the essential requirements and other relevant provisions of Directive 2014/30/EU and Electromagnetic Compatibility Regulations 2016. A Copy of the EU/UK Declaration of Conformity is available at http://www.emeet.a/Certifcate.html.
CE
The suitable temperature for the product and accessories is 0~40 ºC.
Manufacture Name: SHENZHEN EMEET TECHNOLOGY CO, LTD.
Manufacture Address: Unit 2C, Building
A6, Guangming Science Park,
Guanguang oad 3009, Guangming
District, Shenzhen, China
FCC Compliance
This device complies with part 15 of the FCC Rules. Operation is subject to the following two conditions:
(1)this device may not cause harmful interference, and
(2) this device must accept any interference received, including interference that may cause undesired operation
NOTE: The manufacturer is not responsible for any radio or TV interference caused by unauthorized modifications or changes to this equipment. Such modifications or changes could void the user’s authority to operate the equipment.
NOTE: This equipment has been tested and found to comply with the limits for a Class B digital device, pursuant to part 15 of the FCC Rules. These limits ate designed to provide reasonable protection against harmful interference in a residential installation. This equipment generates uses and can radiate radio frequency energy and, if not installed and used in accordance with the instructions, may cause harmful interference to radio communications.
However, there is no guarantee that interference will not occur in a particular installation, If this equipment does cause harmful interference to radio or television reception, which can be determined by turning the equipment off and on, the user is encouraged to try to correct the interference by one or more of the following measures increase the separation between the equipment and receiver.
– Connect the equipment into an outlet on a circuit different from that to which the receiver is connected.
Consult the dealer or an experienced radio/TV technician for help.
ISED Compliance
This device complies with industry
Canada license-exempt RSS standard(s).
Operation is subject to the following two conditions:
(1) This device may not cause harmful interference, and (2) this device must accept any interference received, including interference that may cause undesired operation of the device.
UK REP.
0bolls UK Ltd Sanford Gate, 0Mord, 0X4 6LB8, UK
EC REP
Obelis SA Boulevard
General wahis 53,8- 1030 Brussels Belgium
| Manufacturer | |
| EAR |
ROHS
| US : + 1 8889595320 | 9:00am 5:00pm/EST | |
| JP : + 81 8008051955 | 10:00am 6:00pm/JST | |
| CN: 400 8338 051 | 9:00am 5:00pm/Bri |
– Copyright © Shenzhen eMeet Technology Co., Ltd. eMeet shall not be held liable for any errors which may be contained in this manual. The information contained in this manual is subject to change without notice.




















