Emmerich Verk DA40 Digital
Angle Finder

User Manual
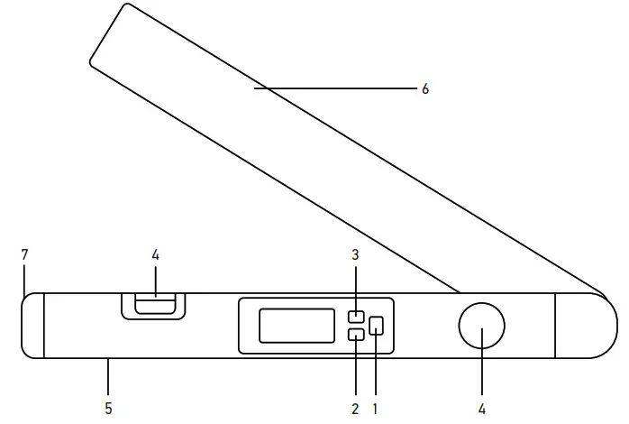
DA40 Digital Angle Finder

- POWER button
- HOLD/BACKLIGH Button
- ITER button
- Bubble level
- Base leg
- Fold-out leg
- Battery compartment
Getting started
- Open the battery compartment cover and insert 1 pc 9V battery according to the correct polarity marks. Close the cover.
- Press the POWER button to turn the device on and off. The device will shut down automatically in 5 minutes of no activity.
Usage
- Hold/Backlight mode. Press the HOLD/BACKLIGHT button to enter the hold mode and freeze the readings. Press the HOLD/BACKLIGHT button again to exit the hold mode. The measured value will change when you move the fold-out leg. Press and hold the HOLD/BACKLIGHT button to turn the backlight on and off.
- Miter mode. The MITER button converts the measured angle into the miter angle. This measurement is used for setting up miter saws in order to make miter cuts.
- Transferring angles. Place the device in the desired position against the workpiece. Note that the fold-out leg and the base leg should not move. After pressing the HOLD/BACKLIGHT button, press the MITER button.
- Angle measurement mode. To measure a desired angle, place the fold-out leg and the base leg flat on the surface around it. The measured angle value will appear on the display. If you press the HOLD/BACKLIGHT button, the measured value will remain on the display until the button is pressed again.
Specifications
| Resolution | ±0,01° |
| Length | 450mm |
| Measuring range | 0… 230° |
| Units of measurement | ° |
| Accuracy | ±0.5° |
| Auto-off | 5 min. |
| Operating temperature range | 0… + 50°C / 32…122°F |
| Operating storage range | –10…+50 °C / 14…122°F |
| Power supply | 1 pc 9V battery |
The manufacturer reserves the right to make changes to the product range and specifications without prior notice.
Care and maintenance
Use the device only as specified in the user manual. Keep away from children. Do not try to disassemble the device on your own for any reason. For repairs and cleaning of any kind, please contact your local specialized service center. Protect the device from sudden impact and excessive mechanical force. Do not use the product in explosive environment, close to flammable materials. Store the device in a dry cool place. Only use accessories and spare parts for this device that comply with the technical specifications. Never attempt to operate a damaged device or a device with damaged electrical parts! If a part of the device or battery is swallowed, seek medical attention immediately.
Battery safety instructions
Always purchase the correct size and grade of battery most suitable for the intended use. Always replace the whole set of batteries at one time; taking care not to mix old and new ones, or batteries of different types. Clean the battery contacts and also those of the device prior to battery installation. Make sure the batteries are installed correctly with regard to polarity (+ and –). Remove batteries from equipment that is not to be used for an extended period of time. Remove used batteries promptly. Never short-circuit batteries as this may lead to high temperatures, leakage, or explosion. Never heat batteries in order to revive them. Do not disassemble batteries. Remember to switch off devices after use. Keep batteries out of the reach of children, to avoid risk of ingestion, suffocation, or poisoning. Utilize used batteries as prescribed by your country’s laws.
Levenhuk International Lifetime Warranty
All Levenhuk telescopes, microscopes, binoculars, and other optical products, except for their accessories, carry a lifetime warranty against defects in materials and workmanship. A lifetime warranty is a guarantee on the lifetime of the product on the market. All Levenhuk accessories are warranted to be free of defects in materials and workmanship for six months from the purchase date. The warranty entitles you to the free repair or replacement of the Levenhuk product in any country where a Levenhuk office is located if all the warranty conditions are met.
For further details, please visit: www.levenhuk.com/warranty
If warranty problems arise, or if you need assistance in using your product, contact the local Levenhuk branch.

Levenhuk Inc.
(USA): 928 E 124th Ave. Ste D, Tampa, FL 33612,
USA, +1-813-468-3001, [email protected]
Levenhuk Optics servo. (Europe): V Chotejně 700/7, 102 00 Prague 102,
Czech Republic, +420 737-004-919, [email protected]
Levenhuk®, Emmerich® are registered trademarks of Levenhuk, Inc.
© 2006–2023 Levenhuk, Inc. All rights reserved.
www.levenhuk.com
20230411
![]()
References
Доживотна гаранция на Levenhuk – Официален уебсайт на Levenhuk в България
Levenhuk optical instruments store | Levenhuk - best optical equipment
Levenhuk lifetime warranty details | Levenhuk - best optical equipment
Doživotní záruka společnosti Levenhuk – Oficiální webové stránky Levenhuk pro Českou republiku
Levenhuk Lebenslange Garantie – Die offizielle Website von Levenhuk in Deutschland
Garantía internacional de por vida Levenhuk – Compre desde el sitio web oficial de Levenhuk en España
Levenhuk Lifetime Warranty – Levenhuk’s official website in USA
A Levenhuk élettartamra szóló szavatossága – A Levenhuk hivatalos magyarországi weboldala
Gwarancja bezterminowa Levenhuk – Oficjalna witryna internetowa Levenhuk w Polsce
Поддержка - Гарантийное обслуживание Левенгук - Levenhuk Russia


















