GAM 270 MFL Professional Digital Angle Finder and Inclinometer

Product Information: GAM 270 MFL Professional
The GAM 270 MFL Professional is a digital angle and tilt meter manufactured by Robert Bosch Power Tools GmbH in Germany. The product has a folding arm, a locking wheel, and a base arm for stability. The device has a battery compartment with a battery cover lock, an angle measurement display, and a tilt measurement display.
The device has the following technical specifications:
- Model: GAM 270 MFL 3 601 K76 400
- Measuring range: 0-2000 m
- Laser class: 2
- Laser output: <1 mW, 650 nm
- Accuracy: 0.6 mrad (full angle)
- Operating time without laser: up to 30 minutes
- Length: 600 mm
- Weight: 1.7 kg
Product Usage Instructions
Safety Instructions
Only qualified professionals should repair the measuring tool using original replacement parts to ensure the safety of the measuring tool.
Assembly
Insert or replace batteries as indicated in image A.
Operation
- Do not leave the device unattended when turned on.
- When not using the laser, turn it off to conserve energy.
Standard Measurement Mode
- Press and hold the ON button to turn on the device.
- Select the “Standard Measurement” mode by pressing the “MTR” button once.
- Place the device on the object to be measured and adjust the angle using the folding arm and locking wheel.
- The angle measurement is displayed on the angle measurement display and the tilt measurement is displayed on the tilt measurement display.
Simple Miter Mode
- Press and hold the ON button to turn on the device.
- Select the “Simple Miter” mode by pressing the “MTR” button twice.
- Place the device on the object to be measured and adjust the angle using the folding arm and base arm.
- The angle measurement is displayed on the angle measurement display and the tilt measurement is displayed on the tilt measurement display.
Double Miter Mode
- Press and hold the ON button to turn on the device.
- Select the “Double Miter” mode by pressing the “MTR” button
three times. - Place the device on the object to be measured and adjust the angle using the folding arm and base arm.
- The angle measurement is displayed on the angle measurement display and the tilt measurement is displayed on the tilt measurement display.
Spring Angle Storage Mode
- Press and hold the ON button to turn on the device.
- Select the “Spring Angle Storage” mode by pressing the “SPR” button once.
- Place the device on the object to be measured and adjust the angle using the folding arm and locking wheel.
- Press and hold the “SPR” button to save the spring angle measurement.
Tilt Measurement Mode
- Press and hold the ON button to turn on the device.
- Select the “Tilt Measurement” mode by pressing the “CNR” button once.
- Place the device on the object to be measured and adjust the angle using the folding arm and locking wheel.
- The tilt measurement is displayed on the tilt measurement display.
Calibration Note
If the measuring tool is not rotated around the axis shown in the image during calibration, calibration cannot be completed successfully.
Safety Instructions
All instructions must be read and observed in order for the measuring tool to function safely. The safeguards integrated into the measuring tool may be compromised if the measuring tool is not used in accordance with these instructions. Never make warning signs on the All instructions must be read and observed in order for the measuring tool to function safely. The safeguards integrated into the measuring tool may be compromised if the measuring tool is not used in accordance with these instructions. Never make warning signs on the
- Warning! If operating or adjustment devices other than those specified here are used or other procedures are carried out, this can lead to dangerous exposure to radiation.
- The measuring tool is delivered with a laser warning sign (marked in the illustration of the measuring tool on the graphics page).
- If the text of the laser warning label is not in your national language, stick the provided warning label in your national language over it be-fore operating for the first time.
Do not direct the laser beam at persons or animals and do not stare into the direct or reflected laser beam your-self. You could blind somebody, cause accidents or damage your eyes.
- If laser radiation hits your eye, you must close your eyes and immediately turn your head away from the beam.
- Do not make any modifications to the laser equipment.
- Do not use the laser goggles (accessory) as protective goggles. The laser goggles make the laser beam easier to see; they do not protect you against laser radiation.
- Do not use the laser goggles (accessory) as sunglasses or while driving. The laser goggles do not provide full UV protection and impair your ability to see colors.
- Have the measuring tool serviced only by a qualified specialist using only original replacement parts. This will ensure that the safety of the measuring tool is maintained.
- Do not let children use the laser measuring tool unsupervised. They could unintentionally blind themselves or other persons.
- Do not use the measuring tool in explosive atmospheres which contain flammable liquids, gases or dust. Sparks may be produced inside the measuring tool, which can ignite dust or fumes.
- When sawing workpieces for which you have determined the angle using this measuring tool, always strictly follow the safety instructions and working advice for the saws in use (including instructions on positioning and clamping the workpiece). When the required angles cannot be set on a certain saw or saw type, alternative sawing methods will need to be applied. Extremely acute (sharp) angles can be cut using a taper jig with a table saw or a circular saw.
Product Description and Specifications
Please observe the illustrations at the beginning of this operating manual.
Intended Use
The measuring tool is intended for measuring and transferring grades and angles, calculating simple and compound mitre angles, and checking and aligning horizontals and verticals.
The measuring tool is suitable for indoor and outdoor use.
This product is a consumer laser product in accordance with EN 50689.
Product Features
The numbering of the product features shown refers to the illustration of the measuring tool on the graphic page.
- Fold-out leg
- Viewing window for display
- Locking wheel
- Base leg
- Battery compartment cover
- Battery compartment cover locking mechanism
- Display for angle measurement
- Display for grade measurement
- Level for horizontal alignment
- Level for vertical alignment
- Laser beam outlet aperture
- Laser warning label
- Serial number
- On/off button
- Button MTR1 for simple mitre
- Button MTR2 for compound miter
- Button Hold
- On/off button for laser
- Audio signal button
- Calibration button/unit of measurement change
- Leg extension
- Protective bag



Display Elements
- Indicator H for saved value Hold
- Battery indicator
- Bevel angle indicator BVL
- Horizontal mitre angle indicator MTR
- Corner angle indicator CNR
- Slope angle indicator SPR
- Measured value for angle measurement
- Upwards alignment aid
- Downwards alignment aid
- Laser operation indicator
- Unit of measure mm/m
- Unit of measure °; %
- Grade measurement value
- Indicator for audio signal
Technical Data
Digital angle and grade measuring device GAM 270 MFL
| Article number | 3 601 K76 400 |
| “HOLD” Function | ● |
| “Simple mitre” operating mode | ● |
| “Compound mitre” operating mode | ● |
| “Grade measurement” Operating Mode | ● |
| Display Illumination | ● |
| Calibration | ● |
| Measuring range of angle measurement | 0° to 270° |
| Measuring accuracy of angles | ±0.1° |
| Smallest display unit | 0.1° |
| Measuring range of grade measurement | 0–360° (4 × 90°) |
Accuracy of grade measurement
| – 0°/90° | ±0.05° |
| – 1°–89° | ±0.1° |
| Laser working rangeA) | 30 m |
| Vertical levelling accuracy of laser | ±0.5 mm/m |
| Horizontal levelling accuracy of laser | ±1 mm/m |
| Clearance of laser exit – bottom edge of measur- ing tool | 30 mm |
| Operating temperature | –10 °C to +50 °C |
| Storage temperature | –20 °C to +70 °C |
| Max. altitude | 2000 m |
| Relative air humidity max. | 90 % |
| Pollution degree according to IEC 61010-1 | 2B) |
| Laser class | 2 |
| Laser type | < 1 mW, 650 nm |
| C₆ | 1 |
| Laser point divergence | 0.6 mrad (full angle) |
| Batteries | 4 × 1.5 V LR6 (AA) |
| Operating lifetime (alkali-manganese batteries) approx.C) | 50 h |
| Automatic switch-off after approx. | 30 min |
| Leg length | 600 mm |
| Weight according to EPTA-Procedure 01:2014 | 1.7 kg |
| Dimensions (length × width × height) | 684 × 52 × 60 mm |
IP54 (dust and splash-proof) ●
- The working range may be reduced by unfavorable environmental conditions (e.g. direct sunlight).
- Only non-conductive deposits occur, whereby occasional temporary conductivity caused by condensation is expected.
- Operating duration without laser
The serial number (13) on the type plate is used to clearly identify your measuring tool.
Assembly
Inserting/Replacing Batteries (see figure A)
It is recommended that you use alkaline manganese batteries to operate the measuring tool.
To open the battery compartment cover (5), press the locking mechanism (6) and fold the battery compartment cover up. Insert the batteries.
When doing so, ensure that the polarity is correct and corresponds to the diagram on the battery compartment cover.
Battery Indicator
The battery indicator (b) always indicates the current battery status:
Indicator Capacity
Always replace all the batteries at the same time. Only use batteries from the same manufacturer and which have the same capacity.
- Take the batteries out of the measuring tool when you are not using it for a prolonged period of time. The batteries can corrode and self-dis-charge during prolonged storage in the measuring tool.
- Make sure to switch the laser off before changing the batteries. An accidentally switched on laser can blind other persons.
Mounting the Leg Extension
Slide the leg extension (21) from the front onto the fold-out leg (1). Slide the leg extension as far as possible over the joint of the measuring tool.
Operation
Starting Operation
- Protect the measuring tool from moisture and direct sunlight.
- Do not expose the measuring tool to any extreme temperatures or variations in temperature. For example, do not leave it in a car for ex-tended periods of time. In case of large variations in temperature, allow the measuring tool to adjust to the ambient temperature before putting it into operation. The precision of the measuring tool may be compromised if exposed to extreme temperatures or variations in temperature.
- Keep the supporting surfaces and contact edges of the measuring tool clean. Protect the measuring tool against shock and impact. Dirt particles or deformations can lead to faulty measurements.
- Avoid hard knocks to the measuring tool or dropping it. Always carry out an accuracy check before continuing work if the measuring tool has been subjected to severe external influences (see “Accuracy Check and Calibration of the Measuring Tool”, page 23).
Switching On and Off
- Never leave the measuring tool unattended when switched on, and ensure the measuring tool is switched off after use. Others may be blinded by the laser beam.
To switch on the measuring tool, press the on/off button (14).
If the indicator H (a) lights up, a value from the last measurement is still saved. This value can be deleted by briefly pressing the on/off button (14). To switch off the measuring tool, press the on/off button (14).
When no activity is performed on the measuring tool for approx. 30 minutes, the measuring tool automatically switches off to save the batteries.
Aligning with the Spirit Levels
The measuring tool can be aligned horizontally with spirit level (9) and vertically with spirit level (10).
The measuring tool can also be used as a carpenter’s spirit level for checking vertical and horizontal lines. For this, place or hold the measuring tool against the surface subject to checking.
Rotating the Display
When you rotate the measuring tool 180°, the display will also rotate automatically to make the displayed value easier to read.
“Normal measuring” Operating Mode
After switching on, the measuring tool is always in “normal measuring” operating mode.
In “Normal Measuring” mode, angle measurement and grade measurement are carried out simultaneously.
Measuring Angles (see figures C–D)
Place the fold-out leg (1) and the base leg (4) flat on the surfaces adjacent to the angle. The displayed measured value (g) corresponds with the interior angle w between the base leg and the fold-out leg.
This measured value is shown on the display (7) until you change the angle between fold-out leg (1) and base leg (4).

Transferring Angles (see figure E)
Measure the angle to be transferred by placing the fold-out leg and base leg on the target angle.
The position of the legs can be locked mechanically by tightening the locking wheel (3). The displayed value is not saved.
Place the measuring tool in the required position against the workpiece. Use the legs as a straight edge to transfer the angle.
Storing the Measured Value
Press the Hold (17) button to store (H) the current measured value (g). The indicator (a) flashes in the display for confirmation. The currently dis-played value is frozen and will not change even when the leg is moved. If you press the memory button Hold again, the indicator (a) will be shown permanently on the display. The displayed value will change depending on the leg movement. The previously frozen value is now saved in the background. If the memory button Hold (17) is pressed again, the previously saved value is displayed and the indicator (a) flashes.
To delete the contents of the memory, briefly press the on/off button (14). To be able to save a new value, a previously saved value has to be deleted. Saved values cannot be overwritten.
The held value is saved even when the measuring tool is switched off (manually or automatically). However, it is deleted when changing batteries or when the batteries are empty.
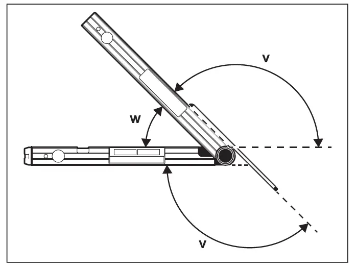
Measuring with Leg Extension (see figures G–H)
The leg extension (21) makes it possible to measure angles when the con-tact surface is shorter than the fold-out leg (1).
Place the base leg (4) and the leg extension flat on the surfaces to be measured.

The measured value of the angle w between the base leg and fold-out leg is indicated in the display. The required angle v between the base leg and leg extension is calculated as follows:
v = 180° – w
“Simple Mitre” Operating Mode
The “Simple mitre” measurement is used to calculate the cutting angle MTR when two workpieces with the same mitre have to form any outer angle x°smaller than 180° (e.g. for skirting boards, banister columns or picture frames).
The “simple mitre” operating mode is activated by pressing the
button MTR1 (15). The displayed value is always used for the calculation of the MTR. If a saved value is being displayed (indicator (a) flashes), the cal-culation will be performed with the saved value regardless of the position of the legs.

When workpieces are to be fitted into a corner (e.g. for skirting boards), measure the corner angle x° by positioning the fold-out leg and the base leg. For given angles (e.g. picture frames), open the fold-out leg and the base leg until the required angle is indicated in the display.

The mitre angle MTR, by which the two workpieces are to be shortened, is calculated. For these mitre/bevel cuts, the saw blade is perpendicular to the workpiece (the bevel angle is 0°).

Press the button MTR1 (15). The calculated horizontal mitre angle MTR, which has to be set on the chop and mitre saw, and the indicator MTR will be shown on the display.
Press the button MTR1 (15) to return from the “simple mitre” operating mode to the “standard measurement” operating mode.
Briefly pressing the on/off button (14) will also take you back to the “stand-ard measurement” operating mode. However, any saved Hold value will be deleted when doing so.
Note: The calculated mitre angle MTR can only be transferred for mitre saws, for which the setting for vertical cuts is 0°. When the setting for ver-tical cuts is 90°, the angle for the saw must be calculated as follows:
90° – displayed angle MTR = angle to be set for the saw.
“Compound Mitre” Operating Mode
The “Compound mitre” (“Compound MTR”) measurement is used to calcu-late mitre and bevel angles when two workpieces with multiple angles (e.g. crown mouldings) have to join precisely.
The “compound mitre” operating mode is activated by pressing the
button MTR2 (16). The displayed value of the leg positions is always used for the calculation of the angles. Any saved Hold value will be deleted when the “compound mitre” operating mode is ended.
Carry out the worksteps exactly in the given sequence.
SPR: Storing the spring angle

The spring angle can be saved as follows:
- Open the fold-out leg and base leg until the required spring angle is shown on the display.
- Measure the spring angle if it is unknown. For this, place the workpiece to be measured between the fold-out leg and the base leg.
When measuring particularly narrow or small workpieces with the meas-uring tool is not possible, use auxiliary equipment such as a bevel angle or mitre rule, and then adjust the angle on the measuring tool.
Press the MTR2 (16) button to store the measured spring angle for the com-pound mitre. SPR and the current angle will appear on the display.
When the angle is greater than 90° yet less than 180° when pressing the button MTR2 (16), the slope angle SPR is automatically converted as follows:
SPR = 180° – measured or set angle.
CNR: Storing the corner angle
To measure the corner angle, place the fold-out and base legs flat against the walls or set a known corner angle on the measuring tool.
Press the MTR2 (16) button again to store the measured corner angle for the compound mitre. CNR and the current angle will appear on the display.
MTR: Calculating the mitre angle

Press the MTR2 (16) button again. MTR and the calculated mitre angle for the mitre saw are indicated on the display. The mitre angle is used to define the rotation of the saw table (MTR).
BVL: Calculating the bevel angle
Press the MTR2 (16) button again. BVL and the calculated bevel angle for the mitre saw are indicated on the display.
The bevel angle is used to define the incline of the saw blade (BVL).
If necessary, the mitre and bevel angle can be retrieved again, but only if the on/off button (14) has not been pressed to change the operating mode. Press the button MTR2 (16) to retrieve the angle. In the display, MTR and the calculated mitre angle appear; upon pressing the button MTR2 (16) again, BVL and the bevel angle appear.
Press the button MTR1 (15) for less than one second to switch back from the “compound mitre” operating mode to the “standard measurement” operating mode.
Notes on “Compound Mitre” Operating Mode
The calculated mitre angle MTR can only be transferred for mitre saws, for which the setting for vertical cuts is 0°. When the setting for vertical cuts is 90°, the angle for the saw must be calculated as follows:
90° – displayed angle MTR = angle to be set for the saw.
Grade Measurement Operating Mode
Switching the Laser On and Off
To switch on the laser beam, press the laser on/off button (18).
- Do not direct the laser beam at persons or animals and do not stare into the laser beam yourself (even from a distance).
To switch off the laser beam, press the laser on/off button again (18).
- Never leave the measuring tool unattended when switched on, and ensure the measuring tool is switched off after use. Others may be blinded by the laser beam.
When not using the laser, switch it off in order to save energy.
Changing the Measuring Unit (see figure B)
You can change between the units of measure “°”, “%” and “mm/m” at any time. For this, press the button for changing the unit of measure (20) as many times as needed for the required unit of measure to be displayed in the indicator (k) or (m). The current measured value (n) will be automatically converted.
The unit-of-measure setting is retained when switching the measuring tool on or off.

Switching the Audio Signal On and Off
The audio signal can be switched on or off with the audio signal button (19). When the audio signal is switched on, the indicator for the audio signal (o) appears in the display.
The signal tone setting is maintained after switching the measuring tool off and on again.
Measured Value Indicator and Alignment Aids (see figure F)
With each movement of the measuring tool, the measured value (n) is up-dated. If the measuring tool has been moved significantly, wait until the measured value no longer changes before taking note of the value. Depending on the position of the measuring tool, the measured value and the unit of measure are indicated in the display rotated by 180°. Thus, the indicator can also be read when working overhead.
The measuring tool uses alignment aids (h)/(i) on the display to show in which direction it has to be tilted in order to reach the target value. In standard measurements the target value is the horizontal or vertical, in the Hold function it is the stored measuring value.
If the target value is reached, the arrows for the alignment aids (h)/(i) go out and, provided the audio signal is switched on, a continuous audio signal will be played.

Contact-Free Measuring/Transferring of Grades
With the laser, it is possible to measure and transfer grades contact-free, even over greater distances.
- Do not direct the laser beam at persons or animals and do not stare into the laser beam yourself (even from a distance).
- Always use the centre of the laser point for marking. The size of the laser point changes with the distance.
To measure grades, align the measuring tool so that the laser beam runs alongside the surface to be measured. To transfer grades, align the measuring tool so that the desired grade is displayed as the measured value (n), and mark the grade on the target surface using the laser point.
Note: When transferring grades via the laser, take into consideration that the laser comes out 30 mm above the bottom edge of the measuring tool.
Accuracy Check and Calibration of the Measuring Tool
Check the accuracy of grade measurement
Check the accuracy of the measuring tool prior to critical measurements, after intense variations in temperature as well as after heavy impact. Before measuring grades < 45°, the accuracy check should take place on a level and roughly horizontal surface; before measuring grades > 45°, on a level and roughly vertical surface.
Switch on the measuring tool and place it on the horizontal/vertical surface. Select the measuring unit ° (see “Changing the Measuring Unit
(see figure B)”, page 23).
Wait for 10 s and note down the measured value (n) for the grade measurement.
Rotate the measuring tool by 180° around its vertical axis. Wait for another 10 s and note down the second measured value (n) for the grade measurement.
- Calibrate the measuring tool only when the difference between both measured values is greater than 0.1°.
Calibrate the measuring tool in the position (vertical or horizontal), in which the difference of the measured values has been determined.
The calibration can be performed only with the bottom side.
Calibration of Horizontal Surfaces for Grade Measurement (see figure I) The surface onto which you place the measuring tool must not deviate from the horizontal surface by more than 5°. If the deviation is greater, the calibration process is discontinued with the indicator ‑‑‑.
- Switch on the measuring tool and position it on the horizontal sur-face so that the spirit level for horizontal alignment (9) faces up-wards and the display (7) faces you. Wait 10 s.
- Then press and hold the calibration button UnitsCal (20) for approx. 2 s until CAL1 appears briefly on the display. Then the measured value (n) will flash on the display.
- Turn the measuring tool 180° around the vertical axis so that the spirit level for horizontal alignment (9) still faces upwards but the display (7) is facing away from you. Wait 10 s.
- Then press the calibration button UnitsCal (20) again. CAL2 will be shown briefly on the display. Then the measured value (n) (no longer flashing) will appear on the display. The measuring tool has now been recalibrated for this supporting surface.
Note: If the measuring tool is not rotated around the axis described in step 3 , calibration may not be completed.
Calibration of Vertical Surfaces for Grade Measurement (see figure J)
The surface onto which you place the measuring tool must not deviate from the vertical surface by more than 5°. If the deviation is greater, the calibration process is discontinued with the indicator ‑‑‑.
- Switch on the measuring tool and position it on the vertical surface so that the spirit level for vertical alignment (10) faces upwards and the display (7) faces you. Wait 10 s.
- Then press the calibration button UnitsCal (20) for approx. 2 s until CAL1 appears briefly on the display. Then the measured value (n) will flash on the display.
- Turn the measuring tool 180° around the horizontal axis so that the spirit level for vertical alignment (10) faces downwards and the display (7) is facing away from you. Wait 10 s.
- Then press the calibration button UnitsCal (20) again. CAL2 will be shown briefly on the display. Then the measured value (n) (no longer flashing) will appear on the display. The measuring tool has now been recalibrated for this supporting surface..

Note: If the measuring tool is not rotated around the axis described in step 3 , calibration may not be completed.
Maintenance and Service
Maintenance and Cleaning
Keep the measuring tool clean at all times.
Never immerse the measuring tool in water or other liquids.
Wipe off any dirt using a damp, soft cloth. Do not use any detergents or solvents.
The areas around the outlet aperture of the laser in particular should be cleaned on a regular basis. Make sure to check for lint when doing this.
When the measuring tool is exposed to rain for an extended period, its function may be impaired. However, after completely drying off, the measuring tool is ready for operation. No calibration is required.
Only store and transport the measuring tool in the protective bag (22).
If the measuring tool needs to be repaired, send it off in the protective bag (22).
After-Sales Service and Application Service
Our after-sales service responds to your questions concerning maintenance and repair of your product as well as spare parts. You can find explosion drawings and information on spare parts at:
www.bosch-pt.com
The Bosch product use advice team will be happy to help you with any questions about our products and their accessories.
In all correspondence and spare parts orders, please always include the 10‑digit article number given on the nameplate of the product.
Malaysia
Robert Bosch Sdn. Bhd.(220975-V) PT/SMY
No. 8A, Jalan 13/6
46200 Petaling Jaya
Selangor
Tel.: (03) 79663194
Toll-Free: 1800 880188
Fax: (03) 79583838
E-Mail: [email protected]
www.bosch-pt.com.my
Great Britain
Robert Bosch Ltd. (B.S.C.)
P.O. Box 98
Broadwater Park
North Orbital Road
Denham Uxbridge
UB 9 5HJ
At www.bosch-pt.co.uk you can order spare parts or arrange the collection of a product in need of servicing or repair.
Tel. Service: (0344) 7360109
E-Mail: [email protected]
You can find further service addresses at: www.bosch-pt.com/serviceaddresses
Disposal
Measuring tools, accessories and packaging should be recycled in an environmentally friendly manner.
Do not dispose of measuring tools or batteries with household waste.
Only for EU countries:
According to the Directive 2012/19/EU on waste electrical and electronic equipment and its transposition into national law, measuring tools that are no longer usable, and, according to the Directive 2006/66/EC, defective or drained batteries must be collected separately and disposed of in an environmentally correct manner.
If disposed incorrectly, waste electrical and electronic equipment may have harmful effects on the environment and human health, due to the potential presence of hazardous substances.
Only for United Kingdom:
According to The Waste Electrical and Electronic Equipment Regulations 2013 (SI 2013/3113) (as amended) and the Waste Batteries and Accumulators Regulations 2009 (SI 2009/890) (as amended), products that are no longer usable must be collected separately and disposed of in an environ-mentally friendly manner.
References
Invented for life | Bosch Global
My Blog
Početna strana | Bosch u Srbiji
pt.com
Skånevik Ølen Kraftlag AS
baohanhbosch-pt.com.vn
ЕлектроінÑтрументи Bosch | Bosch Professional
ÐлектроинÑтрументы Bosch | Bosch Professional
Bosch Power Tools | Bosch Power Tools
Bosch Power Tools | Bosch Power Tools
Select your country | Bosch Power Tools
首页
Bosch Power Tools | Bosch Power Tools
Bosch Power Tools | Bosch Power Tools
Dụng cụ điện cầm tay Bosch | Dụng cụ điện cầm tay Bosch
Електроинструменти на Bosch | Електроинструменти на Bosch
Service worldwide
Elektrické nářadí Bosch | Elektrické nářadí Bosch
Bosch Elektrowerkzeuge und Zubehör | Bosch Elektrowerkzeuge
Bosch el-værktøj | Bosch el-værktøj
Bosch-sähkötyökalut | Bosch-sähkötyökalut
Outillage électroportatif Bosch | Outillage électroportatif Bosch
Ηλεκτρικά εργαλεία Bosch | Ηλεκτρικά εργαλεία Bosch
Bosch elektromos kéziszerszámok | Bosch elektromos kéziszerszámok
Elektronarzędzia Bosch | Elektronarzędzia Bosch
Scule electrice Bosch | Scule electrice Bosch
Bosch električni alati | Bosch električni alati
bosch-pt.ru
Elektrické náradie Bosch | Elektrické náradie Bosch
ホーム | 日本のボッシュ・グループ
บ๊อช ประเทศไทย | บ๊อช ประเทศไทย
Invented for life | Bosch Global
Contato | Bosch no Brasil
Ana Sayfa | Bosch Türkiye
Početna | Bosch u Hrvatskoj


















