PARHyS Permanent Analysis of Renewable Hydrogen with Sensors

Permanent Analyses of Renewable Hydrogen with Sensors
This document provides information and instructions for using PARHyS, a device used to recover gas from the ground via a balloon and measure various components of the gas, including hydrogen, using gas chromatography. PARHyS uses the LoRaWan network (public or private) and Bluetooth communications.
Hazard warnings and safety symbols
Information in this manual may affect the safety of users. If the equipment is used in a manner not specified by the manufacturer, the protection provided by the equipment may be impaired. Important/useful information and instructions are shown clearly throughout the manual in a note format.
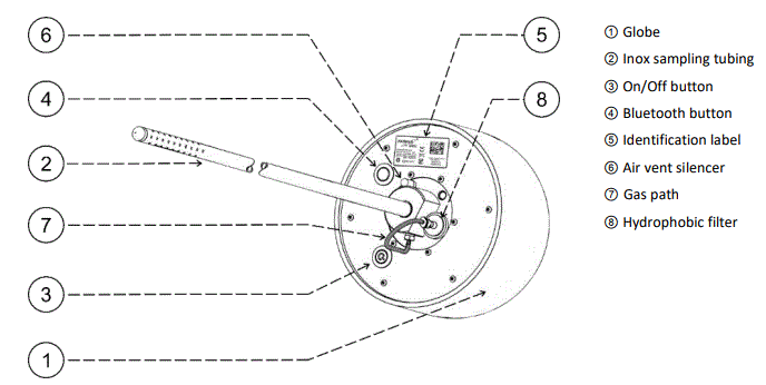
System Components
The PARHyS sensor includes the following components:
- Globe
- Inox sampling tubing
- On/Off button
- Bluetooth button
- Identification label
- Air vent silencer
- Gas path
- Hydrophobic filter
Installation Instructions
Before installation, ensure that the path gas tube is not crushed and is around 20 cm up to the soil.
Follow these steps to install PARHyS into the soil:
- Push the On/Off button.
- Wait for 2 LED flashes consecutively.
- Rapid flashing of power will occur when PARHyS sensor is started (around xx seconds).
- Push the Bluetooth button again if necessary since for energy saving, the BLE switches off.
To install the balloon/bag, follow these steps:
- Push the Bluetooth button at the bottom of the globe.
- Start up the Smartphone Apps Nanotech.
- Stop the automatic data transmission if in progress via the Apps.
- Place the balloon/bag at the vent either by:
- Inserting a latex balloon directly onto the air vent silencer, or
- Unscrewing the air silencer and screwing a balloon/bag with an M5x0.8 male connector directly to the vent filter.
Problems and Solutions During Installation
If PARHyS sensor does not activate after pushing the On/Off button, refer to the troubleshooting section of the manual for solutions.
Hazard warnings and safety symbols
| warning | Information in this manual that may affect the safety of users. If the equipment is used in a manner not specified by the manufacturer, the protection provided by the equipment may be impaired |
| note | Important/useful information and instructions are shown clearly throughout the manual in a note format. |
OBJECTIVE
- Hydrogen is a key component of the energy transition movement and natural hydrogen could be part of it.
- Indeed, emanations coming out of the ground have been detected in several places in the world.
- However, this molecular hydrogen is extremely diffuse and requires dedicated instrumentation to be detected.
- PARHyS instrument is designed to remotely and continuously monitor natural hydrogen emanations in the soil at a depth up to 1 meter. This measurement may be realized at regular interval (1h to 24h).
- PARHyS use LoRaWan network (public or private) and Bluetooth communications.
- PARHyS also allows the recovery of gas from the ground via a balloon that can be placed at the vent. The various components of the gas other than hydrogen can thus be measured by gas chromatography.
SYSTEM COMPONENTS
Bottom view of PARHyS sensor
Parts included in the package
- PARHyS sensor packed.
- Inox sampling tubing not plugged.
- User Guide.
Tools box (not included in the package)
- 2 Thionyl Chloride 3.6 V – Size D.
- Screwdriver Philips medium to remove/install the top of the globe.
- Portable perforator.
- Drill 12×1000 mm.
- Smartphone Android 10+.
- Smartphone Apps,
- Option: Gas sampling flask or bag with a minimum volume of 0.5 l.
First preparation before installation

- Place the 2 batteries – type 3.6V-19Ah Thionyl Chloride respecting the polarities ③.
- Replace the top of the globe.
- Switch the PARHyS sensor by pushing the On/Off button:
- 2 LED flashing consecutively.
- When PARHyS sensor is started (around xx seconds) : rapid flashing of the power button LED.
- Start Apps Nanotech on your Smartphone (refer to Nanotech Apps documentation load on www.website. Crigen.com).
- Pair PARHyS sensor by pressing the Bluetooth button.
- BLE connectable: slow flashing of the BLE button LED.
- BLE connected: rapid flashing of the BLE button LED.
- If PARHyS Sensor is connected to the Gateway, the 2 LED simultaneous status are :
- Transmission of the join request: 1 flash.
- Failure of the join procedure: 2 flashes
- Reception of the join successful: 4 flashes.
- First frame received: 6 flashes.
- Plug the sampling inox tubing with the globe ④. A mark on the sampling inox tubing indicates the ideal pushing length.
The two O-rings must not be removed from their location. They are shown to indicate that providing the gas tight seal their presence should be checked.
Installing PARHyS sensor into the soil
Check on your smartphone that the module has been paired.
- A hole about 1000 mm depth and 12 mm in diameter is drilled in the ground with a portable perforator.
- Insert sampling tubing into the hole to a depth of 1000 mm (or less).
Ensure the path gas tube is not crushed, around 20 cm up to the soil.
Measurement procedure (refer to Smartphone Apps User Guide)
- Start the Manual measurement mode in the Smartphone Apps: data retrieved as a csv file on the Smartphone directly.
- Start the Automatic measurement mode in the Smartphone Apps: data retrieved every hour from a server.
NOTE
I could be necessary to Push Bluetooth button again since for energy saving the BLE switches off.
Balloon/bag installation procedure
PARHyS makes it possible to collect a punctual sample of gas from the soil for chromatographic analysis with a balloon.
- Push Bluetooth button at the bottom of globe.
- Start up the Smartphone Apps Nanotech.
- Stop the automatic data transmission if in progress via the Apps.
- Place the balloon/bag at the vent either by :
- Inserting a latex balloon directly onto the air vent silencer.
- Unscrewing the air silencer and screwing a balloon/bag with a M5x0.8 male connector directly to the vent filter.
- Start the Balloon mode in the Apps.
- Remove the balloon/bag after collecting the gas.
PROBLEMS AND SOLUTIONS DURING INSTALLATION
Good practices for transport and storage
- Drive to the site with PARHyS sensor inside the vehicle, not in the trunk, where it could be subjected to extreme temperatures and possible shocks.
- Do not place PARHyS sensor against a hot object (e.g. in a car left in the sun during the summer).
- Protect PARHyS sensor from direct sunlight and heavy rain when installing to avoid temperature rising in PARHyS’s measurement chamber which may result in erroneous readings.
| Problems encountered | Solutions |
| After pushing the On/Off button PARHyS sensor does not activate. | Check that the batteries are properly installed in the battery compartment and/or their status. Check that the On/Off button is not damaged. |
| Sampling inox tube is not properly inserted. | Check that the O-Rings and/or the mark on the sampling tubing are correctly positioned. |
| Pairing between PARHyS sensor and the Smartphone Apps fails. | Check that the smartphone is in Bluetooth mode. Press the BLE button under the globe. |
| Pairing between Parhys and the Gateway fails. | Switch off Parhys sensor by pressing the On/Off button and repeat the procedure Before installation (§3). |
For further problems contact [email protected]
PRODUCT SPECIFICATION SHEET
| Description | Values | Units | Remarks | ||||||
| General | Supply Voltage | 3.6 | V | ||||||
| Range | 1 000 | meter | Between PARHyS and LoRaWan gateway – free space | ||||||
| Operating Temperature | -5 to + 50 | °C | |||||||
| Storage Temperature | -10 to +75 | °C | |||||||
| Operating Humidity | 10 to 95 | % | |||||||
| Storage Humidity | 5 to 95 | % | Best storage environment 0-20°C, 50%HR wo condensing | ||||||
| Battery type | Thionyl Chloride 3.6 V | 2 x Type D (SL-2780) | |||||||
| Battery capacity | 19 | Ah | |||||||
| Battery replaceable | Yes | ||||||||
| Battery time life | 1 | year | PARHyS –1 sample every 4 hour – 1 transmission by sample | ||||||
| Upload interval range | 1 to 24 | hours | LoraWan configurable 1 to 24 time/day | ||||||
| Sample interval range | 1 to 24 | hours | Configurable by customer or smartphone Apps | ||||||
| Warranty | 1 | year | |||||||
| Measure | H2 concentration | 0 to 1 000 | ppm | ||||||
| Accuracy | < ± 10 | % | Temperature between 22 and 39°C | ||||||
| Temperature | -5 to + 50 | °C | |||||||
| Humidity | 10 to 95 | % | |||||||
| Communication | Communication | LoraWan , BLE | |||||||
| Protocol | |||||||||
| LORA EU | LORA US | LORA AU | Bluetooth BLE | ||||||
| Frequency | 863-870MHz | 902-928MHz | 915-928MHz | 2402-2480MHz | |||||
| Receive sensibility | -137dBm | -132dBm | -137dBm | -90dBm à 1 Mbps | |||||
| RF output power | +14dBm max, 25mW | +18dBm max, 63mW | +18dBm max, 63mW | +4dBm max, 2.5mW | |||||
| Antenna gain: peak gain | -3.2dBi | -3.0dBi | -3.0dBi | ||||||
| Antenna Type | Omni directional | dBi | |||||||
| Certification | General | CE | |||||||
| Communication | FCC, IC, RED | ||||||||
| Equipment | ROHS | Cat 9 | |||||||
| Mechanical | Globe height | 147 | mm | ||||||
| Globe diameter | 154 | mm | |||||||
| Globe material | ABS-PMMA | ||||||||
| Globe color | White glossy | ||||||||
| Sample tubing height | 1100 | mm | |||||||
| Sample tubing diameter | 10.5 | mm | |||||||
| Sample tubing material | Inox 316L | ||||||||
| Connection tubing-globe | Two O-rings ensure the seal | ||||||||
| Weight | 1051.2 | g | Without battery. | ||||||
| Addendum | Smartphone Apps | Android 8.1+ | Standalone measurements with csv data. Receiving flash local memory (up to 8000 samples). Configuration. | ||||||
| LEGEND communication | Contact us | Private LoRaWan gateway with Iridium satellite communication and energy harversting. LEGEND gateway: 100 PARHyS over 1 km distance. This solution is recommended out off Lora network. | |||||||
|
Public LoRaWan | Orange business LoRaWan Bouygues Objenious Other network contact us |
Native language of public operators. | |||||||
GENERAL INFORMATION – CERTIFICATION
General product information
![]() | Separate collection, handling and disposal for waste electrical and electronic equipment and its components. |
Calibration gases
- The sensors are delivered with a calibration information.
- It is however possible to check the calibration with a standard H2 gas injected at 25°C and 50%RH.
Service
- PARHyS should be regularly serviced by ENGIE to ensure correct and accurate operation.
- At the end of the life, request RMA (Return Material Authorization) before returned to ENGIE for WEEE procedures.
Warranty policy
This instrument is guaranteed, to the original end user purchaser, against defect in materials and workmanship for a period of 2 years from the date of the shipment to the user. During this period ENGIE will repair or replace defective parts on an exchange basis. The decision to repair or replace will be determined by ENGIE.
RF information
| Changes or modifications not expressly approved by ENGIE could void the user’s authority to operate the equipment. |
| FCC Part 15 compliance statement This device complies with part 15 of the FCC Rules. Operation is subject to the following two conditions: (1) This device may not cause harmful interference, and (2) this device must accept any interference received, including interference that may cause undesired operation. NOTE: This equipment has been tested and found to comply with the limits for a Class B digital device, pursuant to part 15 of the FCC Rules. These limits are designed to provide reasonable protection against harmful interference in a residential installation. This equipment generates uses and can radiate radio frequency energy and, if not installed and used in accordance with the instruction, may cause harmful interference to radio communications. However, there is no guarantee that interference will not occur in a particular installation. If this equipment does cause harmful interference to radio or television reception which can be determined by turning the equipment off and on, the user is encouraged to try to correct interference by one or more of the following measures: – Reorient or relocate the receiving antenna. – Increase the separation between the equipment and receiver. – Connect the equipment into an outlet on circuit different from that to which the receiver is connected. – Consult the dealer or an experienced radio/TV technician for help. License-Exempt Radio Apparatus (ISED) This device contains license-exempt transmitter(s)/receiver(s) that comply with Innovation, Science and Economic Development Canada’s license-exempt RSS(s). Operation is subject to the following two conditions: 1. This device may not cause interference. 2. This device must accept any interference, including interference that may cause undesired operation of the device. Appareils radio exempts de licence (ISDE) |
| Radio Frequency (RF) Exposure Compliance of Radiocommunication for mobile Apparatus To satisfy FCC and IC RF Exposure requirements for mobile devices, a separation distance of 20 cm or more should be maintained between the antenna of this device and persons during operation. To ensure compliance, operation at closer than this distance is not recommended. This transmitter must not be co-located or operating in conjunction with any other antenna or transmitter. |
UE Declaration of Conformity
Document Number: M.
We, the undersigned, Manufacturer or representative: ENGIE SA
Address: 1 Place Samuel Champlain, 92400 CCOURBEVOIE
Country: FRANCE Phone number +33 149 225
E-mail: [email protected]
Designated product,
Description: Brand name or trade mark: ENGIE Identification / Designation: PARHyS Sensor Restrictive use: None
Frequency band for BLEI 2400-2483.5MHz
Max power: 10mW e.i.r.p
Frequency band for LORA: 863-870MHz
Max power: 25mW e.r.p
Certify and declare under our sole responsibility that the designated product is in conformity with the essential requirernents and provisions Of the following European Directives:
Directive 2014/53/EU of the European Parliament and of the Council of 16 April 2014 on the harmonization of the laws Of the Member States relating to the making available on the market of radio equipment (RED). The conformity of the designated product(s) with the provisions of this European Directive is given by the compliance with the followinq European Standard(s):
Directive 2011/65/EU of the European Parliament and of the Council of 8 June 2011 on the restriction of the use of certain hazardous substances (ROHS) in electrical and electronic equipment.
Directive 2012119/ElJ of the European Parliament and of the Council of 4 July 2012 on waste electrical and electronic equipment (WEEE).
Name and position of person binding the manufacturer or his authorized representative
Name: DUTERQUE Adeline Position: Head of ENGIE Lab CRIGEN
Address: 4 Rue Josephine BAKER, 93240 Stains –
FRANCE Email: [email protected] Signature
This document is the exclusive property of ENGIE. Any inappropriate use contrary to its original purpose, any dissemination, part or full publication of this document is prohibited without the prior written consent of ENGIE owner of this document.





















