anslut 020687 Solar Cell LED Lighting

SYMBOLS
- Read the instructions.
- Approved in accordance with the relevant directives.
- Recycle discarded products in accordance with local regulations.
TECHNICAL DATA
- Battery type (rechargeable) AAA
- Battery technique NiMH
- Battery voltage 1.2 V
- Battery capacity 200 mAh
- Light source LED
- Colour temperature 3000 K
- Colour tone Warm white
- Luminous flux 0.8 lm
- Output 14 mW
- Protection rating IP44
- Size H29 x Ø20 cm
DESCRIPTION
Hangable, balloon-shaped solar cell light. The lamp has two warm white LED bulbs that produce a soft light.
- Solar cell panel
- LED (on the underside of solar cell panel) FIG. 1

SOLAR CELL-POWERED LIGHT
- The product runs on solar energy via the built-in solar panel.
- The solar panel converts solar energy to electrical energy, which is used to charge the rechargeable NiMH battery.
- The light switches on automatically when it goes dark and switches off in daylight. How long the light stays on depends on how long the solar panel has been exposed to sunlight.
- Long exposure to sunlight produces longer lighting up.
- For best functionality, place the product so that it is exposed to sunlight and is therefore charged for as long as possible.
- With maximum exposure to sunlight, the light will shine for up to 8 hours.
USE
- Carefully remove all the parts from the packaging.
- Start the product with the power switch (1). FIG. 2
- Place the product in the required place.

NOTE:
- Keep sharp objects away from the surface of the solar panel to prevent scratching and damage.
- The functionality of the product can be checked by covering the top of the solar panel – the light should go on if the product has started.
- It is difficult to see the LED light in bright ambient light. The product works best in the dark. This does not mean that the product is not working.
- For best functionality, allow the product to charge for one day before using for the first time.
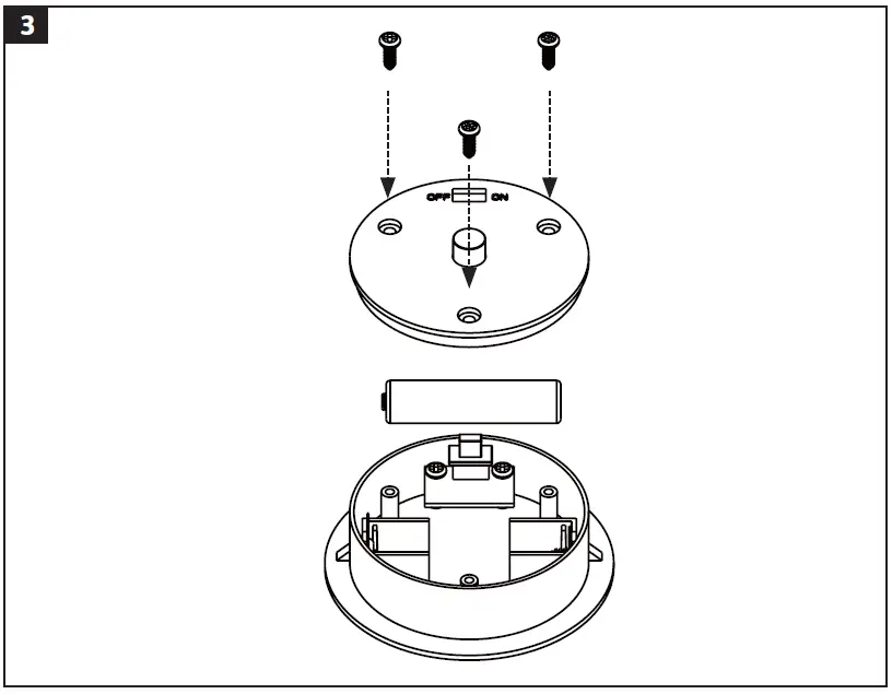
REPLACING THE BATTERY
Follow the instructions to replace the rechargeable AAA battery (NiMH). FIG. 3
- Unscrew the screws on the bottom of the casing with a screwdriver and open the battery cover.
- Replace the battery with a new one of the same type (rechargeable AAA battery, 1.2 VDC, 200 mAh, NiMH).
- Replace the battery cover and firmly tighten the screws.

NOTE:
- Do not mix old and new batteries.
- Do not mix alkaline batteries with ordinary batteries or rechargeable batteries (NiCd, NiMH etc.).























