
Item no. 019698![]()

WALL LAMP SOLAR CELL LED
OPERATING INSTRUCTIONS
Important! Read the user instructions carefully before use. Save them for future reference. (Translation of the original instructions)
Important! Read the user instructions carefully before use. Save them for future reference. Jula reserves the right to make changes.
For latest version of operating instructions, see www.jula.com
JULA AB, BOX 363, SE-532 24 SKARA
2021-11-15
© Jula AB


SYMBOLS
| Read the instructions. | |
| Approved in accordance with the relevant directives. | |
| Recycle discarded product in accordance with local regulations. |
TECHNICAL DATA
| Battery technique | NiMH |
| Battery type | AA |
| Voltage | 1.2 V |
| Battery capacity | 600 mAh |
| Colour temperature | 3000 K |
| Colour tone | Warm white |
| Luminous flux | 5 lm |
| Output | 0.3 W |
| Output Protection rating | IP44 |
| Size | L15.5xH21.1xW13.5 cm |
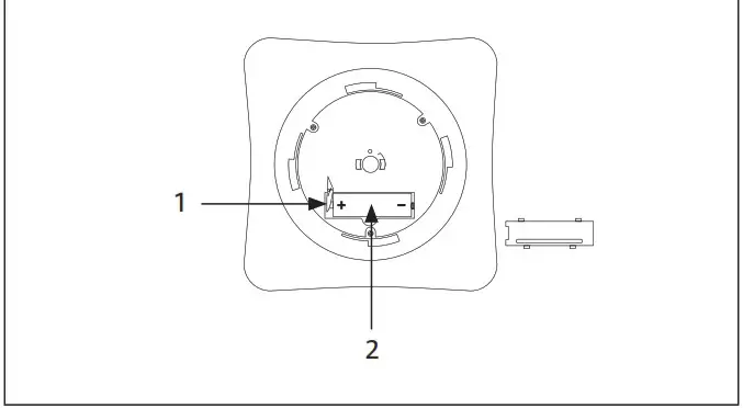
DESCRIPTION
- Remove before use
- Battery
FIG. 1


















