ansult 014230 Solar Globe LED
OPERATING INSTRUCTIONS
Important! Read the user instructions carefully before use. Save them for future reference.
(Translation of the original instructions).
SAFETY INSTRUCTIONS
- Keep sharp objects away from the surface of the solar panel to prevent scratching and damage.
- The functionality of the product can be checked by covering the top of the solar panel -the light should go on if the product has started.
- It is difficult to see the LED light in bright ambient light. The product works best in the dark. This does not mean that the product is not working.
- For best functionality, allow the product to charge for one day before using for the first time.
SYMBOLS
| SYMBOLS | |
![]() | Read the instructions. |
![]() | Approved in accordance with the relevant directives. |
–![]() | Recycle discarded product in accordance with local regulations. |
TECHNICAL DATA
- Battery type AA/LR06
- Voltage 1.2 voe
- Battery capacity 600 mAh
- Colour temperature 3000 K
- Colour tone Warm white
- Luminous flux 4Im
- Protection rating IP44
- Height 28 cm
- Diameter (/)30 cm
- Weight 870 g
DESCRIPTION
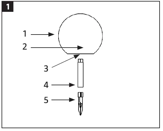
Atmospheric decoration to have in the garden with many placement options. The globe can be placed flat on the patio, inserted in the lawn together with the supplied ground spike or raised with the help of the extension part. Also perfect to combine different size globes. The globe is equipped with a polycrystalline solar panel and emits a warm white light.
- Globe
- Solar panel
- Battery box
- Stem
- Ground spike
HOW TO USE
- Carefully remove all the parts from the packaging.
- Start the product with the power switch. BILD 2

- Fit the stem and ground spike on the globe to suit requirements and press the ground spike in the ground.

MAINTENANCE
Follow the instructions to replace the rechargeable AA battery (Ni-MH).
- Remove the screws underneath the battery box.
- Remove the battery box from the product.
- Remove the screws on the solar panel.
- Replace the battery with a new one of the same type (rechargeable AA battery, 1.2 voe, 600 mAh, Ni-MH).


























