ULINE H-3481 Hoover Commercial SteamVAC User Manual

SAFETY
This product is intended for commercial use only. In the storage position, brush roll does not shut off.
WARNING! This product contains chemicals known to the state of California to cause cancer, birth defects, or reproductive harm. Wash hands after using.
WARNING! To reduce the risk of fire, electric shock or injury:
- Do not leave appliance when plugged in. Unplug from outlet when not in use and before cleaning or servicing.
- Use indoors only.
- Do not immerse. Use only on carpet moistened by cleaning process or small spills.
- Use only commercially available floor cleaners and waxes intended for machine application.
- Do not allow to be used as a toy. Close attention is necessary when used by or near children.
- Use only as described in this manual. Use only manufacturer recommended attachments.
- Do not use with damaged cord or plug. If appliance is not working as it should, has been dropped, damaged, left outdoors, or dropped into water, call Uline customer service.
- Do not pull or carry by cord, use cord as a handle, close a door on cord, or pull cord around sharp edges or corners. Do not run appliance over cord. Keep cord away from heated surfaces.
- Do not unplug by pulling on cord. To unplug, grasp the plug, not the cord.
- Do not handle plug or appliance with wet hands.
- Do not put any object into openings. Do not use with any opening blocked; keep free of dust, lint, hair, and anything that may reduce air flow.
- Keep hair, loose clothing, fingers, and all parts of body away from openings and moving parts.
- Turn off all controls before unplugging.
- Use extra care when cleaning on stairs.
- Do not use to pick up flammable or combustible liquids, such as gasoline, or use in areas where they may be present.
- Connect to a properly grounded outlet only. See Grounding Instructions.
- Do not pick up anything that is burning or smoking, such as cigarettes, matches, or hot ashes.
- Do not use without tanks in place.
This appliance must be grounded. If it should malfunction or break down, grounding provides a path of least resistance for electric current to reduce risk of electric shock.
The appliance is equipped with a cord having an equipment-grounding conductor and grounding plug. The plug must be inserted into an appropriate outlet that is properly installed and grounded in accordance with all local codes and ordinances.
WARNING! Improper connection of the equipment-grounding conductor can result in a risk of electric shock. Check with a qualified electrician or service person if you are in doubt as to whether the outlet is properly grounded. Do not modify the plug provided with the appliance. If it will not fit the outlet, have a proper outlet installed by a qualified electrician. This appliance is for use in a nominal 120 volt circuit and has a grounding attachment plug that looks like the plug illustrated in the sketch above. Make sure that the appliance is connected to an outlet having the same configuration as the plug. No adapter should be used with this appliance.
ASSEMBLY
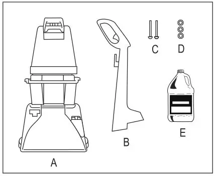
CARTON CONTENTS
Unpack cleaner from the carton and identify the parts shown. Remove and dispose of the packaging.

A. Spotter/carpet cleaner
B. Upper handle
C. Bolts (2)
D. Nuts (3 – one extra included)
E. Carpet Detergent
ATTACH UPPER HANDLE
- Remove clean solution tank (upper tank). (See Figure 1)

- With cord hook to back of cleaner, push upper handle down onto lower handle. (See Figure 2)

- Push bolts into holes on front of handle. If bolts will not go through hole easily, handle is not pushed completely down. (See Figure 3)

- Place nuts in recessed areas on back of handle. Hold each nut in place while tightening each bolt securely with a Phillips screwdriver. Only two nuts are needed on this model. The extra nut is not required but has been provided for your convenience. (See Figure 4)

- When handle sections are completely together, squeeze trigger (A) on upper handle to snap trigger rod in place. (See Figure 5)
- Replace clean solution tank (upper tank) by positioning bottom first. Press on tank handle to snap top of tank into place. (See Figure 6)
- Press cord into cord clip on back of handle. Pull cord tight. (See Figure 7)

INSTRUCTIONS
CLEANER DESCRIPTION
Unpack cleaner from the carton and identify the parts shown. Remove and dispose of the packaging.
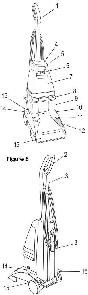
The assembled spotter/carpet cleaner will look like the drawing. (See Figure 8)
- Hand grip
- Solution trigger: press to release clean solution
- Cord hooks: wrap cord around hooks for storage
- Carrying handle
- Clean solution tank handle
- Clean solution tank cap/measuring cup
- Clean solution tank: holds 14 cleaning solution
- Recovery tank lid
- Recovery tank: holds dirty solution
- Hood
- Agitator speed selector: slide selector to set brush speed
- Brush indicator: spins when brushes are rotating
- Nozzle
- Recovery tank latches: one on each side of tank
- ON/OFF pedal
- Handle release pedal: step on pedal to lower handle to operating position
ON/OFF PEDAL
Plug spotter/carpet cleaner into a properly grounded outlet.
- Step on pedal (A) to turn cleaner on. (See Figure 9)
- Step on pedal (A) again to turn cleaner off. (See Figure 9)

HANDLE RELEASE PEDAL
- Step on pedal (B) to lower handle to operating position. (See Figure 10)

- Handle does not lock into a single position but “floats” to allow convenient operation.
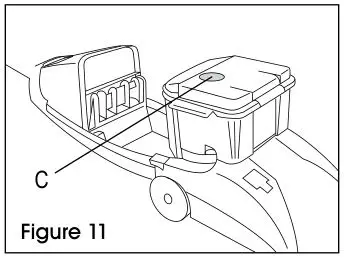
AUTOMATIC SHUT-OFF
- When the recovery tank (lower tank) is full, the automatic “shut-off” mechanism will shut off the cleaner suction. (See Figure 11)

- When this happens, the red float disk (C) will rise to the top of the recovery tank lid (see illustration). The cleaner will no longer pick up dirty solution and the motor sound will become noticeably higher in pitch.
- When this happens, turn cleaner off and empty recovery tank before continuing use. Check clean solution tank also; it may need to be refilled.
TRANSPORT
- Turn cleaner off before transporting. To move the cleaner from room to room, put handle in upright and locked position, tilt cleaner back on wheels, and push forward. (See Figure 12)

- The cleaner may also be lifted by placing a hand under the upper clean solution tank handle as shown. (See Figure 13)

AGITATOR SPEED SELECTOR
- The ‘SteamVac’ cleaner has three agitator brush settings:
- a. Power Scrub for normal cleaning of carpet.
- b. Gentle Scrub for gentle cleaning of carpet
- c. Spill Pick Up when brushing is not desired (such as when picking up liquid spills).
- Slide selector button (D) to the desired setting before cleaning. (See Figure 14)

BRUSH INDICATOR
The brush indicator will spin (E) when the cleaner is turned on and the brushes are rotating. If the indicator does not spin (F) and the pattern is visible when the cleaner is turned on, the brushes are not rotating. (See Figure 15)
There are two reasons the brushes may not be rotating:
- Brush speed selector is turned to Spill Pick Up (see previous section)
- Brush indicator screen is dirty
CLEANING INDICATOR SCREEN
WARNING! To reduce the risk of electric shock, unplug before cleaning or servicing.
- Remove clear cover and wipe off screen (G) with a damp cloth.
- Snap cover back into position. (See Figure 16)
TANKS
CLEAN SOLUTION TANK
The clean solution tank holds the cleaning solution that is dispersed onto the surface to be cleaned.
WARNING! To reduce the risk of electric shock, unplug before cleaning or servicing.
Place cleaner handle in the upright, locked position.To remove tank, press down on handle and pull forward. (See Figure 17)
- Carry tank to a sink. Rotate tank cap counterclockwise and lift up to remove. (See Figure 18)
- Turn cap (H) upside down to serve as a measuring cup. (See Figure 19)
Using cap, measure detergent as follows:
- Fill cap with 3 oz HOOVER 2X Carpet/Upholstery Detergent.
- Do not use any type of wax with your SteamVac cleaner. To assure proper performance, it is recommended that only HOOVER detergent be used. It is specifically formulated for use with the cleaner.
WARNING! Detergents contain Anionic and Nonionic Surfactants. Avoid contact with eyes and skin. In case of contact with eyes, flush with cold water for 15 minutes. In case of contact with skin, wash with water. If irritation persists, call a physician. For medical information (U.S.) call 1-800-752-7869.
- Pour detergent into tank. Fill tank to fill line (J) (1 gallon) with hot tap water. (See Figure 20)
- If rubber ring (K) on cap has displaced, replace it with uneven side against cap ledge (L) as shown. (See Figure 21)
- Replace cap. Rotate cap clockwise until it locks in place. Cap must be locked in place for proper performance and to prevent leaking. (See Figure 22)
- Position bottom of tank into unit and press on tank handle to snap tank into place. (See Figure 23)
RECOVERY TANK (LOWER TANK)
The recovery tank holds the dirty solution that is picked up from the carpet. When the recovery tank is full, the automatic “shut-off” will engage (see page 3) and the tank must be emptied.
WARNING! To reduce the risk of electric shock, unplug before cleaning or servicing.

- Step on handle release pedal (M) and lower handle until it rests on the floor. Rotate recovery tank latches (N) outward (one on each side of tank). Lift tank off of cleaner and carry it to a sink or drain. (See Figure 24)
- Unlatch back part of tank lid and remove lid. Empty tank. Pour dirty water out from the rear of the tank (O) (See Figure 25)
- The lid replaces in a hinge-like manner. Position the front of lid under tabs (P) on front of tank. Rotate lid down onto tank. Make sure that the lid is secure on all sides before placing tank on cleaner. For full suction, it is important that the recovery tank lid is properly secured before cleaning. (See Figure 26)
- Replace tank and press down to ensure that it is properly seated in place. Rotate latches (N) (one on each side of tank) inward to lock tank in place. Raise handle to upright position and replace upper clean solution tank. (See Figure 27)
BEFORE YOU CLEAN
- Vacuum thoroughly. For carpet, use a vacuum cleaner with an agitator for best results. Do not use the ‘SteamVac’ spotter/carpet cleaner as a dry vacuum cleaner.
- Test for colorfastness. Mix detergent and water according to the instructions under “Fill solution tank”. Wet a white absorbent cloth with the solution. In a small, hidden area, gently rub the surface with the dampened cloth. Wait ten minutes and check for color removal or bleed with white paper towel or cloth. If surface has more than one color, check all colors.
- When cleaning entire floor, move furniture out of area to be cleaned (may not be necessary if only high traffic areas are to be cleaned). For furniture too heavy to move, place aluminum foil or wax paper under legs. This will prevent wood finishes from staining carpet. Pin up furniture skirts and draperies.
- Pretreat spots and heavy traffic areas with a carpet precleaner.
- To prevent staining, use plastic or aluminum foil to protect wood or metal surfaces from possible water spray.
- To avoid wetting and possible damage to wood floors underneath area rugs/carpet, either move area rugs/carpet to a non-wood bare floor surface or place waterproof material (e.g., plastic) underneath them before cleaning.
CLEANING CARPET
- Fill clean solution tank (upper tank) according to instructions. (See Figures 17-23)
- Move speed selector to Gentle Scrub for gentle cleaning or Power Scrub for normal cleaning.
- Dry hands and plug cord into a properly grounded outlet.
WARNING! Do not clean over floor electrical outlets. - To avoid walking on damp carpet, start at the end of the room farthest from the door or path to sink where tanks will be emptied and filled.
- Step on handle release pedal and lower handle to operating position; turn cleaner ON.
- Squeeze trigger to release cleaning solution and slowly push cleaner forward (equals one wet stroke).
- Continue to squeeze trigger and slowly pull cleaner back toward you (second wet stroke).
- Release trigger and slowly push cleaner forward over area just sprayed with solution (dry stroke).
- Then slowly pull cleaner back toward you without squeezing trigger (dry stroke). Overlap strokes by one inch to help prevent streaking.
- Keep nozzle flat on floor for both forward and reverse strokes. For heavily soiled areas, repeat. To avoid saturating carpet, do not use more than 4 wet strokes over one area. Always end with dry strokes. It is best to alternate wet and dry strokes as described above. For best cleaning results and to aid in faster drying of carpet, end with more dry strokes. (Continue using dry strokes until little water is visible passing through the recovery tank lid.)
- Empty recovery tank when the motor sound becomes higher pitched and there is a loss in suction. (See Figures 24-27)
- When finished cleaning, follow “After cleaning” instructions below.
AFTER CLEANING
- Allow carpet to dry. To help prevent matting and resoiling the carpet, keep children and pets away from carpet until completely dry. If it is necessary to walk on damp carpet, place towels or white cloths on the traffic areas. If furniture must be replaced before the carpet is dry, use plastic or aluminum foil pads under legs of furniture so metal slides or wood finishes will not stain the carpet.
- If desired, the carpet may be rinsed. Rinsing is not necessary for cleaning, but it may improve the surface’s appearance after it is dry. If rinsing is desired, be careful not to over wet the carpet. Allow time for carpet to dry completely between cleaning and rinsing. To rinse, follow the same procedure for cleaning only using hot tap water with no detergent in the upper clean solution tank.
- Empty tanks, rinse with clear water and let air dry.
- Remove debris from recovery tank filter and rinse with clean water.
NOTE: If the filter must be removed for cleaning, it is easier to replace if the filter is wet. - If desired, vacuum thoroughly after carpet has completely dried. This will help reduce any shading left by the cleaner’s brushes.
CLEANING THE NOZZLE
If lint or other debris becomes lodged in the nozzle, do not attempt to remove nozzle cover. Pour one to two cups of clear water on a non-carpeted floor.
NOTE: Do not pour water onto a wood floor.
Pick up the water with the spotter/carpet cleaner. Repeat as necessary until debris is flushed out of nozzle. To clean the outside of the machine, wipe off dirt with a cloth dampened in warm water and mild detergent.
WARNING! Do not use solvent or petroleumbased products to clean the machine.
REMOVABLE BRUSHES
Your deep cleaner is equipped with removable brushes for easy cleaning.
WARNING! To reduce the risk of electric shock or injury from moving parts, unplug before cleaning or servicing.
REMOVING BRUSHES
To prevent possible leaking, remove clean solution tank and recovery tank. Set tanks aside.
- Press handle release pedal to lower handle. Turn cleaner over so bottom is facing up. (See Figure 28)
- Grasp inner portion of brush (A) and pull brush assembly out slightly to reveal latches (B). (See Figure 29)
- Press all four latches (B) and pull brush block out. The brushes can be cleaned under running water. (See Figure 30)
REPLACING BRUSHES
- Align posts (C) on both ends of brush assembly with slots (D) in cleaner housing. Make sure that square post (E) also aligns with square hole (F). Turn brushes slightly until post fits easily into hole. (See Figure 31)
- Press brush assembly firmly to snap into place. (See Figure 32)

PICKING UP SPILLS
The Hoover SteamVac spotter/carpet cleaner may be used to pick up small liquid spills (1 gallon or less, never to exceed 1/4 inch in depth) on carpet.
- Place floor nozzle with brushes turned to Spill Pick Up in front of the spill. Pull the nozzle very slowly over the spill initially with suction only. Repeat with spray and suction. Although no cleaning solution can completely remove all spots, they can be treated by following the instructions provided by the manufacturer of the carpet being cleaned.
WARNING! Do not use the cleaner to pick up flammable or combustible liquids or chemicals. - When finished cleaning, follow “After Cleaning” instructions. (See Page 6)
STORAGE
Before storing:
- Empty solution tank and rinse thoroughly with clean water.
- Replace empty solution tank and turn cleaner ON. Squeeze trigger and push cleaner forward and back several times to expel any solution remaining in the cleaner’s system. (Do not use cleaner on wood floors.)
- Empty recovery tank and rinse thoroughly with clean water.
- Allow brushes and underside of cleaner to air dry thoroughly before storing cleaner on a carpeted or wood surface.
NOTE: Do not store cleaner with a full solution tank in place.
LUBRICATION
The motor is equipped with bearings that contain sufficient lubrication for the life of the motor. The addition of lubricant could cause damage. Therefore, do not add lubricant to motor bearings. The agitator brushroll is equipped with two ball bearings that should be lubricated periodically.
ROUTINE MAINTENANCE
DAILY
- Extension Cord and Plug – Check extension cord and plug for any cuts or damage. If damaged, discontinue use.
- Motor – If there are unusual sounds or if poor performance occurs, the motor should be inspected immediately by the Uline service team.
- Brush Indicator – When running the cleaner, check to ensure that the brush indicator is spinning. If brushes are not rotating and speed selector is not set to “Spill Pick Up”, inspect brushes for any obstructions.
- Rinse - Rinse out both tanks and filter after every use and let them dry completely.
WEEKLY
- Clean Solution Tank – Inspect and clean out the clean solution tank.
- Recovery Tank – Inspect and clean out the dirty solution recovery tank.
- Brushes – Inspect the brushes on the bottom of the cleaner. Pop out brushes and remove any hair or debris that might be stuck in the bristles. Rinse them clean and let dry.
MONTHLY
- Assembly – Check to ensure that no screws or parts have loosened up due to routine use. If necessary, tighten up any loose screws.
- Brush Indicator – Examine Brush Indicator screen and wipe off with a damp cloth if dust/dirt has accumulated.
TROUBLESHOOTING


1-800-295-5510
uline.com



























