
schweigen CL8815 Rangehood 
Thank you for purchasing your new Schweigen rangehood.
To get the maximum output from this unit, please read through this guide before use.
The guide contains important information on the use and maintenance of the unit, as well as important safety notes. This will ensure your personal safety and the lasting value of your range hood.
Please always retain your proof of purchase to aid in any warranty queries.
If you are unable to locate your warranty card, one is available to download from our website
www.schweigen.com.au.
This appliance and its packaging are produced by processes that minimize waste and respect
the environment.
Please help us to continue this effort to protect the environment by using the appliance efficiently and disposing of the packaging in a responsible manner.
We trust that you will enjoy your new Schweigen rangehood.
Your State Regulatory Authority
Different Australian states have varying legislative requirements for the installation of rangehood ducting. Some will insist on ducting being vented externally (i.e. not into the ceiling cavity); others will not. It is imperative that you check with your state building authority and/or private certifier to confirm their position.
Important Safety Information
WARNING
Please read this section thoroughly before attempting to operate the appliance. Inspect your product upon receipt. Any damage or defects MUST be reported within 48 hours, or no claim will be recognised.
DO NOT INSTALL THIS APPLIANCE IF YOU FIND IT DAMAGED.
If this product is installed damaged, neither the supplier, nor the retailer, will be responsible for the costs associated with the repair, replacement, removal or re-installation of the appliances.
- To be installed in an undercover alfresco area only.
- If the unit is not adequately covered or sheltered from the outside elements the warranty
will be null and void. - There shall be adequate ventilation in the room when the rangehood is used at the same time
as appliances burning gas or other fuels. - There is a fire risk if cleaning is not carried out in accordance with the instructions.
- Do not flambé under the rangehood. This will damage the rangehood and will not be covered by warranty.
- Do not ignite burners that give off intense, uncontrolled flames beneath the rangehood.
- Make sure that no flames emerge from the sides of pans.
- Do not leave packaging materials (bags, corner brackets, etc.) within reach of children.
- This appliance is not intended for use by person/s (including children) with reduced physical, sensory or mental capabilities, or lack of experience and/or knowledge. Unless the person has been given supervision or instruction concerning the use of the appliance by a person responsible for their safety. Children should be supervised to ensure that they do not play with the appliance,
it is not a toy. - Exhaust air must not be discharged into an existing flue that is used for exhausting fumes from appliances burning gas or other fuels.
- Air exhaust must be installed in accordance with local laws. Regulations concerning the discharge of air have to be fulfilled.
- Accessible parts may become hot when used with cooking appliances.
- Before performing any cleaning or maintenance operation, disconnect the rangehood from
the mains using the respective mains or sector switch or by unplugging it. - Do not use the rangehood without the grease filters.
- Keep the grease filters clean and respect the recommended cleaning frequencies.
- Turn the rangehood motor on before starting to cook.
- Turn the rangehood motor off about 10-15 minutes after you finish cooking.
- It is forbidden to use the rangehood as an aspirator.
- Never cook foodstuff directly over the flame or have the gas burners on under the rangehood without using cookware.
Before Installation
- We recommend this appliance be installed or repaired by a qualified Schweigen Home Appliances technician.
- Please see our website www.schweigen.com.au for recommended installers.
- It is dangerous to modify any part of this appliance. Modification of any kind, will immediately void the warranty.
- The manufacturer declines all responsibility in case of failure to adopt proper safety measures.
- Ensure that the location in which this appliance is installed, has good and permanent ventilation.
- Please consult local laws and regulations and install in accordance.
- Use an electrical connector with earth that is correct for your location.
- Check that the voltage in your area corresponds to the appliance as indicated on the rating label.
- This appliance must be connected to an electricity supply with a ground connection.
- Check that the installation and electrical connections are made by a qualified technician and that the indicated instructions and local regulations in force are met, using materials that are compliant with the applicable legislation.
- The company will not be responsible for installations executed by non-qualified staff and installations that fail to heed the applicable legislation on electrical safety (with regard to both modes and materials).
- The electrical technical data can be found inside the rangehood, after removing the grease filters.
- The flexible power cable supplied is already connected internally and emerges from the rangehood near the air outlet tube.
- Before installing the electrical connections, you should:
- Verify that the indicated electrical data coincide with the voltage values and frequency
of the electrical circuit in the house where the range hood is to be installed; - Check that the premises has electrical protection against short circuits and electrocution, pursuant to the applicable legislation;
- Always switch off the current using the double-pole switch before maintenance and turn
the power on again for normal use only when the operation has been completed.
- Verify that the indicated electrical data coincide with the voltage values and frequency
Product Use
This product is designed for household use and should not be used for commercial applications.
After use, always ensure that all controls are in the “OFF” position.
When frying with a gas flame, take particular care not to allow the oil or grease in the pan to catch
fire. (Flambé)
Ducted or Recirculating?
Ducted range hoods (or extractor range hoods) extract the cooking fumes from the kitchen and expel them from the space via ducting. Good design practice would always see a fire-rated ducting system extend to the house exterior, rather than to the ceiling cavity. When a range hood is ducted only into the ceiling space, the collection of humidity and grease can present very real health issues and fire hazards.
Recirculating (or non-ducted or filtered) range hoods extract cooking fumes and pass them through filters. As the name would suggest, they recirculate this air back into the room. Recirculating rangehoods are not as effective as removing fumes from a kitchen space, but they are sometimes the only option due to budgetary or building constraints. You should be made aware of the requirement to change and clean filters on a regular basis for the optimum efficiency of air filtering.
Electrical Cord
Ensure the supply cord is not exposed to heat, chemicals, or sharp objects. If the supply cord is damaged, it must be replaced by the manufacturer.
Description
Rangehood
- Mounting Bracket
- Upper Flue
- Lower Flue
- 2x 150mm ducting

- Power Cord
- 2x 150mm outlets
- Rangehood Body
- Lights
- Baffle Filters
Operation
Push Button Control Panel
- Turn off the rangehood
- Low speed setting
- Medium speed setting
- High speed setting
- Turn on/off the lamp
Speed Control
This undermount is equipped with a 3 speed mechanical control. Speed control usage suggestions:
- Low speed for simmering.
- Medium speed for light cooking.
- High speed for heavy frying or heavy cooking.
Cleaning & Maintenance
Warning
Always switch off and disconnect power before cleaning.
Cleaning the Interior
Clean the interior of the rangehood with a damp cloth and a neutral detergent or denatured alcohol.
NOTE: Do not use denatured alcohol on the exterior of the rangehood. Do not clean the electric parts or the motor with liquids or solvents
Cleaning the Exterior
We recommended using a soft cloth, water and a liquid soap, rinsing it well and then drying it thoroughly. For better results, you can use high quality cleaning and protection products (e.g. Steel Kleen) to clean your rangehood.
- The recommended detergent is a solution of water and a neutral liquid soap.
- It is very important for the liquid soap to not contain granules that could scratch the surface.
- First apply the solution to a soft cloth and then rub the cloth over the rangehood. It is important to follow the direction of the stained surface with the cloth (refer to figure on left).

- Do not pour any liquid directly on to the rangehood.
- The cloth must have no buttons, zips or fasteners that could scratch the surface.
- It is strictly forbidden to use chemical solvents, aggressive, grainy or abrasive products, naphtha, alcohol or similar products that could damage the surface of the rangehood.
- The manufacturer will not be held responsible for functional or aesthetic damage caused by cleaning with products which are not suitable or using inadequate cleaning methods.
Baffles
For this appliance to function effectively, regular maintenance is a must.
- The function of the baffle is to collect the grease particles given off during cooking.
- Clogged heavy oil deposits restrict airflow and may cause the motor to overheat and become a fire hazard.
- Baffles should be cleaned every 3-6 weeks or after 40 hours of use.
- For induction cooktops, please aim to clean them at least every 10 days, depending on use.
- The baffles can be washed by hand or in the dishwasher.
- Washing by hand – Immerse the filter in hot water and a suitable detergent and when clean, rinse with plenty of hot water.
- Dishwasher – Put the filter in the dishwasher and select a short program at a low temperature. NOTE: The color of the metal mesh filters may change after several washes. This is normal and it is not necessary to change the filters.
Please ensure the baffles are completely dry before placing them back in position and operating the rangehood.
Endure the baffles are cool before removing, to ensure no oil is spilt.
To remove, push away from you until the near edge clears the slot. Then carefully pull down and back to remove. To replace, perform the same operation but in reverse.
Warning
- If the baffles are very dirty, the motor will extract only a small quantity of air, which reduces its efficiency;
- The grease deposits that build up on the baffles are highly flammable and COULD EASILY CATCH FIRE.
- The manufacturer is exonerated from all responsibility in the event of fire due to poor maintenance of the grease filters.
Replacing the Light Bulb
Danger
Always switch off and disconnect the power cord before replacing any light bulbs. Failure to do so may cause serious injury. Please be aware that the light bulb will retain heat for a short period of time after being switched off.
Step 1
Remove the filters from the rangehood.
Step 2
Gently turn light bulb clockwise, pull the light bulb down and remove it from the light holder.
Step 3
Insert a new light bulb by lining up the pins of the light bulb with the larger holes inside the light holder. Once the pins are in place, turn anti-clockwise to secure the light bulb
Installation
Rangehood Size vs Cooktop Size
In addition to the size, the height of the rangehood above the cooktop is important to obtain the best performance.
BBQ Installation
When installing the rangehood over a BBQ , please be aware that the lid will obstruct the rangehoods effectiveness to extract smoke, steam and odours. Where possible, remove the lid of the BBQ unit when in use, so as to allow for effective rangehood extraction. Alternatively, install the rangehood on an extension, to move the rangehood further out.
Mounting Instructions – Outdoor/Alfresco
When installing in an outdoor kitchen or alfresco area,the rangehood MUST NOT be installed where it is directly exposed to the elements .
It is STRONGLY RECOMMENDED that the rangehood be installed centrally over the cooktop.
This will greatly improve its performance.
Minimum legal height from the BBQ surface to the underside face of the rangehood:
- 1200mm
Any installation above 1200mm will compromise the extraction performance.
Measurements are from the top of the trivets to the lowest part of the rangehood, including the button controls.
* IMPORTANT: If the user decides to install the rangehood at a distance of less than minimum height above the cooking surface, Schweigen declines responsibility for damages suffered by the rangehood due to excess heat or damage to objects, people and others caused directly or indirectly by a malfunction, breakage or fire.
* Important: In addition to the information in this manual, please check all relevant state requirements for minimum–maximum heights, as well as regulations regarding the expelling of air. Schweigen is not liable if your rangehood is not installed in accordance with these legal requirements.
Wall Mount Installation
There are two primary mounting points and several secondary mounting points to firmly fix the rangehood in place.
Suitable fixing screws must be used to mount the appliance on a secure surface.
Please ensure that the holes for the two primary mounting points are level before installation.
- Primary Mounting Points
- Secondary Mounting Points

DANGER
Always switch off and disconnect the power supply before installing the rangehood. Failure to do so may cause serious injury.
NOTE
Please make sure that filters are removed and put in a safe place while installing rangehood to prevent damage.
Step 1
Secure range hood to the wall using only primary mounting points
Check the level of the rangehood and adjust accordingly if necessary ( 2 ). Once level, continue to secure the rangehood via the secondary mounting points ( 3 ).
Step 2
Feed through and secure the flexi ducting from the rangehood outlet to the Isodrive motor.
Step 3
Place flue covers on the range hood and extend to the length required. (Be careful not to scratch the top of the range hood).
PLEASE NOTE: Only a standard length of stainless steel flue is provided. Any additional length will need to be sourced and manufactured by a sheet metal fabricator.
Step 4
Attach the exterior flue wall mounting bracket to the wall. Slide the inside extension flue piece up to the wall mounting bracket and secure.
IMPORTANT
Please ensure all plastic protection on the range hood and filters is removed before use.
Ducting
Please DO NOT crush or kink the ducting.
- Crushed or kinked ducting creates sharp corners that creates turbulence. This reduces the size and efficiency of the ducting, lowers extraction and may cause excessive noise.

- Sweeping curves and taut ducting reduces resistance and turbulence. The airflow and extraction will be more efficient and stronger.
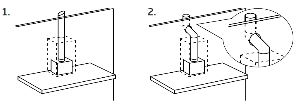
Back Draft Fins (For applicable models)
The supplied ducting has been manufactured with an allowance for the back draft fins to operate without hindrance. It is the smooth extended end of the ducting.
When installing Back Draft Fins, please ensure that you insert the Back Draft Fins onto the back draft base, which are attached to the top of the motor outlet before installation. Then place the smooth extended edge of the ducting into the back draft base and fix securely.
Should your Back Draft Fins get stuck, this is not a warranty issue.
Ducting Advice
- Straight ducting is the most effective installation
- Keep the curves or bends to a minimum. If they do exist, try to keep the angles as open as possible.

- Never reduce flue diameter right next to the rangehood outlet fitting.
- Never fit reductions next to curves or bends in the installations. They must always be in straight sections and as far as possible from the rangehood.

Avoid excessive reduction of the flue size, as this drastically reduces extraction capacity.
You should not have more than one blend in the installation
Roof Cowls / Roof Seal Kit
WARNING
All electrical wiring should be kept inside the roof space.
- Roof Cowls (Not supplied)*
- Flexible Ducting must be pulled taut. DO NOT crush or kink the ducting.
- Connect flexible ducting to the outlet on rangehood using a ring clamp. Please DO NOT rip the ducting.
- Main Power Lead (Male Plug)
*NOTE: Motor system does not include the roof seal/roof cowls, ring clamp or support straps. For best result, please install ducting in a straight line and duct length no longer than 4 metres. Do not reduce the ducting diameter, this will reduce airflow.
Troubleshooting
Troubleshooting
If the product does not work:
Before you contact the technical service department, make sure that the product is plugged in, the electric fuse (on selected models) is in correctly and electric wiring is connected. (Fuses can be purchased from your local electrical dealer or hardware store). Weak air suction may be caused by back draft fins remaining closed. Do not take any action that will damage the product.
Service
Lodging an Online Service Request
In the event that the failure is not due to the faults mentioned in the Troubleshooting section, you can lodge an online Service Request. To lodge an online Service Request, visit our website www.schweigen. com.au/service-and-warranty and click on the link and complete the service request form.
A service request will require the following information:
- The purchase date
- The rangehood model and motor type (e.g. Isodrive® 650)
- The serial number or batch number (this number is on a sticker inside the rangehood).
- A copy of the purchase receipt (without a receipt your service request cannot be processed).
Alternatively, you can call Customer Service:
Australia 1300 881 693
New Zealand 0800 200 510
Faulty Installation
It is not the responsibility of Schweigen to rectify any incorrect installations. A service call out fee will be charged for any Schweigen technician that attends a call, whereby it is established that the fault is due to an incorrect installation or non-manufacturing fault. Should the appliance be installed in such a way that the service agent is unable to gain access to the appliance, the person/s who own the premises or the property where the appliance resides — will be responsible to provide access to the appliance at their expense.
Specifications
Dimensions
Technical Specifications
| Model | CL8815 |
| Feeding Voltage | 220–240V 50Hz |
| Lamp Power — LED (W) | 3 x 3W |
Disclaimer
Under our policy of continuous product development, product specifications may change without notice. Prospective purchasers should therefore check with the retailer to ensure this publication correctly describes the products being offered for sale. All information supplied is to be used for general reference purposes only and is on the understanding that Schweigen will not be liable for any loss, liability or damage of whatever kind arising as a result of any reliance upon such information. All pictures used in the guide are for illustrative purposes only.
Schweigen Home Appliances has presented this information in good faith to all their retailers and distributors to convey before any/all purchase/s. Information is supplied upon the condition that
the person/s receiving the information will make their own determination as to its suitability for their purpose/s prior to use. In no event will Schweigen Home Appliances be responsible for damages of any nature whatsoever resulting from the use of, or reliance upon, information from their website or the products to which the information refers.
DISPOSAL OF OLD APPLIANCES
Electronic waste (or e-waste) including kitchen appliances are banned from direct disposal to landfill. E-waste contains hazardous materials, which can harm the environment and human health. Valuable materials contained in e-waste are lost when appliances, computers, and other household electrical goods are sent to landfills.
Recycle your e-waste to:
- reduce landfill
- protect the air and waterways from harmful materials
- minimize consumption of raw materials to produce electronic products
- reduce greenhouse gases created in the production of new materials.
Kitchen appliances including Rangehoods and Ovens can only be disposed at approved recycling centers. Visit www.recyclingnearyou.com.au/whitegoods for more information, or contact your local council or the store you purchased this appliance, for a list of approved recyclers.
Australia Unit 4/1-5 Lake Drive, Dingley Village, Victoria 3172.
Phone 1300 881 693
Email [email protected]
Web www.schweigen.com.au
New Zealand 5 Tolich Place, Henderson, Auckland 0610.
Phone 0800 200 510
Email [email protected]
Web www.parex.co.nz






















