SCC1200-S Rangehood
Installation Guide
www.schweigen.com.au
Welcome
Thank you for purchasing your new Schweigen rangehood.
To get the maximum output from this unit, please read through this guide before use.
The guide contains important information on the use and maintenance of the unit, as well as important safety notes. This will ensure your personal safety and the lasting value of your range hood.
We trust that you will enjoy your new Schweigen rangehood.
Please always retain your proof of purchase to aid in any warranty queries.
If you are unable to locate your warranty card, one is available to download from our website www.schweigen.com.au.
This appliance and its packaging are produced by processes that minimize waste and respect the environment.
Please help us to continue this effort to protect the environment by using the appliance efficiently and disposing of the packaging in a responsible manner.
Different Australian states have varying legislative requirements for the installation of rangehood ducting. Some will insist on ducting being vented externally (i.e. not into the ceiling cavity); others will not. It is imperative that you check with your state building authority and/or private certifier to confirm their position.
Important Safety Information
WARNING
Please read this section thoroughly before attempting to operate the appliance.
Inspect your product upon receipt. Any damage or defects MUST be reported within 48 hours, or no claim will be recognized.
DO NOT INSTALL THIS APPLIANCE IF YOU FIND IT DAMAGED.
If this product is installed damaged, neither the supplier, nor the retailer, will be responsible for the costs associated with the repair, replacement, removal, or re-installation of the appliances.
- There shall be adequate ventilation in the room when the rangehood is used at the same time as appliances burning gas or other fuels.
- There is a fire risk if cleaning is not carried out in accordance with the instructions.
- Do not flambé under the rangehood. This will damage the rangehood and will not be covered by a warranty.
- Do not ignite burners that give off intense, uncontrolled flames beneath the range hood.
- Make sure that no flames emerge from the sides of the pans.
- Do not leave packaging materials (bags, corner brackets, etc) within reach of children.
- This appliance is not intended for use by person/s (including children) with reduced physical, sensory or mental capabilities, or lack of experience and/or knowledge. Unless the person has been given supervision or instruction concerning the use of the appliance by a person responsible for their safety. Children should be supervised to ensure that they do not play with the appliance, it is not a toy.
- Exhaust air must not be discharged into an existing flue that is used for exhausting fumes from appliances burning gas or other fuels.
- Air exhaust must be installed in accordance with local laws. Regulations concerning the discharge of air have to be fulfilled.
- Accessible parts may become hot when used with cooking appliances.
- Before performing any cleaning or maintenance operation, disconnect the rangehood from the mains using the respective mains or sector switch or by unplugging it.
- Do not use the rangehood without the grease filters.
- Keep the grease filters clean and respect the recommended cleaning frequencies.
- Turn the rangehood motor on before starting to cook.
- Turn the rangehood motor off about 10-15 minutes after you finish cooking.
- It is forbidden to use the rangehood as an aspirator.
- Never cook foodstuff directly over the flame or have the gas burners on under the rangehood without using cookware.
Before Installation
- We recommend this appliance be installed or repaired by a qualified Schweigen Home Appliances technician.
- Please see our website www.schweigen.com.au for recommended installers.
- It is dangerous to modify any part of this appliance. Modification of any kind will immediately void the warranty.
- The manufacturer declines all responsibility in case of failure to adopt proper safety measures.
- Ensure that the location in which this appliance is installed has good and permanent ventilation.
- Please consult local laws and regulations and install them in accordance.
- Use an electrical connector with the earth that is correct for your location.
- Check that the voltage in your area corresponds to the appliance as indicated on the rating label.
- This appliance must be connected to an electricity supply with a ground connection.
- Check that the installation and electrical connections are made by a qualified technician and that the indicated instructions and local regulations in force are met, using materials that are compliant with the applicable legislation.
- The company will not be responsible for installations executed by non-qualified staff and installations that fail to heed the applicable legislation on electrical safety (with regard to both modes and materials).
- The electrical technical data can be found inside the rangehood, after removing the grease filters.
- The flexible power cable supplied is already connected internally and emerges from the rangehood near the air outlet tube.
- Before installing the electrical connections, you should:
– Verify that the indicated electrical data coincide with the voltage values and frequency of the electrical circuit in the house where the range hood is to be installed;
– Check that the premises have electrical protection against short circuits and electrocution, pursuant to the applicable legislation;
– Always switch off the current using the double-pole switch before maintenance and turn the power on again for normal use only when the operation has been completed.
Product Use
This product is designed for household use and should not be used for commercial applications.
After use, always ensure that all controls are in the “OFF” position.
When frying with a gas flame, take particular care not to allow the oil or grease in the pan to catch fire. (Flambé)
Ducted or Recirculating?
Ducted range hoods (or extractor range hoods) extract the cooking fumes from the kitchen and expel them from the space via ducting. Good design practice would always see a fire-rated ducting system extend to the house exterior, rather than to the ceiling cavity. When a range hood is ducted only into the ceiling space, the collection of humidity and grease can present very real health issues and fire hazards.
Recirculating (or non-ducted or filtered) range hoods extract cooking fumes and pass them through filters. As the name would suggest, they recirculate this air back into the room. Recirculating range hoods are not as effective as removing fumes from a kitchen space, but they are sometimes the only option due to budgetary or building constraints. You should be made aware of the requirement to change and clean filters on a regular basis for the optimum efficiency of air filtering.
Electrical Cord
Ensure the supply cord is not exposed to heat, chemicals, or sharp objects. If the supply cord is damaged, it must be replaced by the manufacturer.
Description
Rangehood

- 200mm outlet
- P.A. Filter Cover Panel
- Filters
- 2x Side adaptors
- 2x Rectangle to round adaptors
NOTE: Filter and light quantity may vary from model to model.
Cleaning & Maintenance
Warning
Always switch off and disconnect power before cleaning.
Cleaning the Interior
Clean the interior of the range hood with a damp cloth and a neutral detergent or denatured alcohol.
NOTE: Do not use denatured alcohol on the exterior of the rangehood. Do not clean the electric parts or the motor with liquids or solvents
Cleaning the Exterior
We recommended using a soft cloth, water, and liquid soap, rinsing it well, and then drying it thoroughly.
For better results, you can use high-quality cleaning and protection products (e.g. Steel Kleen) to clean your rangehood.
- The recommended detergent is a solution of water and neutral liquid soap.
- It is very important for the liquid soap to not contain granules that could scratch the surface.
- First, apply the solution to a soft cloth and then rub the cloth over the range hood. It is important to follow the direction of the stained surface with the cloth (refer to figure on left).
- Do not pour any liquid directly onto the range hood.
- The cloth must have no buttons, zips, or fasteners that could scratch the surface.
- It is strictly forbidden to use chemical solvents, aggressive, grainy, or abrasive products, naphtha, alcohol, or similar products that could damage the surface of the range hood.
- The manufacturer will not be held responsible for functional or aesthetic damage caused by cleaning with products that are not suitable or using inadequate cleaning methods.
Filters
For this appliance to function effectively, regular maintenance is a must.
- The function of the filter is to absorb the grease particles given off during cooking.
- Clogged filters and heavy oil deposits restrict airflow and may cause the motor to overheat and become a fire hazard.
- Filters should be cleaned every 3-6 weeks or after 40 hours of use.
- For induction cooktops, please aim to clean them at least every 10 days, depending on use.
- The filters can be washed by hand or in the dishwasher.
– Washing by hand – Immerse the filter in hot water and a suitable detergent and when clean, rinse with plenty of hot water.
– Dishwasher – Put the filter in the dishwasher and select a short program at low temperature.
NOTE: The color of the metal mesh filters may change after several washes. This is normal and it is not necessary to change the filters.
Please ensure the filters are completely dry before placing them back in position and operating the rangehood.
Endure the baffles are cool before removing, to ensure no oil is spilled.
To remove the filter press handle and remove it through the front guide; bend it slightly and remove the filter. To replace, perform the same operation but in reverse.
Warning
- If the grease filters are very dirty, the motor will extract only a small quantity of air, which reduces its efficiency;
- The grease deposits that build upon the filter are highly flammable and COULD EASILY CATCH FIRE.
- The manufacturer is exonerated from all responsibility in the event of a fire due to poor maintenance of the grease filters.
Replacing the LED Strip Light
Danger
Always switch off and disconnect the power cord before replacing any light bulbs. Failure to do so may cause serious injury. Please be aware that the light bulb will retain heat for a short period of time after being switched off.
Step 1
Before replacing the LED lights, please switch off the unit. Open panels and remove the filter to access the internals.
Step 2
Using the appropriate tools loosen and remove the three fasteners from the inside, affixed to the LED light strip.
Step 3
Unclip the connector and push the LED light strip to remove it. When reinserting the new LED strip, gently clip it back in place and tighten the fasteners.
Installation
Rangehood Size vs Cooktop Size
In addition to the size, the height of the rangehood above the cooktop is important to obtain the best performance.
INADEQUATE
Rangehood smaller than cooking zone
ADEQUATE
Rangehood same size as the cooking zone
OPTIMAL
Rangehood larger than cooking zone
Mounting Instructions
The height and position of the range hood in relation to the cooktop can greatly affect the efficiency and extraction. After extensive testing, Schweigen recommends the following:
| Type of Cooktop | Minimum Height | Optimal Height | Maximum Height |
| Electric | 1200mm | 1500mm | 1800mm |
| Gas | 1200mm | 1500mm | 1800mm |
Heights above 1800mm will reduce the effectiveness of the air extraction rate.
*Important: In addition to the information in this manual, please check all relevant state requirements for minimum– maximum heights, as well as regulations regarding the expelling of air. Schweigen is not liable if your range hood is not installed in accordance with these legal requirements.
Ceiling Cassette Installation Guide
DANGER
Always switch off and disconnect the power supply before installing the rangehood. Failure to do so may cause serious injury.
WARNING
Please remove filters before installation. Failure to do so may damage the clips.
- To install the range hood to the ceiling, there needs to be a section on the ceiling that corresponds to the sizes given in the technical drawing with support for the rangehood frame.
- Open the split-extraction sheet of the device and remove the filter before installing
- The external motor system with the range hood can be connected at this stage or after the rangehood has been secured.
- Place the range hood in the section determined by the ceiling mounts and secure by screws into the rangehood mounting holes.

Optional Bulkhead Installation Guide
DANGER
Always switch off and disconnect the power supply before installing the rangehood.
Failure to do so may cause serious injury.
WARNING
Please remove filters before installation. Failure to do so may damage the clips.
- To install the range hood into a bulkhead, there needs to be a bulkhead made that corresponds to the sizes given in the technical drawing with support for the range hood.
- Open the split-extraction sheet of the device and remove the filter before installing.
- Install threaded rods onto the beam and drill holes at the four corners on the range hood, and adjust the nuts to level the unit.
- Connect the external motor system with the range hood.

Optional Side port installation
DANGER
Always switch off and disconnect the power supply before installing the rangehood. Failure to do so may cause serious injury.
WARNING
Please remove filters before installation. Failure to do so may damage the clips.
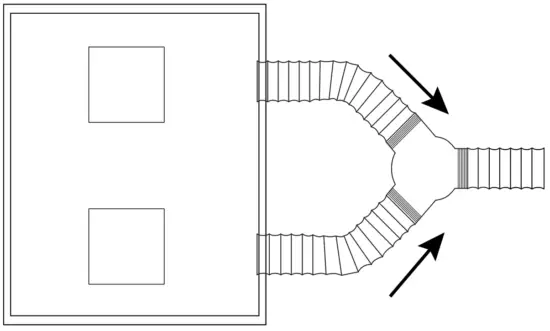
This range hood has an optional side port installation. The steps below describe the steps to convert the ports and how to attach them to either single or twin motors. Please note the joint is not included.
- Unscrew the top round ducting adaptor and cover hole. (Fig A)
- Unscrew side panel covers and attach rectangle side adaptors. (Fig A)

- Attach square to round ducting to rangehood (Fig. B)

- For a single motor installation: Attach ducting from rangehood to y joint. Attach 200mm flex ducting from y joint to external motor (Fig. C).

- For a twin motor installation: Attach 200mm flex ducting from the adaptors to each motor (Fig. D).

Single Isodrive ® Motor Installation

- Isodrive® Motor
- Roof Seal Kit (Dektite) (Not supplied)*
- Support Straps (Not supplied)*
- Attach Flexi Duct to Bell-Mouth Adaptor using ring clamp. Please DO NOT rip the ducting.
- Isodrive ® Motor Power Lead (Male Plug)
- Switch to Isodrive® Motor Lead (Female Plug)
- Multi-fit Y-Joint, cut to 200 x 200 x 200mm
- Light switch lead
- Flexi Ducting must be pulled taut.
DO NOT crush or kink the ducting. - Connect Flexi ducting to the outlet on rangehood using a ring clamp.
Please DO NOT rip the ducting.
NOTE
The Isodrive® motor system does not include the roof seal kit, cable ties, ring clamp, or support straps.
NOTE
The general power outlet for the range hood should be located in an easy to access area.
DANGER
All electrical wiring from the motor to the range hood should be kept inside the roof space.
Twin Isodrive® Motor Installation
Isodrive® Motors- Roof Seal Kit (Dektite) (Not supplied)*
- Support Straps (Not supplied)*
- Attach Flexi Duct to Bell-Mouth Adaptor using ring clamp. Please DO NOT rip the ducting.
- Isodrive® Motor Power Lead (Male Plug)
- Switch to Isodrive® Motor Lead (Female Plug)
- Light switch lead
- Flexi Ducting must be pulled taut.
DO NOT crush or kink the ducting. - Connect Flexi ducting to the outlet on rangehood using a ring clamp.
Please DO NOT rip the ducting.
NOTE
The Isodrive® motor system does not include the roof seal kit, cable ties, ring clamp, or support straps.
NOTE
The general power outlet for the range hood should be located in an easy to access area.
DANGER
All electrical wiring from the motor to the range hood should be kept inside the roof space.
Ducting
Please DO NOT crush or kink the ducting.
- Crushed or kinked ducting creates sharp corners that create turbulence. This reduces the size and efficiency of the ducting, lowers extraction, and may cause excessive noise.

- Sweeping curves and taut ducting reduce resistance and turbulence. The airflow and extraction will be more efficient and stronger.

Back Draft Fins (For applicable models)
The supplied ducting has been manufactured with an allowance for the backdraft fins to operate without hindrance. It is the smooth extended end of the ducting.
When installing Back Draft Fins, please ensure that you insert the Back Draft Fins onto the backdraft base, which is attached to the top of the motor outlet before installation. Then place the smooth extended edge of the ducting into the backdraft base and fix it securely.
Should your Back Draft Fins get stuck, this is not a warranty issue.
Condensation Information
Cooking with Induction Cooktops
Cooking with induction or a similar cooktop may produce condensation on the range hood.
Unlike basic electric or gas cooking, induction cooktops heat food and liquid instantly, which in turn, produces vapors rapidly. Because of this rapid process, the rangehood filters do not have enough time to warm, which increases the chance of condensation forming.
There are many variables that may contribute to condensation forming, some of which include but are not limited to:
- Variance in climate – geographical location
- Position of your home & kitchen – morning/afternoon sun
• Installation distance from cooktop to the rangehood - Speed of food & liquid heating
- Filter size – larger canopy preferred
- Quality of pots or cookware you are using – high quality recommended
How to reduce the possibility of condensation forming:
- Ensure the rangehood is installed by a qualified professional, carefully following the installation guide
- Turn on the range hood 5-10 minutes prior to cooking, and leave it on for 10-15 minutes after cooking; this helps clear remaining vapors from the flue.
- Start the cooking process at a low-to-medium setting and allow time for the rangehood to warm up.
- Clean filters regularly.
- Ensure constant airflow in the cooking zone; this helps optimize the rate of extraction.
- Follow all induction cooktop manufacturer advice.
For further advice, tips, or information regarding cooking with induction, please contact your induction cooktop manufacturer.
Troubleshooting
Before you contact the technical service department, make sure that the product is plugged in and power is supplied.
- Do not take any action that will damage the product.
IMPORTANT
Never attempt to repair this appliance by yourself. Always refer to a qualified Service Technician.
| Loud noise from the rangehood | Rangehood air exaction is weak | Rangehood does not work | |
| X | Check electric connection. The voltage of the electric network should be between 220 – 240V, and the motor should be connected to a grounded plug and turned on. | ||
| X | Check motor switch. Please ensure that there is the power to the motor and is switched on. | ||
| X | Check filters. The filters should be washed regularly, see filter cleaning. | ||
| X | Please make sure there is no obstruction in ducting or with the backdraft fins. | ||
| X | X | Check the outlet, make sure it is not blocked and you have the correct diameter ducting installed. | |
| X | Check the Isodrive® installation manual, make sure the Flexi ducting is installed correctly, eg. Length of ducting used, and keep the ducting taut. | ||
| X | Check the ducting has not come off the rangehood outlet or has been eaten through by rodents. |
Service
Lodging an Online Service Request
In the event that the failure is not due to the faults mentioned in the Troubleshooting section, you can lodge an online Service Request. To lodge an online Service Request, visit our website www.schweigen.com.au/service-and-warranty and click on the link and complete the service request form.
A service request will require the following information:
- The purchase date
- The rangehood model and motor type (eg. Isodrive® 650)
- The serial number or batch number (this number is on a sticker inside the rangehood).
- A copy of the purchase receipt (without a receipt your service request cannot be processed).
Alternatively, you can call Customer Service:
Australia …….. 1300 881 693
New Zealand …… 0800 200 510
Faulty Installation
It is not the responsibility of Schweigen to rectify any incorrect installations. A service call-out fee will be charged for any Schweigen technician that attends a call, whereby it is established that the fault is due to an incorrect installation or non-manufacturing fault. Should the appliance be installed in such a way that the service agent is unable to gain access to the appliance, the person/s who own the premises or the property where the appliance resides — will be responsible to provide access to the appliance at their expense.
Specifications
Dimensions
Disclaimer
Under our policy of continuous product development, product specifications may change without notice. Prospective purchasers should therefore check with the retailer to ensure this publication correctly describes the products being offered for sale. All information supplied is to be used for general reference purposes only and is on the understanding that Schweigen Home Appliances will not be liable for any loss, liability, or damage of whatever kind arising as a result of any reliance upon such information. All pictures used in the guide are for illustrative purposes only.
Although our information and marketing state the term ‘Silent’ for certain models, the following applies to various models that are sold with certain Isodrive® Systems and baffle filters. When a model with the larger motored Isodrive® System is operated at a higher speed/s air movement may be heard. For example, while operating on speeds 4 & 5 (For 5-speed models) the rangehood may be audible due to a large amount of air movement moving through the filter.
* Please make sure that the range hood and motor have been installed as per the corresponding instruction guides in order for optimal performance (the Isodrive® Motor Manual can be found with the Isodrive® Motor, or online at schweigen.com.au).
Schweigen Home Appliances has presented this information in good faith to all their retailers and distributors to convey before any/all purchase/s. Information is supplied upon the condition that the person/s receiving the information will make their own determination as to its suitability for their purpose/s prior to use. In no event will Schweigen Home Appliances be responsible for damages of any nature whatsoever resulting from the use of, or reliance upon, information from their website or the products to which the information refers.
DISPOSAL OF OLD APPLIANCES
Electronic waste (or e-waste) including kitchen appliances are banned from direct disposal at a landfill. E-waste contains hazardous materials, which can harm the environment and human health. Valuable materials contained in e-waste are lost when appliances, computers, and other household electrical goods are sent to landfills.
Recycle your e-waste to:
- reduce landfill
- protect the air and waterways from harmful materials
- minimize consumption of raw materials to produce electronic products
- reduce greenhouse gases created in the production of new materials.
Kitchen appliances including Rangehoods and Ovens can only be disposed of at approved recycling centers. Visit www.recyclingnearyou.com.au/whitegoods for more information, or contact your local council or the store you purchased this appliance, for a list of approved recyclers.
Australia
Unit 4/1-5 Lake Drive, Dingley Village, Victoria 3172.
Phone 1300 881 693
Email [email protected]
Web www.schweigen.com.au
New Zealand
5 Tolich Place, Henderson, Auckland 0610.
Phone 0800 200 510
Email [email protected]
Web www.Parex.co.NZ



















