TORO 66810 Flex-Force Power System 60V MAX Battery Packs and Chargers

WARNING
CALIFORNIA Proposition 65 Warning The power cord on this product contains lead, a chemical known to the State of California to cause birth defects or other reproductive harm. Wash hands after handling. Use of this product may cause exposure to chemicals known to the State of California to cause cancer, birth defects, or other reproductive harm.
Introduction
These chargers and battery packs are intended to be used by homeowners and professional operators. These battery packs are designed to be charged only by Toro 60V lithium-ion battery chargers. These chargers are designed to charge only Toro 60V lithium-ion battery packs. They are not designed to charge any other batteries. Using these products for purposes other than their intended use could prove dangerous to you and bystanders. Read this information carefully to learn how to operate and maintain your product properly and to avoid injury and product damage. You are responsible for operating the product properly and safely. Visit www.Toro.com for more information, including safety tips, training materials, accessory information, help finding a dealer, or to register your product. Whenever you need service, genuine the manufacturer parts, or additional information, contact an Authorized Service Dealer or the manufacturer Customer Service and have the model and serial numbers of your product ready. Figure 1 identifies the location of the model and serial numbers on the product. Write the numbers in the space provided.
Important: With your mobile device, you can scan the QR code on the serial number decal (if equipped) to access warranty, parts, and other product information.
Safety-Alert Symbol
The safety-alert symbol (Figure 2) shown in this manual and on the machine identifies important safety messages that you must follow to prevent accidents.
The safety-alert symbol appears above information that alerts you to unsafe actions or situations and is followed by the word DANGER, WARNING, or CAUTION.
DANGER indicates an imminently hazardous situation which, if not avoided, will result in death or serious injury.
WARNING indicates a potentially hazardous situation which, if not avoided, could result in death or serious injury.
CAUTION indicates a potentially hazardous situation which, if not avoided, may result in minor or moderate injury. This manual uses two other words to highlight information. Important calls attention to special mechanical information and Note emphasizes general information worthy of special attention.
Safety
IMPORTANT SAFETY INSTRUCTIONS
- SAVE THESE INSTRUCTIONS—This manual contains important safety and operating instructions for Toro 60V lithium-ion battery packs and Toro 60V lithium-ion battery chargers.
Before using the battery charger, read all the instructions and cautionary markings on the battery charger, battery pack, and product using the battery pack.
CAUTION—To reduce risk of injury, charge Toro 60V lithium-ion battery packs with Toro 60V lithium-ion battery chargers only. Other brands of battery packs may burst, causing personal injury and damage.
WARNING—Plugging the battery charger into an outlet that is not 120 V can cause a fire or electric shock. Do not plug the battery charger into an outlet other than 120 V. For a different style of connection, use an attachment plug adapter of the proper configuration for the power outlet if needed. - These devices comply with Part 15 of the FCC rules. Operation is subject to the following 2 conditions: (1) These devices may not cause harmful interference; and (2) these devices must accept any interference received, including interference that may cause undesired operation.
Training
- Do not allow children or untrained people to operate or service this device. Allow only people who are responsible, trained, familiar with the instructions, and physically capable to operate or service the device.
- Do not allow children to use or play with the battery pack or battery charger; local regulations may restrict the age of the operator.
Preparation
- Use appliances only with specifically designated battery packs. Using other types of battery packs may create a risk of injury and/or fire.
- Do not use a damaged or modified battery pack or battery charger. It may exhibit unpredictable behavior, resulting in fire, explosion, or risk of injury.
- If the supply cord to the battery charger is damaged, contact an Authorized Service Dealer to replace it.
Operation
- Charge the battery pack with only the battery charger specified by Toro. A charger suitable for 1 type of battery pack may create a risk of fire when used with another battery pack.
- Charge the battery pack in a well-ventilated area only.
- Follow all charging instructions and do not charge the battery pack outside of the temperature range specified in the instructions. Otherwise, you may damage the battery pack and increase the risk of fire.
- Under abusive conditions, the battery pack may eject liquid; avoid contact. If you accidently come into contact with the liquid, flush with water. If the liquid contacts your eyes, seek medical help. Liquid ejected from the battery pack may cause irritation or burns.
- Do not expose a battery pack or tool to fire or excessive temperature. Exposure to fire or temperature above 130°C (265°F) may cause explosion.
- CAUTION—A mistreated battery pack may present a risk of fire, explosion, or chemical burn.
- Do not disassemble the battery pack.
- Replace the battery pack with a genuine Toro battery pack only; using another type of battery pack may cause a fire or risk of injury.
- Keep battery packs out of the reach of children and in the original packaging until you are ready to use them.
Maintenance and Storage
- Do not allow children to clean or maintain the battery charger.
- When the battery pack is not in use, keep it away from metal objects such as paper clips, coins, keys, nails, and screws that can make a connection from 1 terminal to another. Shorting the battery terminals may cause burns or a fire.
- Do not attempt to repair the battery pack or battery charger. Have an Authorized Service Dealer perform service on the battery pack or battery charger using identical replacement parts to ensure that the product is safely maintained.
- Check with local codes for possible special battery disposal instructions.
Safety and Instructional Decals
Safety decals and instructions are easily visible to the operator and are located near any area of potential danger. Replace any decal that is damaged or missing.

- The battery pack is charging.
- The battery pack is fully charged.
- The battery pack is over or under the appropriate temperature range.
- Battery pack charging fault

- Battery charge status

- Battery charge status
Model 88620

Model 66810

- Read the Operator’s Manual.
- Do not expose to rain.
- Keep away from open fire or flames.

- Read the Operator’s Manual.
- Call2Recycle® battery recycling program
- Keep away from open fire or flames.
- Do not expose to rain.
Model 88625

- Read the Operator’s Manual.
- Keep away from open fire or flames.
- Call2Recycle® battery recycling program
- Do not expose to rain.
Model 88640

- Read the Operator’s Manual.
- Keep the Lithium Ion battery away from open fire or flames.
- Call2Recycle® battery recycling program
- Do not expose to rain.
Model 88660

- Read the Operator’s Manual.
- Do not expose to rain.
- Keep away from open fire or flames.
Model 88650

- Read the Operator’s Manual.
- Keep away from open fire or flames.
- Call2Recycle® battery recycling program
- Do not expose to rain.
Model 88675

- Read the Operator’s Manual.
- Do not expose to rain.
- Keep away from open fire or flames.

- The battery pack is charging.
- The battery pack is over or under the appropriate temperature range.
- The battery pack is fully charged.
- Battery pack charging fault

Setup
Mounting the Battery Charger (Optional)
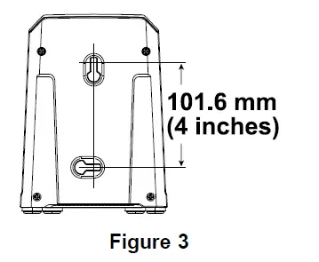
If desired, mount the battery charger securely on a wall using the wall-mount key holes on the back of the charger. Mount it indoors (such as a garage or other dry place), near a power outlet, and out of the reach of children. Refer to Figure 3 for assistance in mounting the charger. Slide the charger over the appropriately positioned hardware to secure the charger in place (hardware not included).

Specifications
Battery Charger

Battery Pack

Appropriate Temperature Ranges

- Charging time will increase if you do not charge the battery within this range. Store the tool, battery pack, and battery charger in an enclosed clean, dry area.
Attachments/Accessories
A selection of Toro approved attachments and accessories is available for use with the machine to enhance and expand its capabilities. Contact your Authorized Service Dealer or authorized Toro distributor or go to www.Toro.com for a list of all approved attachments and accessories. To ensure optimum performance and continued safety certification of the machine, use only genuine Toro replacement parts and accessories. Replacement parts and accessories made by other manufacturers could be dangerous.
Operation
Charging the Battery Pack
Important: The battery pack is not fully charged when you purchase it. Before using the tool for the first time, place the battery pack in the charger and charge it until the LED display indicates the battery pack is fully charged. Read all safety precautions. Important: Charge the battery pack only in temperatures that are within the appropriate range; refer to Specifications (page 9).
Note: At any time, press the battery-charge-indicator button on the battery pack to display the current charge (LED indicators).
- Ensure that the vents on the battery and charger are clear of any dust and debris.
- Line up the cavity in the battery pack (Figure 4) with the tongue on the charger.
- Slide the battery pack into the charger until it is fully seated (Figure 4).
- To remove the battery pack, slide the battery backward out of the charger.
- Refer to the following table to interpret the LED indicator light on the battery charger.

Refer to Troubleshooting (page 12) for more information.
Important: The battery can be left on the charger for short periods between uses. If the battery will not be used for longer periods, remove the battery from the charger; refer to Storage (page 11).
- Battery pack cavity
- Handle
- Battery pack venting areas
- Charger LED indicator light
- Battery pack terminals
- Charger venting areas
- Battery-charge-indicator button
- Adapter charger
- LED indicators (current charge)
Maintenance
Maintenance and servicing are not required under normal conditions. When you clean the surface of the equipment, wipe it only with a dry cloth. Do not disassemble the equipment; if it is damaged, contact your Authorized Service Dealer.
Storage
Important: Store the tool, battery pack, and charger only in temperatures that are within the appropriate range; refer to Specifications (page 9). Important: If you are storing the battery pack for the off-season, charge it until 2 or 3 LED indicators turn green on the battery. Do not store a fully charged or fully depleted battery. When you are ready to use the machine again, charge the battery pack until the left indicator light turns green on the charger or all 4 LED indicators turn green on the battery.
- Disconnect the product from the power supply (i.e., remove the battery pack) and check for damage after use.
- Clean all foreign material from the product.
- Do not store the charger with the battery pack installed.
- When not in use, store the tool, battery pack, and battery charger out of the reach of children.
- Keep the tool, battery pack, and battery charger away from corrosive agents, such as garden chemicals and de-icing salts.
- To reduce the risk of serious personal injury, do not store the battery pack outside or in vehicles.
- Store the tool, battery pack, and battery charger in an enclosed clean, dry area.
Preparing the Battery Pack for Recycling
Important: Upon removal, cover the terminals of the battery pack with heavy-duty adhesive tape. Do not attempt to destroy or disassemble the battery pack or remove any of its components.

Troubleshooting


California Proposition 65 Warning Information
What is this warning?
You may see a product for sale that has a warning label like the following:
WARNING: Cancer and Reproductive Harm—www.p65Warnings.ca.gov.
What is Prop 65?
Prop 65 applies to any company operating in California, selling products in California, or manufacturing products that may be sold in or brought into California. It mandates that the Governor of California maintain and publish a list of chemicals known to cause cancer, birth defects, and/or other reproductive harm. The list, which is updated annually, includes hundreds of chemicals found in many everyday items. The purpose of Prop 65 is to inform the public about exposure to these chemicals. Prop 65 does not ban the sale of products containing these chemicals but instead requires warnings on any product, product packaging, or literature with the product. Moreover, a Prop 65 warning does not mean that a product is in violation of any product safety standards or requirements. In fact, the California government has clarified that a Prop 65 warning “is not the same as a regulatory decision that a product is ‘safe’ or ‘unsafe.’” Many of these chemicals have been used in everyday products for years without documented harm. For more information, go to https://oag.ca.gov/prop65/faqs-view-all. A Prop 65 warning means that a company has either (1) evaluated the exposure and has concluded that it exceeds the “no significant risk level”; or (2) has chosen to provide a warning based on its understanding about the presence of a listed chemical without attempting to evaluate the exposure.
Does this law apply everywhere?
Prop 65 warnings are required under California law only. These warnings are seen throughout California in a wide range of settings, including but not limited to restaurants, grocery stores, hotels, schools, and hospitals, and on a wide variety of products. Additionally, some online and mail order retailers provide Prop 65 warnings on their websites or in catalogs.
How do the California warnings compare to federal limits?
Prop 65 standards are often more stringent than federal and international standards. There are various substances that require a Prop 65 warning at levels that are far lower than federal action limits. For example, the Prop 65 standard for warnings for lead is 0.5 μg/day, which is well below
the federal and international standards.
Why don’t all similar products carry the warning?
- Products sold in California require Prop 65 labelling while similar products sold elsewhere do not.
- A company involved in a Prop 65 lawsuit reaching a settlement may be required to use Prop 65 warnings for its products, but other companies making similar products may have no such requirement.
- The enforcement of Prop 65 is inconsistent.
- Companies may elect not to provide warnings because they conclude that they are not required to do so under Prop 65; a lack of warnings for a product does not mean that the product is free of listed chemicals at similar levels.
Why does the manufacturer include this warning?
the manufacturer has chosen to provide consumers with as much information as possible so that they can make informed decisions about the products they buy and use. the manufacturer provides warnings in certain cases based on its knowledge of the presence of one or more listed chemicals without evaluating the level of exposure, as not all the listed chemicals provide exposure limit requirements. While the exposure from the manufacturer products may be negligible or well within the “no significant risk” range, out of an abundance of caution, the manufacturer has elected to provide the Prop 65 warnings. Moreover, if the manufacturer does not provide these warnings, it could be sued by the State of California or by private parties seeking to enforce Prop 65 and subject to substantial penalties.




















