Flex-Force Power System™ 60V MAX Battery Charger
Instruction Manual
Introduction
This battery charger is intended to be used by residential homeowners. Battery chargers Model 81801 is designed to charge lithium-ion battery pack Models 81820, 81825, 81850, 81860, and 81875. It is not designed to charge any other batteries. Using this products for purposes other than its intended use could prove dangerous to you and bystanders.
Battery pack Models 81820, 81825, 81850, 81860, and 81875 are designed for use in most Toro Flex-Force Power System TM products.
Read this information carefully to learn how to operate and maintain your product properly and to avoid injury and product damage. You are responsible for operating the product properly and safely.
Visit www.Toro.com for more information, including safety tips, training materials, accessory information, help finding a dealer, or to register your product.
Safety
IMPORTANT SAFETY INSTRUCTIONS
- SAVE THESE INSTRUCTIONS—This manual contains important safety and operating instructions for battery pack Models 81820, 81825, 81850, 81860, and 81875 and battery charger Model 81801.
- Before using the battery charger, read all the instructions and cautionary markings on the battery charger, battery pack, and product using the battery pack.
- CAUTION—To reduce risk of injury, charge battery pack Models 81820, 81825, 81850, 81860, and 81875 with battery chargers Model 81801, 81802, or Model 81805 only. Other brands of battery packs may burst, causing personal injury and damage.
- WARNING—Plugging the battery charger into an outlet that is not 220 to 240 V can cause a fire or electric shock. Do not plug the battery charger into an outlet other than 220 to 240 V. For a different style of connection, use an attachment plug adapter of the proper configuration for the power outlet if needed.
- CAUTION—A mistreated battery pack may present a risk of fire or chemical burn. Do not disassemble the battery pack. Do not heat the battery pack above 68°C (154°F) or incinerate it. Replace the battery pack with a genuine Toro battery pack only; using another type of battery pack may cause a fire or explosion. Keep battery packs out of the reach of children and in the original packaging until you are ready to use them.
Training
- Do not allow children or untrained people to operate or service this device. Allow only people who are responsible, trained, familiar with the instructions, and physically capable to operate or service the device.
- Do not allow children to use or play with the battery pack or battery charger; local regulations may restrict the age of the operator.
Preparation
- Use appliances only with specifically designated battery packs. Using other types of battery packs may create a risk of injury and/or
- Do not use a damaged or modified battery pack or battery charger. It may exhibit unpredictable behavior, resulting in fire, explosion, or risk of injury.
- If the supply cord to the battery charger is damaged, contact an Authorized Service Dealer to replace it.
Operation
- Do not use non-rechargeable batteries.
- Charge the battery pack with only the battery charger specified by Toro. A charger suitable for 1 type of battery pack may create a risk of fire when used with another battery pack.
- Charge the battery pack in a well-ventilated area only.
- Do not expose a battery pack or battery charger to fire or to temperatures higher than 100°C (212°F).
- Follow all charging instructions and do not charge the battery pack outside of the temperature range specified in the instructions.
Otherwise, you may damage the battery pack and increase the risk of fire. - Under abusive conditions, the battery pack may eject liquid; avoid contact. If you accidently come into contact with the liquid, flush with water. If the liquid contacts your eyes, seek medical help. Liquid ejected from the battery pack may cause irritation or burns.
IV. Maintenance and Storage
- Do not allow children to clean or maintain the battery charger.
- When the battery pack is not in use, keep it away from metal objects such as paper clips, coins, keys, nails, and screws that can make a connection from 1 terminal to another. Shorting the battery terminals may cause burns or a fire.
- Do not attempt to repair the battery pack or battery charger. Have an Authorized Service Dealer perform service on the battery pack or battery charger using identical replacement parts to ensure that the product is safely maintained.
- Do not dispose of the battery in a fire. The cell may explode. Check with local codes for possible special disposal instructions.
SAVE THESE INSTRUCTIONS
Safety and Instructional Decals
Safety decals and instructions are easily visible to the operator and are located near any area of potential danger. Replace any decal that is damaged or missing.
- Read the Operator’s Manual.
- For indoor use
- Double insulated
- Do not dispose improperly

1. The battery pack is charging.
2. The battery pack is fully charged.
3. The battery pack is over or under the appropriate temperature range.
4. Battery pack charging fault
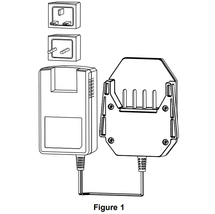
Setup
Installing the Correct Plug
If necessary, remove and install the correct plug from the charger to match your receptacle as shown in Figure 1.
Product Overview
Specifications
Battery Charger
| Model | 81801 |
| Type | 60V MAX Lithium-Ion Battery Charger |
| Input | 220 to 240V AC 50-60Hz Max 2.0A |
| Output | 60V MAX DC 1.0A |
Battery Pack
| Model | 81820 | 81825 | 81850 | 81860 | 81875 |
| Battery pack capacity | 2.0 Ah 108 Wh | 2.5 Ah 135 Wh | 4.0 Ah 216 Wh | 6.0 Ah 324 Wh | 7.5 Ah 405 Wh |
| Battery manufacturer rating = 60V maximum and 54V nominal. Actual voltage varies with load. | |||||
Appropriate Temperature Ranges
| Charge battery pack at | 5°C (41°F) to 40°C (104°F)* |
| Use battery pack at | -30°C (-22°F) to 49°C (120°F) |
| Store battery pack/charger at | 5°C (41°F) to 40°C (104°F)* |
*Charging time will increase if you do not charge the battery within this range. Store the tool, battery pack, and battery charger in an enclosed clean, dry area.
Store the machine, battery pack, and battery charger in an enclosed clean, dry area.
Operation
Charging the Battery Pack Important: Charge the battery pack only in temperatures that are within the appropriate range; refer to Specifications (page 7). Note: At any time, press the battery-charge-indicator button on the battery pack to display the current charge (LED indicators). 1. Ensure that the vents on the battery are clear of any dust and debris.

1. Battery pack cavity
2. Battery pack venting areas
3. Battery pack terminals
4. Battery-charge-indicator button
5. LED indicators (current charge) 6. Handle
2. Line up the cavity in the battery pack (Figure 2) with the tongue on the charger.
3. Slide the charger into the battery pack until it is fully seated (Figure 2).
4. To remove the battery pack, slide the charger backward out of the battery pack.
5. Refer to the following table to interpret the LED indicator light on the battery charger.
| Indicator light | Indicates |
| Off | No battery pack inserted |
| Green blinking | Battery pack is charging |
| Green | Battery pack is charged |
| Red | Battery pack and/or battery charger is over or under the appropriate temperature range |
| Red blinking | Battery pack charging fault* |
*Refer to Troubleshooting (page 11) for more information. Important: The battery can be left on the charger for short periods between uses.
If the battery will not be used for longer periods, remove the battery from the charger; refer to Storage (page 10).
Maintenance
Maintenance and servicing are not required under normal conditions. When you clean the surface of the equipment, wipe it only with a dry cloth. Do not disassemble the equipment; if it is damaged, contact your Authorized Service Dealer.
Storage
Important: Store the charger only in temperatures that are within the appropriate range; refer to Specifications (page 7). Important: If you are storing the charger for the off-season, ensure that it is unplugged and that there are no batteries installed. Disconnect the product from the power supply (i.e., remove the battery pack) and check for damage after use.
- Do not store the charger with the battery pack installed.
- Clean all foreign material from the product.
- Do not store any machine with the battery pack installed.
- When not in use, store the tool, battery pack, and battery charger out of the reach of children.
- Keep the tool, battery pack, and battery charger away from corrosive agents, such as garden chemicals and de-icing salts.
- To reduce the risk of serious personal injury, do not store the battery pack outside or in vehicles.
- Store the tool, battery pack, and battery charger in an enclosed clean, dry area.
Troubleshooting
Perform only the steps described in these instructions. All further inspection, maintenance, and repair work must be performed by an authorized service center or a similarly qualified specialist if you cannot solve the problem yourself.
| Problem | Possible Cause | Corrective Action | ||
| The battery charger is not | 1. | The battery charger | 1. | Unplug the battery |
| working. | is over or under the appropriate temperature range. | charger and move it to a place where it is dry and the temperature is between 5°C (41°F) and 40°C (104°F). | ||
| 2. | The outlet that the battery charger is plugged into does not have power. | 2. | Contact your licensed electrician to repair the outlet. | |
| The LED indicator light | 1. | There is an error in | 1. | Remove the battery |
| on the battery charger is | the communication | pack from the battery | ||
| blinking red. | between the battery pack and the charger, | charger, unplug the battery charger from the outlet, and wait | ||
| 10 seconds. Plug the battery charger into the outlet again and place the battery pack on the battery charger. If the | ||||
| LED indicator light on the battery charger is still blinking red, repeat this procedure again. | ||||
| If the LED indicator light on the battery charger is still blinking red after 2 attempts. properly dispose of the battery pack at a battery recycling facility. | ||||
| 2. | The battery pack is weak. | 2. | Properly dispose of the battery pack at a battery recycling facility. |
EEA/UK Privacy Notice
Toro’s Use of Your Personal Information
The Toro Company (-Toro”) respects your privacy. When you purchase our products, we may collect certain personal information about you, either directly from you or through your local Toro company or dealer. Toro uses this information to fulfil contractual obligations – such as to register your warranty, process your warranty claim or to contact you in the event of a product recall – and for legitimate business purposes – such as to gauge customer satisfaction, improve our products or provide you with product information which may be of interest. Toro may share your information with our subsidiaries, affiliates, dealers or other business partners in connection these activities. We may also disclose personal information when required by law or in connection with the sale, purchase or merger of a business. We will never sell your personal information to any other company for marketing purposes.
Retention of your Personal Information Toro will keep your personal information as long as it is relevant for the above purposes and in accordance with legal requirements. For more information about applicable retention periods please contact [email protected].
Toro’s Commitment to Security Your personal information may be processed in the US or another country which may have less strict data protection laws than your country of residence. Whenever we transfer your information outside of your country of residence, we will take legally required steps to ensure that appropriate safeguards are in place to protect your information and to make sure it is treated securely.
Access and Correction
You may have the right to correct or review your personal data, or object to or restrict the processing of your data. To do so, please contact us by email at [email protected]. If you have concerns about the way in which Toro has handled your information, we encourage you to raise this directly with us. Please note that European residents have the right to complain to your Data Protection Authority.



















