FIAMMA 02094-26A Dodge Promaster Door Mounted Bike Rack

Package contents



Check that nothing has been damaged or deformed during transport. In the event of doubts or questions concerning the installation, use or limitations of the product, contact the dealer. We recommend that the installation is carried out by qualifi ed personnel and in compliance with current local regulations.
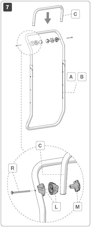
Installation instructions








WARNING!
Do not fully tighten the fork to the tube, leave 2mm space.
Instructions for use


In case of problems please contact your local dealer indicating the data on the nameplate. Consult our website for spare parts drawing.
Safety instructions

Accessories

Warranty
In case of defects with regards to materials and manufacturing, the customer is entitled to the warranty in accordance with local laws and regulations of the country in which the product was purchased.
All rights reserved.
Fiamma S.p.A.
reserves the right to modify at any time, without notice, prices, materials, specifications and models or to cease production of any model.
fiamma.com
Fiamma S.p.A. – Italy
Via San Rocco, 56
21010 Cardano al Campo (VA)

















