Power Recline Adapter Mount
Installation Guide
Power Recline Adapter Mount
Installation Guide
Power Recline Adapter Mount
CAUTION: This is not crash certified and therefore it is not to be used for transportation uses.
This is a supplementary installation guide, for full information and warnings refer to Back Support User Manual provided with your Standing Powerchair Adapter Mount.
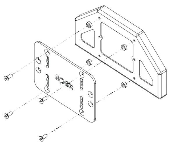
1a. Installation to Quantum TRUBalance 3 (TB3):
Attach Mount to Quantum TB3 back plate using M6 x 16mm countersink screws and 5mm spacers provided in the fastener kit. Use a 4mm hex key to firmly tighten the screws.
1b. Installation to Sedeo Pro:
Attach Mount to J3 Fixed Back Adapter Pro using M6 x 16mm countersink screws and 5mm spacers provided in the fastener kit. Use a 4mm hex key to firmly tighten the screws.
2. Attach Back Support to Mount using M6 x 12mm button screws and M6 washers provided in the fastener kit.
Use a 4mm hex key to tighten the screws.
Spex Ltd
[email protected]
32 Detroit Drive, Rolleston 7675
New Zealand
Call +643 307 9790
Fax +643 307 2820
www.spexseating.com
Manual: PowerReclineMount20221026














