Corelli Maxi Wall Washer
OUTDOOR
DOWNLIGHT
Product code MO14 mondolux.com.au
![]()
Installation Manual
Notes
- This fitting requires 220-240V AC/50Hz power input to the driver. Installation should be done by qualified electrician.
- Electrical Wiring and installation should always comply as per the local standards.
- Do not open or interchange any parts of this fitting or the warranty is void.
- The fitting may be hot to touch after continuous use.
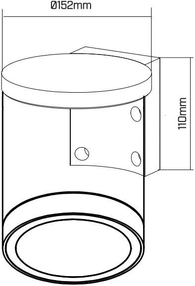
- Proper distance should be maintained between wall and the fitting to achieve uniform illumination*.
- Ensure the opening/wider angle of the reflector should be facing the wall
- Do not install the fitting near heat source.
- Do not install any inductive loads such as exhaust fans or pond pumps etc. within the same lighting circuit of this fitting. Issues caused by such wirings are not covered under our warranty policy.
- Wherever applicable – waterproof cable joints like junction boxes or heavy walled adhesive lined heat shrinks must be used, or warranty is void.
- If you have any questions about the installation of this product, please contact Mondolux at 1300 601 931.
Care & Refinishing
Mondolux strongly recommends following cleaning procedures to maintain proper finish of the product.
- Do not use bleach or concentrated solvents under any circumstances.
- For Black finish: Wipe gently with a soft damp cloth or chamois. Do not use any abrasive compounds.
Optional Accessories
Corelli Mini & Maxi Wall Washers have following optional accessories to suit different lighting and control method requirements.
- Single wall bracket to make it a wall mount fitting.* (as shown below)
- Corelli Maxi Wall Washer comes with standard ON/OFF control. For any other optional control method please contact Mondolux.

Surface Mounted Wall Mounted
*For specific accessory order details and installation guidelines, please contact Mondolux at %’ $$ *$%- %”
Installation Steps
- Ensure the mains power is turned off.
- Drill required number of holes in the ceiling and fix the mounting plate using the provided screws. See picture 1.
- Pass the power supply cable through the gasket of the mounting plate and secure it. See picture 2.
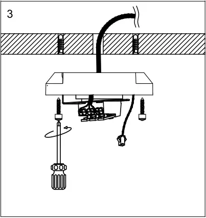
- Connect the wires on the supply side to the respective terminals of the driver using quick connectors. See picture 3.
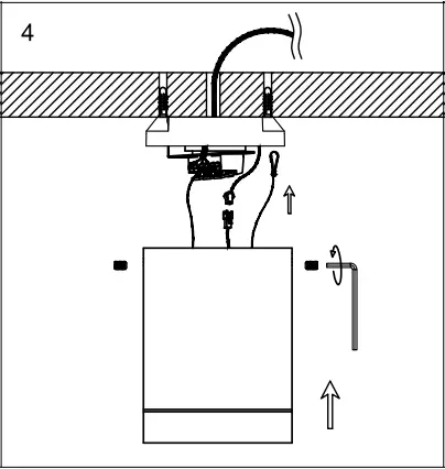
- Fit and screw to fix the fitting to the mounting plate. See picture 4.
- Installation is complete. Turn the mains on. See picture 5.




















