CRAFTSMAN CMXEBAR600 Corded Bench Band Saw

Motor
Frequently blow or vacuum out any sawdust from the motor. Follow lubrication instruction on the motor label.
WARNING: To avoid electrocution or fire, immediately replace a worn, cut or damaged power cord.
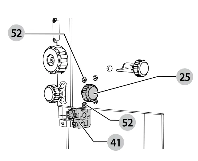
Adjusting The Upper Blade Guide Travel (Fig. V)
If the upper blade guide assembly is not move up and down easily or falls when the lock knob is loosened, the following adjustment should be performed.
- Loosen the upper guide lock knob 25 by turning it counterclockwise.
- Using a Phillips screwdriver, tighten or loosen the
two screws 52 located beside the upper guide lock knob 25 to adjust the blade guide travel. - Move the blade guide assembly ’41 up and down to check for smooth movement and ability to hold in position.
- Make further adjustments to the two screws if required. When blade guide is properly adjusted, it should move smoothly and able to hold in position when released.
- Tighten the upper blade lock knob 25 by turning clockwise.

Lubrication
All of the bearings are packed with grease at the factory. They require no further lubrication.
CAUTION: Never put lubricant on the blade while it 1sspmnmg.
Free Warning Label Replacement
If your warning labels become illegible or are missing, call 1-888-331-4569 for a free replacement.




















