meliconi S10 TWS Wireless Bluetooth Headset User Manual
Product Overview
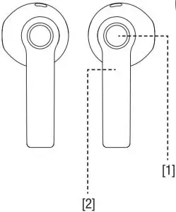
- Multi-function button (touch zone)
- Earpods LED indicator

- Case charging LED indicator

- Case USB Type-C charging port

Safety information
DANGER! The product contains Lithium batteries: the following information are intended to avoid dangerous situations:
- Keep the product away from sources of excessive heat (> 60°C): never throw into fire, do not leave in direct sunlight, do not leave in the passenger compartment of a car in the sun;
- Keep the product away from water and liquids in general. Never immerse in water or liquids;
- Never attempt to dry the product by heating it (e.g. with a hair dryer, oven, microwave);
- Keep away from children and pets. The product contains small parts that could be swallowed (danger of suffocation and internal bums);
- If accidentally swallowed, seek medical attention immediately (Lithium batteries can cause bums to internal organs and may result in death);
- Using the product while driving a vehicle is not recommended; its use while driving may be illegal in certain areas/Countries;
- Use only suitable and approved chargers to recharge the product,
WARNING
- Do not open the product or attempt to replace batteries;
- Do not use a damaged product;
- If you experience a burning smell while charging, disconnect the product and contact the Customer Service;
- If the battery leaks, remove it without touching it directly with your hands (irritating and corrosive), do not use the product anymore and contact the Customer Service;
- The product is equipped with a safety device that prevents the battery from being recharged if the ambient temperature is outside the acceptable limits (temperature too high or too low). Make sure that the temperature is within the operating limits to recharge the product;
- If the product is not going to be used for a long time, recharge it and keep it in a cool and dry place to prevent the batteries from over-discharging;
- If the duration of use after charging is very short, the batteries are exhausted.
Operating temperature (°C) 0 — 45
Charging temperature (°C) 0 — 45
Hearing safety
To avoid possible damage to the ear, do not use the earpods at high volume for long periods of time. In particular circumstances, turn down the volume or stop listening to ensure the sound does not distract you and/or cover the noises around you, thus creating dangerous situations.
Package contents
- 2 Safe Pods EVO Earpods (right and left)
- Charging case
- USB type-C charging cable
- Instruction manual
Presentation
The Wireless MySound “Safe Pods EVO” earpods, using Bluetooth° technology, allow to:
- listen to music wireless;
- switch automatically to taking a call while you are listening to music;
- make phone calls with your smartphone.
Charging the batteries
When used for the first time, fully charge the system, i.e. case with earpods inserted (approx. 2hrs). Each earpod has a rechargeable battery inside it that allows continuous use of the product for approx. 3 hours. Inside the case there is a rechargeable battery of greater capacity which, thanks to its energy, allows you to charge the earpods several times in any situation, even in the absence of an external power supply (a fully charged case allows the earpods to be charged up to 3 times).
Charging the Case
- Insert the USB type-C connector of the cable supplied into the charging port of the case [4];
- Insert the other end of the USB cable into a USB socket (5 Volts); you can use a USB port of a computer that is turned on.
- During recharging, the LED [3] stays on in red if the battery charge of the case is below 25%, and it stays on in blue if it is above 25%;
- When charging is complete, the LED light [3] switches off.
Charging the earpods
- NB: The case cover must remain closed when charging the earpods
- Place the earpods in the charging case and check that the LED [3] starts flashing: it will flash red if the battery charge of the case is below 25% and blue if the battery charge is above 25%;
- If this is not the case, it means that the charging case battery is flat: connect the USB power supply for simultaneous charging (case + earpods);
- When the earpods are fully charged, the LED [3] colour will be steady.
Case Charge Indicator (LED [3])
| Blue flashing LED | the case has a remaining charge of more than 25% and is charging the earpods | optimal situation |
| Red flashing LED | the case has less than 25% remaining charge and is charging the earpods | we recommend recharging the case until the LED switches off |
| Blue steady LED | the case has a residual charge of more than 25% | optimal situation |
| Red steady LED | the case has a charge of less than 25% | we recommend recharging the case until the LED switches off |
First pairing with Bluetooth® device (mobile phone)
When using the Safe Pods EVO earpods for the first time with a Bluetooth® device, you must pair your device with the earpods (“pairing”):
Automatic Pairing
- Switch off the Bluetooth® connection on the device to be paired (e.g. Smartphone);
- Open the case cover without removing the earpods;
- Switch on the Bluetooth® connection and activate the “Device Search” function on the device to be paired (e.g. Smartphone). Make sure that the phone has the “visible to all” option activated;
- On the phone, check the list of Bluetooth® devices found and look for “Safe Pods EVO”;
- Select “Safe Pods EVO” and follow the instructions on the phone screen to pair it. (Refer to the phone’s user manual for further details);
- If a password is required, enter “0000” (4 zeros, not required for recent devices);
- Once pairing is complete, put on the earpods and verify that they are playing sounds. If necessary, turn up/adjust the volume on the mobile phone;
- If the sound is not reproduced, insert both earpods into the case and repeat the operation from step 1.
Manual Pairing
- Switch off the Bluetooth® connection on the device to be paired (e.g. Smartphone);
- Remove both earpods and check that the LED lights [2] flash as follows:
Earpod 1: Blue flashing
Earpod 2: LED light off
NB: If, once removed from the case, both earpods are off, press and hold both mufti-function buttons [1] (touch zone) for 5 seconds until the LEDs [2] start flashing blue, and wait for the operating situation described in the table above; - Switch on the Bluetooth® connection and activate the “Device Search” function on the device to be paired (e.g. Smartphone). Make sure that the phone has the “visible to all” option activated;
- On the phone, check the list of Bluetooth® devices found and look for “Safe Pods EVO”;
- Select “Safe Pods EVO” and follow the instructions on the phone screen to pair it. (Refer to the phone’s user manual for further details);
- If a password is required, enter “0000” (4 zeros, not required for recent devices);
- Once pairing is complete, put on the earpods and verify that they are playing sounds. if necessary, turn up/adjust the volume on the mobile phone;
- If the sound is not reproduced, insert both earpods into the case and repeat the operation from step 1.
Using the earpods – connections
WARNING: Using the Safe Pods EVO earpods while driving a vehicle is not recommended and is illegal in some countries. Consult and comply with the laws and regulations in force regarding the use of earpods while driving a vehicle and always pay utmost caution and attention while driving.
During normal use, simply open the cover of the charging case and the earpods will automatically connect to your BluetootW device if it is switched on and within a range of 10 metres (automatic pairing).
When you have finished using the earpods, we recommend that you keep them in the case, so that they are charged for the next time.
If the earpods are left unused and connected outside the charging case, they will run out of power in a short time; to avoid this, turn them off by pressing the multi-function button [1] (touch zone) on both earpods for about 5 seconds until you hear the turn-off tone;
if the earpods are in use, you must stop audio playback before turning them off.
When receiving a call, the music is interrupted and the ring tone is played by both earpods; when the call is ended, the music starts again automatically.
Using the music and call controls
- Pause / Play: While playing a track, in music mode, briefly press the multi-function key [1] (touch zone) on one of the two earpods to pause; press again to resume playing the current track.
- Answer/ end calls: Briefly press the multi-function button [1] (touch zone) on one of the two earpods once to answer an incoming call or to end the conversation.
- Refuse a call: Press and hold down the mufti-function button [1] (touch zone) on one of the two earpods for 2 seconds to refuse an incoming call.
- Changing track: In music mode, briefly press the multi-function button [1] (touch zone) of the RIGHT earpod twice until playback switches to the next track, or briefly press the multi-function button [1] (touch zone) of the LEFT earpod twice until playback switches to a previous track.
- Virtual Assistant: Press the multi-function button [1] (touch zone) of one of the two earpods three times to call up the virtual assistant on your device: Sid (for Apple systems) or Google Assistant (for Android systems).
Technical Features
| Bluetooth version | 5.0 |
| Transmission range | 10m |
| Use | 3hrs (new batteries, 100% charge, medium volume) |
| Charging time | 1.5hrs (earpods) 2hrs (case) |
| Battery charger | DC 5V/ 1A max. |
| Frequency response | 20Hz -20kHz |
| RF frequency band | 2.400-2.4835 GHz |
| Max RF Output | <=2.5mW EIRP limit |
| Battery | Lithium 3.7V/30mAh (earpods) Lithium 3.7V/400mAh (case) |
| Operating temp | 0°C – 45°C |
| Charging temp | 0°C – 45°C |
SIMPLIFIED EU DECLARATION OF CONFORMITY
The manufacturer, Meliconi S.p.A., declares that the type of radio equipment marketed as True Wireless MySound “Safe Pods EVO” Earpods is compliant with Directives 2014/53/EU (RED) and other product directives. The full text of the EU Conformity Declaration can be found at: www.meliconi.com/doc/safepodsevo
Disposal of the product and batteries
The European Directive 2012/19/EU on Waste Electrical and Electronic Equipment (WEEE) requires this equipment to not be disposed of as normal household waste, but to be disposed of separately to optimise the recovery and recycling of their component materials and prevent any harm to health and the environment due to potentially hazardous substances. The crossed-out bin symbol is shown on all products as a reminder. Waste can be taken to the appropriate collection centres or returned to the distributor that sold it free of charge and without any obligation to purchase a new piece of equipment when the equipment is smaller than 25cm. Further information on the proper disposal of this equipment is available from the relevant local services. The batteries must be removed from the product by the consortium in charge of disposal.
This symbol indicates that the product contains a built-in rechargeable battery which is subject to European Directive 2013/56/EU and therefore cannot be disposed of as normal household waste. The product must be taken to an appropriate separate waste collection centre or returned to the retailer.
FCC Statement
This equipment has been tested and found to comply with the limits for a Class B digital device, pursuant to Part 15 of the FCC Rules. These limits are designed to provide reasonable protection against harmful interference in a residential installation. This equipment generates uses and can radiate radio frequency energy and, if not installed and used in accordance with the instructions, may cause harmful interference to radio communications. However, there is no guarantee that interference will not occur in a particular installation. If this equipment does cause harmful interference to radio or television reception, which can be determined by turning the equipment off and on, the user is encouraged to try to correct the interference by one or more of the following measures:
- Reorient or relocate the receiving antenna.
- Increase the separation between the equipment and receiver.
- Connect the equipment into an outlet on a circuit different from that to which the receiver is connected.
- Consult the dealer or an experienced radio/TV technician for help.
This device complies with part 15 of the FCC Rules. Operation is subject to the following two conditions:
- This device may not cause harmful interference, and
- this device must accept any interference received, including interference that may cause undesired operation.
Changes or modifications not expressly approved by the party responsible for compliance could void the user’s authority to operate the equipment.
This device complies with Industry Canada licence-exempt RSS standard(s). Operation is subject to the following two conditions:
- This device may not cause interference, and
- This device must accept any interference, including interference that may cause undesired operation of the device.






















