REDCAT Sixty Four Dual Servo Kit
INCLUDED

REQUIRED
Hopping Servo – Reefs RC 300 Alacritous (part# RER15334): www.redcatracing.com/products/RER15334 Double Sided Tape
Hook and Loop Tape
Tools Needed:
- 1.5mm Hex Driver
- 2.0mm Hex Driver
- 4.5mm Nut Driver
- 5.5mm Nut Driver Pliers
REMOVE THE SERVOS FROM THE S1xTvFouR
Unplug Servo Wires:
Completely remove the triangular center wire harness from the vehicle by removing three screws. (lmg.1)
Remove the front screw from both wire hold-down straps. (lmg.2)
Note: Pivot the hold-down strap closest to the receiver out of the way to remove the servo wires.
Unplug the steering servo (CH.1) and hopper servo (CH.3) wires from the receiver.
Remove Links & Servos:
Locate the two transfer rods connected to the front of the hopping bellcrank and pop the lower part of the links off of the lifting bellcrank’s ballstuds. (lmg.3)
Note: These are located toward the front of the chassis.
Pop off the steering and hopper links. (lmg.4)
Note: The front of the hopper link requires the removal of a M2x10BH screw. (lmg.4)
Remove the (2) M3X10BH screws in the steering servo mounts. (lmg.4)
Remove the (2) M3X10BH screws in the hopper servo mounts. (lmg.4)
Remove both servos from the vehicle being careful not to damage their wires.
Remove the interior perch mount from the front of the hopper servo by removing the ( 4) screws that hold on the servo mounts. Note: This interior perch mount will not be reused however, the servo mounts will be reinstalled with shorter M3X6BH screws later.
PREPARE SERVOS
STOP! Before installing servo horns, you will need to set the channel reverse, endpoints and center trims for channels 1, 3 and 4 in the radio.
Center the trims and subtrims for CH.1, CH.3 & CH.4 in the radio. (if unsure, refer to the SixtyFour manual for navigating the radio’s menu)
See the charts below for channel reversing and endpoint settings.
CH. NORMAL/REVERSE CH. LOW ENDPOINT HIGH ENDPOINT
CH.1 REVERSE CH.1 DO NOT CHANGE DO NOT CHANGE
CH.3 NORMAL CH.3 35% 35%
CH.4 REVERSE CH.4 35% 35%
Note: The endpoint settings in the chart are a good starting point and will be fine tuned later.
Hopper Servo:
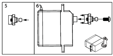
Remove the servo horn from the hopping servo. (lmg.1) Remove the ball stud from the servo horn and rotate 180 degrees. Reinsert back into the servo horn as shown. (lmg.2) Plug the hopping servo into CH.3 of the receiver.
Note: The lightest color servo wire should be closest to the sticker on the top of the receiver. Be sure the radio’s CH.3 lifting lever is in the up position. (lmg.3) Power on the radio and then the ESC. Install the servo horn onto the servo. Orient the servo horn centered straight up as shown. (lmg.4) Turn off the ESC and unplug the servo.
Additional Servo:
Install the included ball stud onto the included servo horn. (lmg.5) Plug the additional servo into CH.4 of the receiver.
Note: The lightest color servo wire should be closest to the sticker on the top of the receiver. Be sure the radio’s CH.4 lifting lever is in the up position. (lmg.3) Power on the radio and then the ESC.
Install the servo horn onto the servo. Orient the servo horn centered straight up as shown. (lmg.6) Turn off the ESC and unplug the servo.
Steering Servo:
Remove the Servo horn from the steering servo. Remove the ball stud from the servo horn. (lmg.7) Rotate the ball stud 180 degrees and reinsert back into the servo horn as shown. (lmg.8)
Note: Set the assembled steering horn aside. It will be installed onto the servo later. (Pg.9)
PREPARE SERVOS
Servo Mounts:
Install the servo mounts with M3X6BH screws as shown below.
The steering servo reuses its original servo mounts.
The hopping servo reuses its original servo mounts.
The additional hopping servo uses the included standard-size servo mounts.
Note: If replacing the original steering servo with a Reefs micro 99 servo, use the included mini servo mounts
Note Each servo mount uses (2) screws for a total of ( 4) screws per servo.

SERVO INSTALLATION
Install Servos To OSK Plate:
Arrange the servos onto the DSK plate as shown.
Using (6) M3x12FH screws and (6) M3 nuts, Secure the servos to the DSK tray.


REMOVE HOPPING BELLCRANK
Remove Hopping Bellcrank:
Remove the ( 4) screws that secure the hopping bellcrank to the chassis.
Remove the hopping bellcrank from the SixtyFour.
Disassemble Hopping Bellcrank:
Remove both ball studs and the pivot shaft from the hopping bellcrank to be reused later. (Image to the right) The hopping bellcrank and the two bearings in the hopping bellcrank will not be reused.
Assemble New OSK Lifter Bellcranks:
Using the original ball studs, original pivot shaft and new larger 4x9x4 bearings included with the dual servo kit, assemble the new lifter bellcranks as shown below.
Note: Be sure to align the bellcrank shim correctly between the two lifter bellcranks. (See below images)

INSTALL LIFTER BELLCRANKS
Install New DSK Lifter Bellcranks:
Using the original (4) M2X6BH screws from the hopping bellcrank, install the new lifter bellcranks onto the chassis as shown.
Note: Be sure to line up the center plate notch onto the chassis as shown in the below images.


Install Lifter Servo Links:
Install the original hopper servo link along with the new hopper servo link onto the lifter bellcranks with (2) M2x10BH screws. (lmg.l)(lmg.2)
Note: Use the original screw that came out of the hopper bellcrank and one new M2x10BH screw included with the kit.
Reinstall Front Transfer Rods:
Pop the lower part of the front transfer rods onto the two ball studs located at the front of the newly installed lifter bellcranks. (lmg.3)
INSTALL ASSEMBLED OSK CHASSIS PLATE
Remove Chassis Screws:
Remove (6) screws from the chassis before installing the DSK plate. (lmg.1) These screws will be replaced with (6) longer M3X10FH screws (included with kit) when installing the DSK plate.
Note: The screws to be removed will line up with the holes in the DSKplate.
Secure Servo Wires To The Chassis:
Route the servos wires along the wire path, swing the wire hold down strap back into place to secure the servo wires. Tighten the rear screw but do not insert the front screw. (Left image)
Note: If the receiver was removed while unplugging the servo wires in a prior step, use new double sided tape to refasten it in the same location.
Install The OSK Plate Onto The Chassis:
Using (6) M3X10FH screws and (2) M3X10BH screws, install the DSK plate onto the chassis as shown.

CONNECT SERVO WIRES, INSTALL LINKS & SET RADIO
Connect Servo Wires:
Plug the steering servo into CH.1 of the receiver. The lightest orange wire should be facing up.
Plug the front left lifting servo into CH.3 of the receiver. The lightest wire should be facing up.
Plug the front right lifting servo into CH.4 of the receiver. The lightest wire should be facing up. (See diagram below)
Connect Lifter Servo Links:
Pop the two lifter servo links onto both of the lifter servo horn’s ballstuds.
Set CH.3 & CH.4 Endpoints:
Now you can fine tune the radio’s “Endpoint” trim so that the transfer rod, that connects the forward end of the main bellcrank to the suspension, is barely touching the front suspension mount in its lowest position. If you go too far, the servo horn may bend slightly and the servo may also hum or buzz. This is too far and could cause damage to the servo or other components. Back off the endpoint adjustment slightly until the excess strain is gone. Perform this step for both Ch.3 & Ch.4.
Once the previous step is complete, slowly move the lifting lever on the radio until the front suspension is fully extended. Stop as soon as the suspension is fully extended, if you go too far it may damage the servo or other components. Adjust the “Endpoint” trim in the radio so that the suspension is fully extended, but there isn’t excess strain on the servo or servo horn. If the suspension stops moving and the servo horn flexes or the servo buzzes or hums, back down the endpoint trim a little until the excess strain is gone. Perform this step for both Ch.3 & Ch.4.
Install the Steering Servo Horn:
Take the steering servo horn, that you have previously assembled on Pg.3, and pop its ball stud into the end of the steering link. With the radio and vehicle still on, position (by hand) the front wheels so they are centered (tracking straight). Install the servo horn onto the steering servo. Try to position the servo horn so that the front wheels remain as straight as possible. Screw in the servo horn with the same screw that was originally holding it in place before disassembling.
Adjust CH.1 Trim:
On the radio, adjust the trim for Ch.1 so that the car tracks straight while driving. You may also need to adjust the endpoints. Be sure the wheels steer all the way to the left and right without strain to the servo, servo horn or steering components. If there is noticeable strain or if the steering servo buzzes while fully steered to either side, back off the endpoint adjustment on the radio for that side.
INSTALL INTERIOR TRAY MOUNT
Install the interior tray mount onto the chassis with the same (3) button head screws that were removed from the triangular center wire holder plate on Pg.2. (Right image)
Stick the hook and loop tape onto the interior tray mount.
Note: Be sure to use the same side of the hook and loop tape that was on the original interior tray mount. If the original interior tray mount used the hook side, use the hook side on the new interior tray mount.


INSTALL ASSEMBLED OSK CHASSIS PLATE


















