ICS 100-150 Pilot Operated Servo Valve
Installation Guide
ICS 100-150 Pilot Operated Servo Valve
Installation
- Mounting orientation

- Direction of flow

- Removing function module with eyebolt

- Exploded view

- Insert orientation

- Welding

- Torque specification

Valve body size Nm ft lb Pos. A 100-150 220 162 Pos. B 100-150 25 18 Pos. C 100-150 50 37
Maintenance
Module torque specification
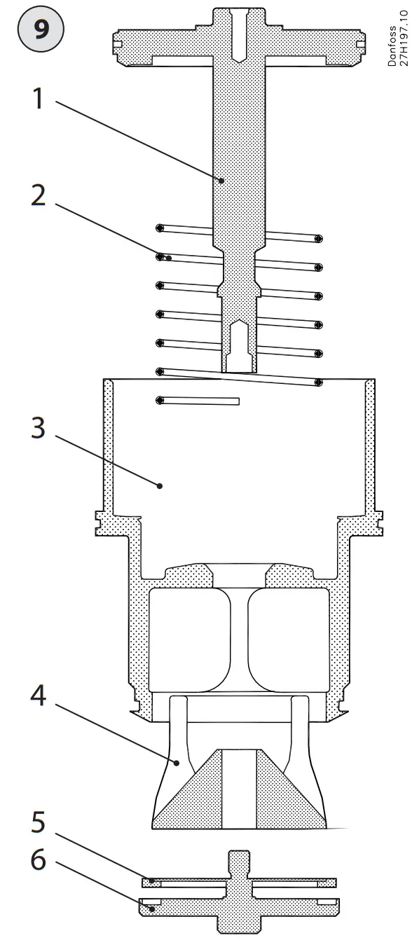
Exploded view of function module
- Piston
- Spring
- Insert
- Cone
- Valve plate
- Washer plate
Installation
Refrigerants
Applicable to HCFC, HFC, R717 (Ammonia) and R744 (CO2).
Flammable hydrocarbons are not recommended.
The valve is only recommended for use in closed circuits. For further information please contact Danfoss.
Temperature range
-60 °C – +120 °C (-76 °F – +248 °F)
Pressure range
The valves are designed for a max. working pressure of 52 bar (754 psig).
Technical data
The ICS can be used in suction, liquid, hotgas and liquid/vapor lines. The ICS regulates the flow of the media by modulation or on/off function, depen ding on the control impulse from the screwed on pilot valve or valves.
Regulating range
Dependent on the chosen type and combination of pilot valves.
Opening differential pressure (p)
The ICS main valve requires a minimum opening differential pressure of 0.07 bar (1 psi) to begin to open and 0.2 bar (2.9 psi) to be completely open.
Back pressure to the ICS valve forces the piston to open and create a reverse flow. If reverse flow is not accepted, a check valve must be installed downstream of the ICS valve (be aware of the risk of trapped liquid).
Design (fig. 4)
- Body
- Top cover
- Function module
- Gasket
- Bolts
- Plug
- Eye bolt
- Manual operating spindle
- ⅜ NPT plug (available on certain valve bodies)
Installation
The valve must be installed with the manual opening in vertically upwards position (fig. 1).
The valve must be installed with the arrow in the direction of the flow and the top cover upwards (fig. 2). The top cover can be rotated in any direction.
The valve is fitted with a spindle for manual opening. The spindle can open the ICS 100-150 valves against a differential pressure of 10 bar (154 psi). If an external pilot valve is used, the pilot line must be connected to the upper side of the main line so that any dirt and oil from the plant will not find its way into the pilot line.
If the ICS is to be used as a solenoid valve in a liquid line, external control pressure cannot be recommended because it can cause liquid hammer. The valve is designed to withstand a high internal pressure. However, the piping system should be designed to avoid liquid traps and reduce the risk of hydraulic pressure caused by thermal expansion.
It must be ensured that the valve is protected from pressure transients like “liquid hammer” in the system.
Welding (fig. 3, 4 and 6)
The valve can stay assembled during the welding process provided that the welding method is controlled and ensuring no welding debris.
The function module can be lifted out using a bolt size M10 or by using one of the eyebolts placed in the topcover (fig 4, pos. 7). Debris blocking the bolt hole will need to be removed.
The internal surfaces and weld connections of the enclosed ICS/ ICM valve have been applied with an anti-corrosion treatment.
In the event that the function modules are to be left disassembled for any length of time, please ensure that the function modules are further protected by placing in a polyethylene bag or by applying a rust protection agent (e.g. refrigeration oil or BRANOROL) on the surfaces.
Only materials and welding methods, compatible with the valve body material must be used. The valve should be cleaned internally to remove welding debris on completion of welding.
Avoid welding debris and dirt in the valve body and the function module. The valve body must be free from stresses (external loads) after installation.
The valves must not be mounted in systems where the outlet side of the valve is open to atmosphere. The outlet side of the valve must always be connected to the system or properly capped off, for example with a welded-on end plate.
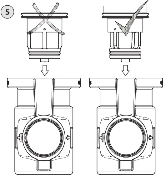
Assembly and tightening (fig. 5 and 7)
Remove welding debris and any dirt from pipes and valve body before assembly. Check that the o-rings are intact before installing the function module. If possible, apply some refrigeration oil to ease the insertion and to protect the o-rings. Check that the top gasket has not been damaged. If the surface has been damaged or the gasket has been bent, it must be replaced.
During insert of the function module make sure it is rotated like shown in fig. 5
None of the 4 vertical legs are allowed to be positioned in the middle of the connection opening.
The legs must be rotated to be within 30 to 60 degrees from middle position.
Make sure the insert is in-line with the housing and fully at the bottom (no angle – no partial protrusion).
The gasket has to fit easy with no gaps.
Tighten the top cover with a torque wrench to the values stated in fig. 7.
Colours and identification
The ICS valves are Zinc-Chromated from factory. The Zinc-Chromatization does not cover the welding connections. If further corrosion protection is required, the valves can be painted.
Precise identification of the valve is made via the ID plate on the top cover.
The external surface of the valve housing must be protected against corrosion with a suitable top coating after installation involving welding and consequent assembly.
Protection of the ID plate when painting the valve is recommended.
Maintenance
Service
The ICS 100-150 valves are easy to dismantle and can be serviced by using spare parts available from Danfoss.
Do not open the valve while the valve is still under pressure.
Pressure relief can be done by carefully opening the manual operating spindle. Because of small grooves along the thread on the spindle, refrigerant can be released into open air when operating the manual opener. This operation must only be done after providing the correct countermeasures under local legislation.
The function module can be lifted out using a bolt size M10 screwed into the threaded hole of the piston on the function module (fig. 3). Debris blocking the bolt hole will need to be removed.
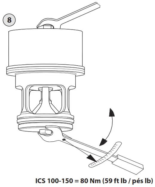
The ICS 100-150 insert can be serviced by dismantling the insert. This is done by screwing off the washer plate fig 7 and removing the parts (fig 8). When reassembling the valve, Danfoss recommends to use Loctite 586 or similar on the thread of the washer plate.
Upon opening and removal of the function module:
- Check that the o-rings on the function module has not been damaged. A valve with a damaged o-ring might not modulate according to the specification.
- Check that the piston and cylinder is free of scratches and look for wear marks. If the wear is excessive the function module should be serviced or replaced to prevent false pilot signal.
- Check that the movement of the cylinder and valve seat is free and with low friction.
- If the teflon valve plate has been damaged the teflon valve plate should be replaced by using a Danfoss sparepart kit.
Assembly
Remove any dirt from the body before the valve is assembled. Check that all channels in the valve are not blocked by particles or similar.
If possible, apply some refrigeration oil to ease the insertion and to protect the o-rings.
Tightening
See Tightening in Installation section.
Use only original Danfoss parts, including O-rings and gaskets for replacement. Materials of new parts are certified for the relevant refrigerant.
In cases of doubt, please contact Danfoss.
Drawings are only for illustration, not for dimensioning or construction.
Danfoss accepts no responsibility for errors and omissions. Danfoss Industrial Refrigeration reserves the right to make changes to products and specifications without prior notice.

The following text is applicable to the UL listed products ICS 100-150
Applicable to all common non-flammable refrigerants, including/excluding (+) R717 and to non-corrosive gases/liquids dependent on sealing material compatibility (++). The design pressure shall not be less than the value outlined in Sec. 9.2 of ANSI/ASHRAE 15 for the refrigerant used in the system. (+++).
Danfoss A/S
Climate Solutions
danfoss.com
+45 7488 2222
Any information, including, but not limited to information on selection of product, its application or use, product design, weight, dimensions, capacity or any other technical data in product manuals, catalogues descriptions, advertisements, etc. and whether made available in writing, orally, electronically, online or via download, shall be considered informative, and is only binding if and to the extent, explicit reference is made in a quotation or order confirmation. Danfoss cannot accept any responsibility for possible errors in catalogues, brochures, videos and other material.
Danfoss reserves the right to alter its products without notice. This also applies to products ordered but not delivered provided that such alterations can be made without changes to form, fit or function of the product.
All trademarks in this material are property of Danfoss A/S or Danfoss group companies. Danfoss and the Danfoss logo are trademarks of Danfoss A/S. All rights reserved.
© Danfoss Climate Solutions
2022.06
AN00008641666104-001001
Info for UK customers only :
Danfoss Ltd., 22 Wycombe End, HP9 1NB,![]()
























