Masimo LNCS Neo Sensor Application: Hand
Pulse Oximetry Sensor Application For VEP Clients
- Foot or Hand Application
- Patient Weighing< 3 kg
- Finger or Toe Application
- Patient Weighing> 40 kg
- Replacement tapes available


LNCS Neo Sensor Application: Hand
Apply to Outer Aspect of Hand Only: Pinky Finger Side
- The emitter
and detector
must be aligned directly across from each other.
LNCS Neo Sensor Application: Foot
Apply to Outer Aspect of Foot Only: Pinky Toe Side
- The emitter
and detector
must be aligned across from each other.


- Finger or Toe Application
- Patient Weighing 3 – 20 kg
- Replacement tapes available
LNCS Infant Sensor: Finger Application
- The emitter
and detector
must be aligned directly across from each other.

- Emitter LEDs on nail
- Detector on the fleshy pad
LNCS Infant Sensor: Toe Application
- The emitter
should be placed on the nail and the detector
must be placed on the fleshy pad of the toe.
When do I use the Neo Sensor?
The Neo sensor is for use on the hand or foot of very small babies. The recommended weight is less than 3 kg. The Neo sensor is also for use on the finger or toe of large children greater than 40 kg. ALWAYS ensure you check for good sensor alignment as your child grows. When the emitter and detector no longer align when wrapped on the hand or foot you will need to switch to an Infant sensor on the finger or toe.
When do I use the Infant Sensor?

- The Infant sensor is for use on the fingers and toes of infants and children.
- The recommended range is for infants greater than 3 to 20 kg in weight.
- Use this sensor when the Neo sensor no longer aligns properly on your childs’ hand or foot.
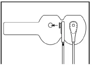
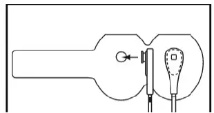
Masimo LNCS Y-I Sensor

LNCS YI Multi-Site Sensor
Adults (> 30 kg) and Pediatrics (10-50 kg)
- Ring or Middle finger of the non-dominant hand is the preferred monitoring site. Alternately, the other digits on the non-dominant hand or great toe may be used.
Infants (3-10 kg)
- The preferred sites are the outer aspect of the foot, under the 5th toe, or outer aspect of the palm of the hand under the 5th finger. For infants with large or edematous feet, the great toe or thumb is recommended.
Infants (10-30 kg)
- The preferred sites are the great toe or thumb. Alternatively, the 2nd toe or ring or middle finger can be used.
Neonates (1-3 kg)
- The preferred site is the outer aspect of the foot.
- Alternately, across the palm of the hand can be used.
Masimo LNCS Y-I Sensor Application Steps
Masimo LNCS Y-I Sensor Foot Application Steps
- Remove the release liner from the wrap
- Apply the Standard or CleanShield wrap to the YI sensor
- Position the emitter (red band) on the hole near the inside of the wrap
- Apply the sensor to either foot, preferably the right, using the thinnest part of the foot (lateral aspect), under the 4th or 5th toe
- Pick up the sensor, holding the sensor by the cable in your right hand
- Visualize the center between the emitter and detector – position this under the 5th toe with the cable directed toward the ankle
- Hold the emitter and detector in place using your thumb and index finger
- Wrap the tab of the Standard wrap around the foot
- Ensure the emitter and detector are aligned
- Connect the sensor to the cable
Masimo LNCS Y-I Sensor Foot Application

Masimo LNCS Y-I Sensor Hand Application Steps
- Remove the release liner from the wrap
- Apply the Standard or CleanShield wrap to the YI sensor
- Position the emitter (red band) on the hole near the inside of the wrap
- Apply the sensor to the lateral aspect (thinnest side), under the 4th or 5th digit of the right palm
- Open the baby’s hand with your left hand
- Pick up the sensor, holding the sensor by the cable in your right hand
- Visualize the center point between the emitter and detector – position this under the 5th digit with the cable directed toward the wrist
- Hold the emitter and detector in place using your thumb and index finger
- Wrap the Standard wrap around the hand, going between the thumb and hand
- Ensure the emitter and detector are aligned
- Connect the sensor to the cable
Masimo LNCS Y-I Sensor Hand Application


























