
Quickstart
This is a
secure
Siren
for
Europe.
Please make sure the internal battery is fully charged.
A.) Plug the SHSG10000 into a socket
B.) Set the Gateway/Controller into inclusion mode (Click the + (Add) button in your Z-Wave App and follow the further instructions)
C.) Press the Network-button 3 times within 1.5 seconds and the Status-LED will flash 3 times
D.) If the Add device process is successful, the Status-LED will turn off.E: Repeat the inclusion process from step B if it was not successful.
Important safety information
Please read this manual carefully. Failure to follow the recommendations in this manual may be dangerous or may violate the law.
The manufacturer, importer, distributor and seller shall not be liable for any loss or damage resulting from failure to comply with the instructions in this manual or any other material.
Use this equipment only for its intended purpose. Follow the disposal instructions.
Do not dispose of electronic equipment or batteries in a fire or near open heat sources.
What is Z-Wave?
Z-Wave is the international wireless protocol for communication in the Smart Home. This
device is suited for use in the region mentioned in the Quickstart section.
Z-Wave ensures a reliable communication by reconfirming every message (two-way
communication) and every mains powered node can act as a repeater for other nodes
(meshed network) in case the receiver is not in direct wireless range of the
transmitter.
This device and every other certified Z-Wave device can be used together with any other
certified Z-Wave device regardless of brand and origin as long as both are suited for the
same frequency range.
If a device supports secure communication it will communicate with other devices
secure as long as this device provides the same or a higher level of security.
Otherwise it will automatically turn into a lower level of security to maintain
backward compatibility.
For more information about Z-Wave technology, devices, white papers etc. please refer
to www.z-wave.info.
Product Description
The Z-Wave Indoor Siren comes with a High-volume siren (95dB) and LED strobe light for alarms with deterrent effect. In even of alarm, the siren can operate 5 minutes even unplugged due to its integrated backup-battery. A repeater function for extending the range of the Z-wave radio signal is also included.
Prepare for Installation / Reset
Please read the user manual before installing the product.
In order to include (add) a Z-Wave device to a network it must be in factory default
state. Please make sure to reset the device into factory default. You can do this by
performing an Exclusion operation as described below in the manual. Every Z-Wave
controller is able to perform this operation however it is recommended to use the primary
controller of the previous network to make sure the very device is excluded properly
from this network.
Reset to factory default
This device also allows to be reset without any involvement of a Z-Wave controller. This
procedure should only be used when the primary controller is inoperable.
Press the Network-button for 10 seconds to factory reset the device
Inclusion/Exclusion
On factory default the device does not belong to any Z-Wave network. The device needs
to be added to an existing wireless network to communicate with the devices of this network.
This process is called Inclusion.
Devices can also be removed from a network. This process is called Exclusion.
Both processes are initiated by the primary controller of the Z-Wave network. This
controller is turned into exclusion respective inclusion mode. Inclusion and Exclusion is
then performed doing a special manual action right on the device.
Inclusion
A.) Plug the SHSG10000 into a socket
B.) Set the Gateway/Controller into inclusion mode (Click the + (Add) button in your Z-Wave App and follow the further instructions)
C.) Press the Network-button 3 times within 1.5 seconds and the Status-LED will flash 3 times
D.) If the Add device process is successful, the Status-LED will turn off.E: Repeat the inclusion process from step B if it was not successful.
Exclusion
A.)Set the Gateway/Controller into exclusion mode (Click the – (Remove) button in your Z-Wave App and follow the further instructions)
B.) Press the Network-button 6 times within 1.5 seconds and the Status-LED will flash 3 times If the Remove device process is successful, the Status-LED flash 6 times.
C.) Repeat the inclusion process from step B if it was not successful.
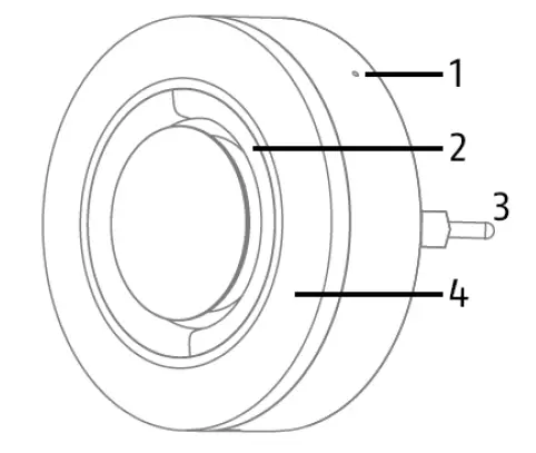
Product Usage

1. Network Button
2. Siren
3. Connector
4. Flash light
Quick trouble shooting
Here are a few hints for network installation if things dont work as expected.
- Make sure a device is in factory reset state before including. In doubt exclude before include.
- If inclusion still fails, check if both devices use the same frequency.
- Remove all dead devices from associations. Otherwise you will see severe delays.
- Never use sleeping battery devices without a central controller.
- Dont poll FLIRS devices.
- Make sure to have enough mains powered device to benefit from the meshing
Association – one device controls an other device
Z-Wave devices control other Z-Wave devices. The relationship between one device
controlling another device is called association. In order to control a different
device, the controlling device needs to maintain a list of devices that will receive
controlling commands. These lists are called association groups and they are always
related to certain events (e.g. button pressed, sensor triggers, …). In case
the event happens all devices stored in the respective association group will
receive the same wireless command wireless command, typically a ‘Basic Set’ Command.
Association Groups:
Group NumberMaximum NodesDescription
| 1 | 5 | Lifeline association group Include command classes: Switch Binary report ,Battery and Device Reset Locally notification. |
Technical Data
| Dimensions | 0.0780000×0.0780000×0.0780000 mm |
| Weight | 121 gr |
| Hardware Platform | ZM5202 |
| EAN | 4003318841514 |
| IP Class | IP 20 |
| Voltage | 230V |
| Device Type | Siren |
| Network Operation | Always On Slave |
| Z-Wave Version | 6.71.03 |
| Certification ID | ZC10-18096243 |
| Z-Wave Product Id | 0x0403.0x0003.0x0000 |
| Color | White |
| Firmware Updatable | Updatable by Consumer by RF |
| Outdoor Use | ok |
| Frequency | Europe – 868,4 Mhz |
| Maximum transmission power | 5 mW |
Supported Command Classes
- Association Grp Info
- Association V2
- Basic V2
- Battery
- Device Reset Locally
- Firmware Update Md V4
- Manufacturer Specific V2
- Multi Channel Association V3
- Powerlevel
- Security
- Security 2
- Supervision
- Switch Binary
- Transport Service V2
- Version V3
- Zwaveplus Info V2
Explanation of Z-Wave specific terms
- Controller — is a Z-Wave device with capabilities to manage the network.
Controllers are typically Gateways,Remote Controls or battery operated wall controllers. - Slave — is a Z-Wave device without capabilities to manage the network.
Slaves can be sensors, actuators and even remote controls. - Primary Controller — is the central organizer of the network. It must be
a controller. There can be only one primary controller in a Z-Wave network. - Inclusion — is the process of adding new Z-Wave devices into a network.
- Exclusion — is the process of removing Z-Wave devices from the network.
- Association — is a control relationship between a controlling device and
a controlled device. - Wakeup Notification — is a special wireless message issued by a Z-Wave
device to announces that is able to communicate. - Node Information Frame — is a special wireless message issued by a
Z-Wave device to announce its capabilities and functions.























