Quick start guide
RM5756HD
5” Smart Wi-Fi 1080p
Video Monitor
Congratulations on purchasing your new VTech product.
Before using this baby monitor, please read the Important safety instructions.
Go to www.vtechphones.com to register your product for enhanced warranty support and the latest VTech product news.
For more support information
https://vttqr.tv/?q=1VP206
https://vttqr.tv/?q=1VP207
What does HD Video Monitor do?
VTech 5” Smart Wi-Fi 1080p Video Monitor allows you to stay close to your baby when you are on the move or away. This monitor is Wi-Fi enabled, using your home wireless network to stream live video and audio through the 1080p baby unit and 5-inch colour screen parent unit. It allows you to maintain a constant connection to your baby.
You can also monitor from your smartphone or mobile tablet.
VTech 5” Smart Wi-Fi 1080p Video Monitor uses MyVTech Baby Pro app to let you instantly see and hear what’s happening with your baby from anywhere in the world. The app can be downloaded from the App Store or the Google Play TM Store.
IMPORTANT SAFETY INSTRUCTIONS
The applied nameplate is located at the bottom of the baby unit’s base. When using your equipment, basic safety precautions should always be followed to reduce the risk of fire, electric shock and injury, including the following:
- Follow all warnings and instructions marked on the product.
- Adult setup is required.
- CAUTION: Do not install the baby unit at a height above 6.5 feet (2 meters).
- This product is intended as an aid. It is not a substitute for responsible and proper adult supervision and should not be used as such.
- This product is not intended for use as a medical monitor.
- Do not use this product near water, for example, near to a bath, sink, swimming pool or shower.
- CAUTION: Use only the battery provided. There may be a risk of explosion if a wrong type of battery is used for the parent unit. The battery cannot be subjected to high or low extreme temperature and low air pressure at high altitude during use, storage or transportation. Disposal of battery into fire or a hot oven, or mechanically crushing or cutting or the battery can result in an explosion. Leaving the battery in an extremely high temperature surrounding environment can result in an explosion or the leakage of flammable liquid of gas. Battery subjected to extremely low air pressure may result in an explosion or the leakage of flammable liquid or gas. Dispose of used battery according to the instructions.
- Use only the adapters included with this product. Incorrect adapter polarity or voltage can seriously damage the product.

Power adapters information:
Baby Unit Output: 5V DC 1000mA
VTech Telecommunications Ltd.
Model: VT05EUS05100
Parent Unit Output: 5V DC 2A
VTech Telecommunications Ltd.
Model: VT07EUS05200
Rechargeable battery information:
3.7V 5000mAh, 18.5Wh Lithium-ion battery
Zhuhai Great Power Energy Co., Ltd.
Model: GSP806090-5Ah-3.7V-1S1P - The power adapter is intended to be correctly oriented in a vertical or floor mount position. The prongs are not designed to hold the plug in place if it is plugged into a ceiling, underthe-table or cabinet outlet.
- For pluggable equipment, the socket-outlet (power adapter) should be installed near the equipment and should be easily accessible.
- Unplug this product from the wall outlet before cleaning. Do not use liquid or aerosol cleaners. Use a damp cloth for cleaning.
- Do not cut off the power adapters to replace them with other plugs, as this causes a hazardous situation.
- Do not allow anything to rest on the power cords. Do not install this product where the cords may be walked on or crimped.
- This product should be operated only from the type of power source indicated on the marking label. If you are not sure of the type of power supply in your home, consult your dealer or local power company.
- Do not overload wall outlets or use an extension cord.
- Do not place this product on an unstable table, shelf, stand or other unstable surfaces.
- This product should not be placed in any area where proper ventilation is not provided. Slots and openings in the back or bottom of this product are provided for ventilation. To protect them from overheating, these openings must not be blocked by placing the product on a soft surface such as a bed, sofa or rug. This product should never be placed near or over a radiator or heat source.
- Never push objects of any kind into this product through the slots because they may touch dangerous voltage points or create a short circuit. Never spill liquid of any kind on the product.
- To reduce the risk of electric shock, do not disassemble this product, but take it to an authorized service facility. Opening or removing parts of the product other than specified access doors may expose you to dangerous voltages or other risks. Incorrect reassembling can cause electric shock when the product is subsequently used.
- You should test the sound reception every time you turn on the units or move one of the components.
- Periodically examine all components for damage.
- There is a very low risk of privacy loss when using certain electronic devices, such as baby monitors, cordless telephones, etc. To protect your privacy, make sure the product has never been used before purchase, reset the baby monitor periodically by powering off and then powering on the units, and power off the baby monitor if you will not use it for some time.
- Children should be supervised to ensure that they do not play with the product.
- The small parts of this monitor can be swallowed by babies or small children. Keep these parts out of reach of children.
- The product is not intended for use by persons (including children) with reduced physical, sensory or mental capabilities, or lack of experience and knowledge, unless they have been given supervision or instruction concerning use of the appliance by a person responsible for their safety.
SAVE THESE INSTRUCTIONS
Cautions
- Use and store the product at a temperature between oC and 40o C.
- Burn hazard, fire hazard, explosion hazard associated with mishandling of the battery.
- Do not expose the product to extreme cold, heat or direct sunlight. Do not put the product close to a heating source.
Warning—Strangulation Hazard—Children have STRANGLED in cords. Keep this cord out of the reach of children (more than 3 ft (0.9m) away). Do not remove this tag.
- Never place the camera unit(s) inside the baby’s cot or playpen. Never cover the camera unit(s) or parent unit with anything such as a towel or a blanket.
- Other electronic products may cause interference with your camera unit. Try installing your camera unit as far away from these electronic devices as possible: wireless routers, radios, cellular telephones, intercoms, room monitors, televisions, personal computers, kitchen appliances and cordless telephones.
WHATS IN THE BOX
Your baby monitor package contains the following items. Save your sales receipt and original packaging in the event warranty service is necessary.

Requirements
For mobile access:
MyVTech Baby Pro mobile app
| Network | Wi-Fi |
| Wi-Fi router | 2.4GHz 802.11 b/g/n |
| Internet connection | 1.5 Mbps @ 720p or 2.5 Mbps @1080p upload bandwidth per baby unit |
DOWNLOAD APP FOR MOBILE ACCESS
Download the free MyVTech Baby Pro mobile app and install it to a mobile device, then use your mobile device and the mobile app to monitor your baby remotely.
![]()
- Press MENU/SELECT when the parent unit is idle.
- Go to
>Connect Mobile Phone. - Scan the QR code in the parent unit to download the app into your mobile device if you have not installed the app yet.
- Follow the instructions in the mobile app to set up and pair your baby unit to the mobile app.
Alternatively, you can download the mobile app from the App Store or Google Play store.
Install MyVTech Baby Pro mobile app
- Browse the App Store or the Google Play store
- Search for the mobile app with the keyword “myvtech baby pro“.
- Download and install the MyVTech Baby Pro mobile app to your mobile device.
OR
Scan the QR codes on the right to get the app.
NOTE
•Make sure your mobile device meets the minimum requirement for the mobile app.
Minimum requirement
The mobile app is compatible with:
- AndroidTM 6.0 or later; and
- iOS 12 or later.
After installing the mobile app, follow the instructions in the mobile app and parent unit to set up and pair your baby unit.
In your mobile device:
- Tap
to run the mobile app in your mobile device, and then create a user account. - We recommend that you use common webmail services, such as Google Gmail for registration of your user account. Check your email (and Spam folder), and activate your new camera account via the email link, then sign in to your account.
- Follow the instructions in the mobile app to pair the camera. Tap , then Add Camera in the mobile app to get started.
OVERVIEW
Baby unit overview
- Light sensor
- Camera lens
- Infrared LEDs
• Allow you to see clearly in a dark environment. - Microphone
- Night Light
- Night Light Control Key
•Go to Night Light section to learn more.
- ON/OFF switch
•Power it on or off. - LED indicator
• Red is steadily on when the baby unit is connecting to the parent unit in direct mode.
• Green is steadily on when the baby unit is connected in Wi-Fi router mode.
• Red flashes slowly during video streaming in direct mode.
• Green flashes slowly during video streaming in Wi-Fi router mode. - Speaker
- Temperature sensor

- PAIR
•Press and hold for three seconds to enter pairing mode.
•Reset the baby unit to factory default.- Press and hold PAIR key until you hear a beep sound.
- Release the PAIR key, and then press the PAIR key again five times until you hear another beep sound.
- The baby unit will sound another beep when the reset completes. Then, the baby unit will reboot.
- Power jack
- Wall mount slots
Parent unit overview
- LINK LED light
•On when the parent unit is linked to the baby unit.
•Flashes when the link to the baby unit is lost. - LED light
•On when the parent unit is connected to AC power, and the battery is charging.
•Flashes when the parent unit battery is low and needs to be charged. - 3- level sound indicator light
•Green: low sound level is detected by the baby unit.
•Green and amber: moderate sound level is detected by the baby unit.
•Green, amber and red: high sound level is detected by the baby unit. - TALK /
•Press and hold to talk to the baby unit.
•While in a sub-menu, press to exit. - MENU | SELECT
•Press to enter the main menu.
•While in a menu, press to choose an item, or save a setting.
Arrow keys
•Press to navigate left, right, up and down within the main and sub-menus.
•While viewing a zoomed image, press to move the viewed image left, right, up and down.- Microphone
•Increase or decrease parent unit volume. - Zoom
•Press to zoom in/out.
•While in a sub-menu, press to view the help menu. - Powe
- LCD ON/OFF
- Antenna
- Speaker
- Power jack
- RESET
•Force reboot the parent unit. - Stand
CABLE MANAGEMENT
PROTECT YOUR PRIVACY AND ONLINE SECURITY
VTech cares about your privacy and peace of mind. That’s why we’ve put together a list of industryrecommended best practices to help keep your wireless connection private and your devices protected when online. We recommend you carefully review and consider complying with the following tips.
Ensure your wireless connection is secure.
- Before installing a device, ensure your router’s wireless signal is encrypted by selecting the “WPA2PSK with AES” setting in your router’s wireless security menu.
Change default settings.
- Change your wireless router’s default wireless network name (SSID) to something unique.
- Change default passwords to unique, strong passwords. A strong password:
– Is at least 10 characters long.
– Is complex.
– Does not contain dictionary words or personal information.
– Contains a mix of uppercase letters, lowercase letters, special characters and numbers.
Keep your devices up to date.
- Download security patches from manufacturers as soon as they become available. This will ensure you always have the latest security updates.
- If the feature is available, enable automatic updates for future releases.
Disable Universal Plug and Play (UPnP) on your router.
- UPnP enabled on a router can limit the effectiveness of your firewall by allowing other network devices to open inbound ports without any intervention or approval from you. A virus or other malware program could use this function to compromise security for the entire network.
For more information on wireless connections and protecting your data, please review the following resources from industry experts:
- Federal Communications Commission: Wireless Connections and Bluetooth Security Tips – www.fcc.gov/consumers/guides/how-protect-yourself-online.
- U.S. Department of Homeland Security: Before You Connect a New Computer to the Internet – www.us-cert.gov/ncas/tips/ST15-003.
- Federal Trade Commission: Using IP Cameras Safely – https://www.consumer.ftc.gov/articles/0382-using-ip-cameras-safely.
- Wi-Fi Alliance: Discover Wi-Fi Security – http://www.wi-fi.org/discover-wi-fi/security.
CONNECT CHARGE AND POWER ON THE BABY MONITOR
Connect the baby monitor
- The rechargeable battery in the parent unit is built-in.
- Use only the power adapters supplied with this product.
- Make sure the parent unit and the baby unit are not connected to the switch controlled electric outlets.
- Connect the power adapters in a vertical or floor mount position only. The adapter prongs are not designed to hold the weight of the parent unit and the baby unit, so do not connect them to any ceiling, under-the-table, or cabinet outlets. Otherwise, the adapter may not properly connect to the outlets.
- Make sure the parent unit, the baby unit and the power adapter cords are out of reach of children.

Slide the switch to ON to power on your baby unit
- After powering up, the baby unit status LED will turn on and then turn off after a short time.
- The status LED is set to off by default. If you want to keep the LED on, press MENU, then go to
> Status LED and turn it on.

NOTE:
Camera lens and surface may get warm during normal operation.

Charge the parent unit battery before use
The parent unit runs on rechargeable battery or AC power. To continuously monitor your baby, keep the parent unit connected to AC power.
NOTES
- Before using the baby monitor for the first time, charge the parent unit battery for 12 hours. When the parent unit battery is fully charged, the battery icon becomes solid.
- The standby time varies depending on your actual use.
After the parent unit is fully charged, press Power until the welcome screen appears.

The battery icon indicates the battery status (see the following table).
| BATTERY INDICATORS | BATTERY STATUS | ACTION |
| The screen displays | The battery has very little charge and may be used for only a short time. | Charge without interruption (about 30 minutes). |
| The battery icon becomes solid | The battery is fully charged. | To keep the battery charged, connect it to AC power when in use. Paren |
Raise the parent unitantenna for better reception
PARENT UNIT ICONS
Main Menu Options
Monitoring mode (* For only)![]()
- View baby units in Single mode.
- View baby units in Patrol mode.
- View baby units in Split screen.
Night light![]()
- Turn on or turn off night light.
- Select a night light color.
- Adjust night light brightness.
- Set a night light timer.
Melodies and soothing sounds
![]()
- Select play all melodies, or play one of the five melodies and five soothing sounds.
- You can also set the timer to stop playing after 15, 30 or 60 minutes, or playing non-stop.
Alerts – Sound, motion and temperature![]()
- Select the sound and motion sensitivity level.
- Turn on/off sound and motion detection alerts.
- Select maximum and minimum temperature for alert range.
- Turn on/off temperature alert.
- Turn on/off Auto Wake Up function.
Parent unit settings![]()
- Adjust parent unit screen brightness.
- Adjust Low Battery Alert Tone.
- Adjust No Link Alert Tone.
- Turn on/off Dim mode.
Baby unit settings
![]()
- Turn on/off Night Vision.
- Turn on/off baby unit Status LED.
- Adjust baby unit speaker volume.
General settings
![]()
- Configure Wi-Fi.
- Change Wi-Fi Network
- Selection Connection Mode
- Connection Status
- Connect mobile phone.
- Reset Settings to factory default.
- Software Update.
Status icons
| Direct mode Parent unit, baby unit 1 and baby unit 2 (*For only) are connected to each others directly. | |
| Wi-Fi Router mode Parent unit, baby unit 1 and baby unit 2 (*For only) are connected to home Wi-Fi network. | |
| Baby unit 1 and 2 are being viewed in Patrol mode (*For only). | |
| Baby unit 1 and 2 are being viewed in Split mode (*For only). | |
| Night vision is turned on. | |
| Motion detection alert is turned on. | |
| Sound detection alert is turned on. | |
| Melodies and soothing sounds are playing. | |
| Night light is turned on. | |
| Auto night light brightness is activated. | |
| Temperature alert is turned on. | |
| Parent unit is muted. | |
| Battery indicator. |
AUTO SOFTWARE AND FIRMWARE UPDATE
To ensure that your baby monitor is always at its best performance, the parent unit will prompt you to update its software and the baby unit firmware when there are new versions available.
- Follow the instructions on the parent unit screen to update your baby monitor. If you skip the updates, the parent unit and baby unit will be updated automatically when the parent unit is powered off, and then powered on again.
- To check if your device is running on the latest software or to update your device software, go to:
>Software Update
Connect your baby monitor to Wi-Fi
- You must connect your video monitor to your secured home Wi-Fi network in order to receive the latest software and firmware updates. To set it up, go to:
>Configure Wi-Fi
NIGHT LIGHT
You can control the night light remotely on the parent unit or directly on the baby unit.
On the parent unit:
- Press MENU.
- Press or to scroll to Night Light menu, then press MENU or to enter.
- Press or to choose below options:
On the baby unit:

| Turn on/off night light | |
| Change night light color | |
| Adjust night light brightness | |
| Set night light timer |
Night Light Control Key
Single Tap: Turn on/off
Tap and hold: Adjust night light brightness
BASIC OPERATION
After powering up your baby monitor, the parent unit streams live video in direct mode.
We recommend you follow the instructions on-screen to set up home Wi-Fi network with your monitor for functionality enhancements and mobile access. See Auto software and firmware update and Download app for mobile access in this Quick Start Guide.
Use the menu
Press MENU on the parent unit to enter the main menu, choose a menu item, or save a setting. You can use the parent unit menu for advanced settings or operations, such as to play or stop the baby unit lullaby, or adjust the baby unit sound sensitivity.

While in the menu:
- Press
to scroll through the menu options. - Press SELECT to select an item.
- Press TALK to return to the live video.
- Press to go to the Help & info page.
Adjust speaker volume
Press to adjust the parent unit speaker volume level received from the baby unit.
Zoom
Press to zoom in or out in a fixed zoom sequence.
indicates the image is magnified 3 times.

Talk to your baby via the baby unit
- Press and hold the TALK key.
- When the icon
displays on screen, speak to your parent unit.
Your voice is transmitted to the baby unit. - When finished talking, release the TALK key to hear your baby again.

Turn on/off baby unit’s status LED
Turn on or turn off the baby unit status LED indicator. Go to:
>Status LED.
Turn on/off the parent unit screen
You can turn on or turn off the parent unit screen without powering off the unit. You will still hear sounds from the baby unit.
- Press LCD ON/OFF on the parent unit to turn off the screen.
- Press any key on the parent unit to turn the screen on again.

You can reset the parent unit by pressing the RESET key at the back of the unit.
Insert a pin into the RESET hole on the back of the parent unit, and then gently press the button inside.
TEST THE SOUND LEVEL AND POSITION THE BABY MONITOR
Testing the sound level of the baby monitor
NOTE
- This baby monitor is intended as an aid. It is not a substitute for proper adult supervision, and should not be used as such.
CAUTION
- For hearing protection, make sure the parent unit is more than 3 feet away from the baby unit. If you hear any high-pitched noise from the parent unit, move the parent unit further until the noise stops. You can also press on the parent unit to lower or mute the noise.

TIP
- Increase the parent unit speaker volume if you cannot hear the sounds transmitted from the baby unit.

Positioning the baby monitor
CAUTION
- Keep the baby unit out of the reach of your baby. Never place or mount the baby unit inside the baby’s cor playpen.
- Place the baby unit more than 3 feet away from your baby.

- Adjust the angle of the baby unit to aim at your baby.

- To avoid causing high-pitched screeching noise from your baby monitor:
•Make sure your baby unit and parent unit are more than 3 feet apart; OR
•Turn down the volume of your parent unit.
TEST THE LOCATION FOR THE BABY UNIT
If you plan to install your baby unit in a designated location, and use your home Wi-Fi network to connect your video monitor, you need to test which of your selected monitoring areas within the house have good Wi-Fi signal strength. After you have powered on your parent unit, you can use your parent unit Wi-Fi signal strength indicator to assist in checking. Once you have identified the suitable location, you can install your baby unit. Adjust the distance between your baby unit and the Wi-Fi router if needed.
TIP
•Depending on surroundings and obstructing factors, such as the effect distance and internal walls have on signal strength, you may experience reduced Wi-Fi signal. To improve the Wi-Fi signal strength, adjust the distance or direction of your parent unit. Check with your parent unit again.
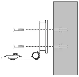
MOUNT THE BABY UNIT OPTIONAL
NOTES
- Check for reception strength and camera angle of the baby unit before drilling the holes.
- The types of screws and plugs you need depend on the composition of the wall.
You may need to purchase the screws and plugs separately to mount your baby units.
- Place the wall mount bracket on a wall and then use a pencil to mark two holes in parallel. Remove the wall mount bracket and drill two holes in the wall (5.5mm drill bit).

- If you drill the holes into a stud, go to step 3.
If you drill the holes into an object other than a stud, insert the wall plugs into the holes.
Tap gently on the ends with a hammer until the wall plugs are flush with the wall.
- Align the wall mount bracket and screws with the holes in the wall as shown. Tighten the screw in the middle hole first, so that the wall mount bracket position is fixed. You can tighten the other screw in the top hole.

- Place the baby unit on the wall mount bracket, and then slide it forward until it locks into place.
Connect the power adapter to the baby unit .
3.Insert the screws into the holes and tighten the screws until only 6.5mm inch of the screws are exposed.
4.Place the baby unit on the wall mount bracket, and then slide it forward until it locks into place. Align the holes on the wall mount bracket with the screws on the wall, and slide the wall mount bracket down until it locks into place.
You can maximize your baby unit viewing angles by tilting the wall mount bracket.
Hold the baby unit, and then rotate the knob in an anticlockwise direction. This will loosen the joint of the wall mount bracket. Tilt your baby unit up or down to adjust to your preferred angle. Then, rotate the knob in a clockwise direction to tighten the joint and secure the angle.
FOR RM5756HD-2only
Monitoring Modes
When more than one baby unit is paired to the parent unit, you can choose to view different baby units in three monitoring modes. Learn more about each below:
| Single Mode | The screen displays images only from the selected baby unit in full screen. |
| Split Mode | The screen displays images from all paired baby units at the same time in split view. |
| Patrol Mode | The screen displays a single cam view that transitions to a different baby unit every 10 seconds. |
Change the monitoring mode:
- Press MENU when the parent unit is idle.
- Press MENU or to enter
Monitoring Mode menu. - Press or to choose between Single ,
Split,
and Patrol
monitoring mode options. Press SELECT to confirm.
Need Help
Driven by system updates, the software, online help topics, and online FAQs will be updated periodically.
For operations and guides to help you using your HD video monitor, and for latest information and supports, go and check the online help topics and online FAQs. Use your smartphone or mobile device to access our online help.
Go to https://help.vtechphones.com/RM5756HD or https://help.vtechphones.com/RM5756HD-2; OR Scan the QR code on the right. Launch the camera app or QR code scanner app on your smartphone or tablet. Hold the device’s camera up to the QR code and frame it. Tap the notification to trigger the redirection of the online help. – If the QR code is not clearly displayed, adjust your camera’s focus by moving your device closer or further away until it is clear. If you would like to contact us, visit https://help.vtechphones.com/cs or scan the QR code. You can also call our Customer Support at 1-844-848-8324 (1-844-84-VTECH) [in US] or 1-888-211-2005 [in Canada] for help.
How the system works
Direct mode
The parent unit and the baby unit of your video monitor connect to each others in Direct modeby default, which allows you to stream live video right out of the box. Direct mode connection lets you stream live video from the parent unit only.
Tip
You may experience reduced signal strength if your parent unit and baby unit are far apart, or there are obstructing factors, such as internal walls, between them. Move the parent unit closer to the baby unit to improve the signal strength.
Wi-Fi Router mode
To stream live video with better connection, you can also set up your monitor in Router mode connection.
Router mode uses your home Wi-Fi network to connect the video monitor. It supports streaming live video through the parent unit and MyVTech Baby Pro app.
Download and install the MyVTech Baby Pro mobile app to stream remotely. With the mobile app, your Wi-Fi router (not included) serves as a communicating channel between your baby unit and mobile device, allowing you to monitor 0and control your baby unit wherever you are. For details, see Download app for mobile access section in this quick start guide.
Auto mode
With Auto mode connection, the parent unit will automatically select the most reliable connection mode (Direct or Wi-Fi) when connecting to the baby unit(s). Mobile app access will not be interrupted in Auto mode.
Notes
- When both parent unit and app are viewing the camera simultaneously, the video quality will be optimised to deliver the best possible viewing result.
General Product care
To keep this product working well and looking good, follow these guidelines:
- Avoid placing it near heating appliances and devices that generate electrical noise (for example, motors or fluorescent lamps).
- DO NOT expose it to direct sunlight or moisture.
- Avoid dropping the product or treating it roughly.
- Clean with a soft damp cloth.
- DO NOT immerse the parent unit and the baby unit in water and do not clean them under the tap.
- DO NOT use cleaning spray or liquid cleaners.
- Make sure the parent unit and the baby unit are dry before you connect them to the mains again.
- Clean the USB charging port of dust, dirt, and lint regularly.
Storage
When you are not going to use the video monitor for some time, store the parent unit, the baby unit and the adapters in a cool and dry place.
Frequently asked questions
Below are the questions most frequently asked about the video monitor.
| Can I turn the parent unit display screen off but keep hearing sounds from the baby unit? | Yes, press 0 I LCD ON/OFF on the parent unit to turn off the screen. The parent unit display will also dim automatically after being inactive for some time. In both instances, you will still be able to hear all sounds from the baby unit Press any key to turn the screen back on. |
| Why is the baby unit not responding normally? | Try the following (in the order listed) for a common cure: 1.Disconnect the power to the baby unit. 2.Wait a few minutes before connecting power back to the baby unit. 3.Reboot the parent unit. |
| Why is my screen in black and white? | The baby unit has a light sensor that measures ambient light. When the ambient light is dim, such as during night time or in a dark room, the baby unit activates its infrared LEDs, and displays the camera images in black and white night vision. |
| Why does my baby unit show offline? Why is the connection lost every now and then? | The baby unit may have lost connection to the Wi-Fi router. Check your network and router settings. |
| Other electronic products may cause interference with your baby unit. Try installing your baby unit as far away from these electronic devices as possible. | |
| Why can’t I hear a sound/Why can’t I hear my baby crying? | The parent unit speaker volume may be too low. Press VOL + on the parent unit to increase the volume. |
| You may have set a low sound sensitivity level. Set the sound sensitivity to a higher level. For details, go to www.vtechphones.com for online help topics. |
The RBRC seal
The RBRC seal on the lithium-ion battery indicates that VTech Communications, Inc. is voluntarily participating in an industry program to collect and recycle these batteries at the end of their useful lives, when taken out of service within the United States and Canada. The program provides a convenient alternative to placing used lithium-ion batteries into the trash or municipal waste, which may be illegal in your area. VTech’s participation makes it easy for you to drop off the spent product at local retailers participating in the program or at authorized VTech product service centers. Please call 1 (800) 8 BATTERY® for information on Li-ion battery recycling and disposal bans/restrictions in your area. VTech’s involvement in this program is part of its commitment to protecting our environment and conserving natural resources.
The RBRC Seal and 1 (800) 8 BATTERY® are registered trademarks of Call2recycle, Inc.
FCCand IC Regulations
FCC Part 15
NOTE: This equipment has been tested and found to comply with the requirements for a Class B digital device under Part 15 of the Federal Communications Commission (FCC) rules. These requirements are intended to provide reasonable protection against harmful interference in a residential installation. This equipment generates, uses and can radiate radio frequency energy and, if not installed and used in accordance with the instructions, may cause harmful interference to radio communications. However, there is no guarantee that interference will not occur in a particular installation. If this equipment does cause harmful interference to radio or television reception, which can be determined by turning the equipment off and on, the user is encouraged to try to correct the interference by one or more of the following measures:
- Reorient or relocate the receiving antenna.
- Increase the separation between the equipment and receiver.
- Connect the equipment into an outlet on a circuit different from that to which the receiver is connected.
- Consult the dealer or an experienced radio/TV technician for help.
WARNING: Changes or modifications to this equipment not expressly approved by the party responsible for compliance could void the user’s authority to operate the equipment.
This device complies with Part 15 of the FCC rules. Operation is subject to the following two conditions: (1) this device may not cause harmful interference, and (2) this device must accept any interference received, including interference that may cause undesired operation.
To ensure safety of users, the FCC has established criteria for the amount of radio frequency energy that can be safely absorbed by a user or bystander according to the intended usage of the product. This product has been tested and found to comply with the FCC criteria. The baby unit shall be installed and used such that parts of all persons’ body are maintained at a distance of approximately 8 in (20 cm) or more. The transmitter and antenna of the parent unit shall be held at least 1 in (2.5 cm) from your face.
This Class B digital apparatus complies with Canadian requirement: CAN ICES-3 (B)/NMB-3(B)
Industry Canada
This device contains licence-exempt transmitter(s)/receiver(s) that comply with Innovation, Science and Economic Development Canada’s licence-exempt RSS(s). Operation is subject to the following two conditions: (1) This device may not cause interference. (2) This device must accept any interference, including interference that may cause undesired operation of the device.
The term ‘’IC:‘’ before the certification/registration number only signifies that the Industry Canada technical specifications were met. This product meets the applicable Innovation, Science and Economic Development Canada technical specifications.
RF radiation exposure statement
The product complies with FCC RF radiation exposure limits set forth for an uncontrolled environment. The baby unit should be installed and operated with a minimum distance of 8 in (20 cm) between the baby unit and all persons’ body. Use of other accessories may not ensure compliance with FCC RF exposure guidelines. This equipment complies also with Industry Canada RSS-102 with respect to Canada’s Health Code 6 for Exposure of Humans to RF Fields.
California Energy Commission Battery Charging Testing Mode
This video monitor meets the California Energy Commission (CEC) regulations for energy consumption. Your video monitor is set up to comply with the energy-conserving standards right out of the box.
Follow the instructions to install and charge the battery. The CEC battery charging testing mode is activated while charging.0 Even if the parent unit is paired to camera units, the CEC battery charging testing mode is activated while it is powered off and charging.
Limited Warranty
What does this limited warranty cover?
The manufacturer of this VTech Product warrants to the holder of a valid proof of purchase (“Consumer” or “you”) that the Product and all accessories provided in the sales package (“Product”) are free from defects in material and workmanship, pursuant to the following terms and conditions, when installed and used normally and in
accordance with the Product operating instructions. This limited warranty extends only to the Consumer for Products purchased and used in the United States of America and Canada.
What will VTech do if the Product is not free from defects in materials and workmanship during the limited warranty period (“Materially Defective Product”)?
During the limited warranty period, VTech’s authorized service representative will replace at VTech’s option, without charge, a Materially Defective Product. If we choose to replace the Product, we may replace it with a new or refurbished Product of the same or similar design. We will retain defective parts, modules, or equipment. Replacement of the Product, at VTech’s option, is your exclusive remedy. VTech will return the replacement Products to you in working condition. You should expect the replacement to take
approximately 30 days.
How long is the limited warranty period?
The limited warranty period for the Product extends for ONE
- YEAR from the date of purchase (90 days on products purchased as Refurbished*). This limited warranty also applies to the replacement Product for a period of either (a) 90 days from the date the replacement Product is shipped to you or (b) the time remaining on the original one-year warranty (90-day limited warranty on products that are purchased as Refurbished*); whichever is longer. *Refurbished products purchased from our online store carry a 90-day replacement warranty.
What is not covered by this limited warranty?
This limited warranty does not cover:
- Product that has been subjected to misuse, accident, shipping or other physical damage, improper installation, abnormal operation or handling, neglect, inundation, fire,
water or other liquid intrusion; or - Product that has been damaged due to repair, alteration or modification by anyone other than an authorized service representative of VTech; or
- Product to the extent that the problem experienced is caused by signal conditions, network reliability, or cable or antenna systems; or
- Product to the extent that the problem is caused by use with non-VTech accessories; or
- Product whose warranty/quality stickers, product serial number plates or electronic serial numbers have been removed, altered or rendered illegible; or
- Product purchased, used, serviced, or shipped for repair from outside the United States of America or Canada, or used for commercial or institutional purposes (including but not limited to Products used for rental purposes); or
- Product returned without a valid proof of purchase (see item 2 below); or
- Charges for installation or set up, adjustment of customer controls, and installation or repair of systems outside the unit.
How do you get warranty service?
To obtain warranty service in the USA, please visit our website at www.vtechphones.com or call 1 (800) 595-9511. In Canada, go to www.vtechcanada.com or call 1 (800) 267-7377.
NOTE: Before calling for service, please review the user’s manual – a check of the Product’s controls and features may save you a service call.
Except as provided by applicable law, you assume the risk of loss or damage during transit and transportation and are responsible for delivery or handling charges incurred in the transport of the Product(s) to the service location. VTech will return replaced Product under this limited warranty.
Transportation, delivery or handling charges are prepaid. VTech assumes no risk for damage or loss of the Product in transit.
What must you return with the Product to get warranty service?
- Return the entire original package and contents including the Product to the VTech service location along with a description of the malfunction or difficulty; and
- Include a “valid proof of purchase” (sales receipt) identifying the Product purchased (Product model) and the date of purchase or receipt; and
- Provide your name, complete and correct mailing address, and telephone number.
Other limitations
This warranty is the complete and exclusive agreement between you and VTech. It supersedes all other written or oral communications related to this Product. VTech provides no other warranties for this Product. The warranty exclusively describes all of VTech’s responsibilities regarding the Product. There are no other express warranties. No one is authorized to make modifications to this limited warranty and zou should not rely on any such modification. State/Provincial Law Rights:
This warranty gives you specific legal rights, and you may also have other rights, which vary from state to state or province to province.
Limitations: Implied warranties, including those of fitness for a particular purpose and merchantability (an unwritten warranty that the Product is fit for ordinary use) are limited to one year from the date of purchase. Some states/ provinces do not allow limitations on how long an implied warranty lasts, so the above limitation may not apply to you.
In no event shall VTech be liable for any indirect, special, incidental, consequential, or similar damages (including, but not limited to lost profits or revenue, inability to use
the Product or other associated equipment, the cost of substitute equipment, and claims by third parties) resulting from the use of this Product. Some states/provinces
do not allow the exclusion or limitation of incidental or consequential damages, so the above limitation or exclusion may not apply to you.
Please retain your original sales receipt as proof of purchase. 
References
Wireless Connections and Bluetooth Security Tips | Federal Communications Commission
Before You Connect a New Computer to the Internet | CISA
VTech Canada Official Site | Best Home Office & Business Phones
VTech Cordless Phones Official Site | Best Home Office & Business Phones
Security | Wi-Fi Alliance
How To Secure Your Home Security Cameras | Consumer Advice











3.Insert the screws into the holes and tighten the screws until only 6.5mm inch of the screws are exposed.
4.Place the baby unit on the wall mount bracket, and then slide it forward until it locks into place. Align the holes on the wall mount bracket with the screws on the wall, and slide the wall mount bracket down until it locks into place.
You can maximize your baby unit viewing angles by tilting the wall mount bracket.















![Vtech 7-inch Smart Wi-fi 1080p Video Monitor [rm7754hd, Rm7754-2hd] User Manual Vtech 7-inch Smart Wi-fi 1080p Video Monitor [rm7754hd, Rm7754-2hd] User Manual](https://static-data1.manualsee.com/1/img/316/17760/2020/12/Smart-Wi-Fi-1080p-Video-Monitor-Fig-1.jpg)





