
RM714HD
(for use with RM5754HD/RM7754HD Smart Wi-Fi 1080p Video Monitor)
https://hkphones.vtech.com
What’s in the box
Important safety instructions
The applied nameplate is located at the bottom of the baby unit’s base.
When using your equipment, basic safety precautions should always be followed to reduce the risk of fire, electric shock and injury, including the following:
- Follow all warnings and instructions marked on the product.
- Adult setup is required.
- CAUTION: Do not install the baby unit at a height above 2 meters.
- This product is not a substitute for adult supervision of the infant. Supervising the infant is the parent’s or caregiver’s responsibility. This product could cease operating, and therefore you should not assume it will continue working properly for any given period of time. Further, this is not a medical device and should not be used as such. This product is intended to assist you in supervising your baby.
- Do not use this product near water. For example, do not use it next to a bathtub, washbowl, kitchen sink, laundry tub or swimming pool, or in a wet basement or shower.
- . Use only the adapter included with this product. Incorrect adapter polarity or voltage can seriously damage the product. Baby unit power adapter: Output: 5V DC 1000mA.
- The power adapter is intended to be correctly oriented in a vertical or floor mount position. The prongs are not designed to hold the plug in place if it is plugged into a ceiling, under-the-table or cabinet outlet.
- For pluggable equipment, the socket-outlet (power adapter) shall be installed near the equipment and shall be easily accessible.
- Unplug this product from the wall outlet before cleaning. Do not use liquid or aerosol cleaners. Use a damp cloth for cleaning.
- Do not cut off the power adapters to replace them with other plugs, as this causes a hazardous situation.
- Do not allow anything to rest on the power cords. Do not install this product where the cords may be walked on or crimped.
- This product should be operated only from the type of power source indicated on the marking label. If you are not sure of the type of power supply in your home, consult your dealer or local power company.
- The equipment is to be supplied from an identified USB port complying with the requirements of Limited Power Source.
- Do not overload wall outlets or use an extension cord.
- Do not place this product on an unstable table, shelf, stand, or other unstable surfaces.
- This product should not be placed in any area where proper ventilation is not provided. Slots and openings in the back or bottom of this product are provided for ventilation. To protect them from overheating, these openings must not be blocked by placing the product on a soft surface such as a bed, sofa or rug. This product should never be placed near or over a radiator or heat register.
- Never push objects of any kind into this product through the slots because they may touch dangerous voltage points or create a short circuit. Never spill liquid of any kind on the product.
- To reduce the risk of electric shock, do not disassemble this product, but take it to an authorized service facility. Opening or removing parts of the product other than specified access doors may expose you to dangerous voltages or other risks. Incorrect reassembling can cause electric shock when the product is subsequently used. 1
- You should test the sound reception every time you turn on the units or move one of the components.
- Periodically examine all components for damage.
- Be aware of possible loss of privacy while using public airwaves. Conversations may be picked up by other nursery monitors, cordless phones, scanners, etc.
- Children should be supervised to ensure that they do not play with the product.
- The small parts of this monitor can be swallowed by babies or small children. Keep these parts out of reach of children.
- The product is not intended for use by persons (including children) with reduced physical, sensory or mental capabilities, or lack of experience and knowledge, unless they have been given supervision or instruction concerning use of the appliance by a person responsible for their safety.
SAVE THESE INSTRUCTIONS
Cautions
- Use and store the product at a temperature between 0 o C o and 40 C.

- Do not expose the product to extreme cold, heat or direct sunlight. Do not put the product close to a heating source.
- Warning—Strangulation Hazard—Children have STRANGLED in cords. Keep this cord out of the reach of children (more than 3 ft (0.9m) away). Do not remove this tag.
- Never place the baby unit(s) inside the baby’s crib or playpen. Never cover the baby unit(s) or parent unit with anything such as a towel or a blanket.
- Other electronic products may cause interference with your baby unit. Try installing your baby unit as far away from these electronic devices as possible: radios, cellular telephones, intercoms, room monitors, televisions, personal computers, kitchen appliances and cordless telephones.
Precautions for users of implanted cardiac pacemakers
Cardiac pacemakers (applies only to digital cordless devices): Wireless Technology Research, LLC (WTR), an independent research entity, led a multidisciplinary evaluation of the interference between portable wireless devices and implanted cardiac pacemakers. Supported by the U.S. Food and Drug Administration, WTR recommends to physicians that:
Pacemaker patients
- Should keep wireless devices at least six inches from the pacemaker.
- Should NOT place wireless devices directly over the pacemaker, such as in a breast pocket, when it is turned ON.
WTR’s evaluation did not identify any risk to bystanders with pacemakers from other persons using wireless devices.
Electromagnetic fields (EMF)
This VTech product complies with all standards regarding electromagnetic fields (EMF). If handled properly and according to the instructions in this user’s manual, the product is safe to be used based on scientific evidence available today.
Connect and power on the baby unit
NOTES
- Use only the power adapter supplied with this product.
- Make sure the baby unit is not connected to the switch-controlled electric outlet.
- Connect the power adapter in a vertical or floor mount position only. The adapter’s prongs are not designed to hold the weight of the baby unit, so do not connect it to any ceiling, under-the-table, or cabinet outlets. Otherwise, the adapter may not properly connect to the outlet.
- Make sure the baby unit and the power adapter cord are out of reach of children.
1. Connect the power adapter to the baby unit and a power supply.
2. Slide the switch to ON to power on your baby unit.
NOTE:
The camera lens and surface may get warm during normal operation.
Before use
Pair a new baby unit
Each newly purchased baby unit (RM714HD) must be paired to your system (RM5754HD/RM7754HD).
NOTES
• You can pair an additional baby unit to your parent unit. New baby unit must be paired to the parent unit before use.
• Make sure you power on the parent unit before pairing.
1. Press MENU when the parent unit is idle.
2. Go to
> Add camera, then press SELECT or to continue.
3. Follow the instructions shown on the screen to add the baby unit. When the baby unit is successfully added to your parent unit, the parent unit displays the live video.
Test the location for the baby unit
If you plan to install your baby unit in a designated location and use your home Wi-Fi network to connect your video monitor, you need to test which of your selected monitoring areas within the house have good Wi-Fi signal strength. After you have powered on your parent unit, you can use your parent unit’s Wi-Fi signal strength indicator to assist in checking. Once you have identified a suitable location, you can install your baby unit. Adjust the distance between your baby unit and the Wi-Fi router if needed.
Tip
• Depending on surroundings and obstructing factors, such as the effect distance and internal walls have on signal strength, you may experience reduced Wi-Fi signal. To improve the Wi-Fi signal strength, adjust the distance or direction of your parent unit. Check with your parent unit again.
Positioning the HD video monitor
Caution
• Keep the baby unit out of the reach of your baby. Never place or mount the baby unit inside the baby’s crib or playpen.
1. Place the baby unit more than 1 metre away from your baby.
2. Adjust the angle of the baby unit to aim at your baby.
3. To avoid causing high-pitched screeching noise from your HD video monitor:
• Make sure your baby unit and parent unit are more than 3 metres apart; OR
• Turn down the volume of your parent unit.
Baby unit overview
- Light sensor
- Camera lens
- Microphone
- Infrared LEDs
• Allow you to see clearly in a dark surrounding.
- Speaker

• Press to turn the night light on or off.- LED indicator

- • Orange is steady on when the baby unit is connecting to the parent unit directly in local mode.
• Green is steady on when the baby unit and parent unit are connecting to your home Wi-Fi network via the Wi-Fi router.
• Flashes orange slowly during video streaming in local mode.
• Flashes green slowly during video streaming via home Wi-Fi network. 12 13 - ON
• Power on/off switch.
- PAIR
• Press and hold for three seconds to enter pairing mode.
• Reset the baby unit to factory default.
1. Press and hold PAIR key until you hear a beep sound.
2. Release the PAIR key, and then press the PAIR key again five times until you hear another beep sound.
3. The baby unit will sound another beep when the reset completes. Then, the baby unit will reboot. - Temperature sensor
- Night light
- Power jack
- Slots for wall mounting
• Wall mount bracket is included in your package.
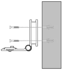
Mount the baby unit (optional)
NOTES
• Check for reception strength and baby unit angle before drilling the holes.
• The types of screws and anchors you need depend on the composition of the wall. You may need to purchase the screws and anchors separately to mount your baby units.
1. Place the wall mount bracket on a wall and then use a pencil to mark two holes in parallel. Remove the wall mount bracket and drill two holes in the wall (7/32 inch drill bit).
2. If you drill the holes into a stud, go to step 3.
• If you drill the holes into an bject other than a stud, insert the wall anchors into the holes. Tap gently on the ends with a hammer until the wall anchors are flush with the wall. 
3. Align the wall mount bracket and screws with the holes in the wall as shown. Tighten the screwin the middle hole first, so that the wall mount bracket position is fixed. You can tighten the other screw in the top hole.
4. Place the baby unit on the wall mount bracket, and then slide it forward until it locks into place. Connect the power adapter to the baby unit and a power supply not ontrolled by a wall switch.
3. Insert the screws into the holes and tighten the screws until only 1/4 inch of the screws are exposed.
4. Place the baby unit on the wall mount bracket, and then slide it forward until it locks into place. Align the holes on the wall mount bracket with the screws on the wall, and slide the wall mount bracket down until it locks into place.
5. You can maximize your baby unit’s viewing angles by tilting the wall mount bracket.
Hold the baby unit, and then rotate the knob in an anticlockwise direction. This will loosen the joint of the wall mount bracket. Tilt your baby unit up or down to adjust to your preferred angle. Then, rotate the knob in a clockwise direction to tighten the joint and secure the angle.

General product care
To keep this product working well and looking good, follow these guidelines:
- Avoid putting it near heating appliances and devices that generate electrical noise (for example, motors or fluorescent lamps).
- DO NOT expose it to direct sunlight or moisture.
- Avoid dropping the product or treating it roughly.
- Clean with a soft cloth.
- DO NOT immerse the parent unit and the baby unit in water and do not clean them under the tap.
- DO NOT use cleaning spray or liquid cleaners.
- Make sure the parent unit and the baby unit are dry before you connect them to the mains again.
Storage
When you are not going to use the HD video monitor for some time, store the parent unit, the baby unit and the adapters in a cool and dry place.
Disposal warning
- When this crossed-out wheeled bin symbol is attached to a product, it means the product is covered by the European Directive 2002/96/EC.
- All electrical and electronic products/battery should be disposed of separately from the municipal waste stream via designated collection facilities appointed by the government or the local authorities.
- The correct disposal of your old appliance/battery will help prevent potential negative consequences for the environment and human health.
For more detailed information about disposal of your old appliance/battery, please contact your city office, waste disposal service or The Shop where you purchased the product.
If you have questions about this product, or having difficulty with setup or operation, call our Customer Service Centre.
Customer Service Hotline: (852) 2666 5558
Technical Inquiry Hotline: (852) 2667 7433
Technical specifications
| Frequency | Baby unit: 2412 – 2462 MHz |
| Channels | 13 |
| Nominal effective range | Actual operating range may vary according to environmental conditions at the time of use. |
| Power requirement | Baby unit power adapter: Output: 5V DC 1000mA |

Specifications are subject to change without notice.
© 2020 VTech Telecommunications Ltd.
All rights reserved. 07/20. RM714HD_HK_EN_CIB_V1
What’s in the box





![Vtech 7-inch Smart Wi-fi 1080p Video Monitor [rm7754hd, Rm7754-2hd] User Manual Vtech 7-inch Smart Wi-fi 1080p Video Monitor [rm7754hd, Rm7754-2hd] User Manual](https://static-data1.manualsee.com/1/img/316/17760/2020/12/Smart-Wi-Fi-1080p-Video-Monitor-Fig-1.jpg)
















