RM2751
2.8 inch Smart Wi-Fi 1080p
Video Monitor
Quick start guide
RM2751 2.8 Inch Smart WiFi 1080p Video Monitor
What does Video Monitor do?
VTech 2.8 inch Smart Wi-Fi 1080p Video Monitor allows you to stay close to your baby when you are on the move or away.
This monitor is Wi-Fi enabled, which uses your home wireless network to stream live video and audio through the baby unit and 2.8 inch colour screen parent unit. It allows you to maintain a constant connection to your baby.
You can also monitor from your smartphone and mobile tablet.
VTech 2.8 inch Smart Wi-Fi 1080p Video Monitor uses MyVTech Baby Pro app to let you instantly see and hear what’s happening with your baby from anywhere in the world.
The app can be downloaded from the App Store or the Google Play™ Store, directly from your smartphone or mobile tablet.
Important safety instructions
The applied nameplate is located at the bottom of the baby unit’s base.
When using your equipment, basic safety precautions should always be followed to reduce the risk of fire, electric shock and injury, including the following:
- Follow all warnings and instructions marked on the product.
- Adult setup is required.
- CAUTION: Do not install the baby unit at a height above 2 metres.
- This product is intended as an aid. It is not a substitute for responsible and proper adult supervision and should not be used as such.
- This product is not intended for use as a medical monitor.
- Do not use this product near water, for example, near to a bath, sink, swimming pool or shower.
- CAUTION: Use only the battery provided. There may be a risk of explosion if a wrong type of battery is used for the parent unit. The battery cannot be subjected to high or low extreme temperature and low air pressure at high altitude during use, storage or transportation. Disposal of battery in fire or a hot oven, mechanically crushing or cutting the battery can result in an explosion. Leaving the battery in an extremely high temperature surrounding environment can result in an explosion or the leakage of flammable liquid of gas. Battery subjected to extremely low air pressure may result in an explosion or the leakage of flammable liquid or gas. Dispose of used batteries according to the instructions.
- Use only the power adaptors included with this product.
Incorrect power adaptor polarity or voltage can seriously damage the product.
Power adaptor information:
Baby Unit Output: 5V DC 1A
VTech Telecommunications Ltd.
Model: VT05EUK05100
Parent Unit Output: 5V DC 1A
VTech Telecommunications Ltd.
Model: VT05EUK05100
Rechargeable battery information:
Zhuhai Great Power Energy Co., Ltd.
Li-ion battery, 3.6V, 2600mAh, 9.36Wh;
Model: ICR18650-2.6Ah-3.6V-1S1P - The power adaptors are intended to be correctly oriented in a vertical or floor mount position. The prongs are not designed to hold the plug in place if it is plugged into a ceiling, under-the-table or cabinet outlet.
- For pluggable equipment, the socket-outlet should be installed near the equipment and should be easily accessible.
- Unplug this product from the wall outlet before cleaning.
Do not use liquid or aerosol cleaners. Use a damp cloth for cleaning. - Do not modify the power adaptors or replace with other adaptors, as this causes a hazardous situation.
- Do not allow anything to rest on the power cords. Do not install this product where the cords may be walked on or crimped.
- This product should be operated only from the type of power source indicated on the marking label. If you are not sure of the type of power supply in your home, consult your dealer or electricity supply provider.
- Do not overload wall outlets or use an extension cord.
- Do not place this product on an unstable table, shelf, stand or other unstable surfaces.
- This product should not be placed in any area where proper ventilation is not provided. Slots and openings in the back or bottom of this product are provided for ventilation. To protect them from overheating, these openings must not be blocked by placing the product on a soft surface such as a bed, sofa or rug. This product should never be placed near or over a radiator or heat source.
- Never push objects of any kind into this product through the slots because they may touch dangerous voltage points or create a short circuit. Never spill liquid of any kind on the product.
- To reduce the risk of electric shock, do not isassemble this product, but take it to an authorised service acility. Disassembling or removing parts of the product other than via the battery door may expose you to dangerous voltages or other risks. Incorrect reassembling can cause electric shock when the product is subsequently used.
- You should test the sound reception every time you turn on the units or move one of the components.
- Periodically examine all components for damage.
- There is a very low risk of privacy loss when using certain electronic devices, such as baby monitors, cordless telephones, etc. To protect your privacy, make sure the
product has never been used before purchase, reset the baby monitor periodically by powering off and then powering on the units, and power off the baby monitor if you are not intending to use it for some time. - The small parts of this monitor can be swallowed by babies or small children. Keep these parts out of reach of children
- Children should be supervised to ensure that they do not play with the product.
- The product is not intended for use by persons (including children) with reduced physical, sensory or mental capabilities, or lack of experience and knowledge, unless
they have been given supervision or instruction concerning use of the appliance by a person responsible for their safety.
SAVE THESE INSTRUCTIONS
Cautions
- Use and store the product at a temperature between 0ºC and 40ºC.
- Batteries should not be exposed to excessive heat such as bright sunshine or fire.
- Mishandling batteries can cause burn, fire or explosion hazards.
- Do not expose the product to extreme cold, heat or direct sunlight. Do not put the product close to a heating source.

Warning—Strangulation Hazard—Children have STRANGLED in cords. Keep this cord out of the reach of children (more than 0.9m) away). Do not remove warning label on the adaptor cord.- Never place the camera unit(s) inside the baby’s cot or playpen. Never cover the camera unit(s) or parent unit with anything such as a towel or a blanket.
- Other electronic products may cause interference with your camera unit. Try installing your camera unit as far away from these electronic devices as possible: wireless outers, radios, cellular telephones, intercoms, room monitors, televisions, personal computers, kitchen appliances and cordless telephones.
What’s in the box
Your video monitor package contains the following items. Save your sales receipt and original packaging in the event warranty service is necessary.![]()
Requirements
For mobile access:
MyVTech Baby Pro mobile app
| Network | Wi-Fi |
| Wi-Fi router | 2.4GHz 802.11 b/g/n |
| Internet connection | 1.5 Mbps @ 720p or 2.5 Mbps @1080p upload bandwidth per baby unit |
Overview
Baby unit overview
- Light sensor
- Camera lens
- Infrared LEDs
Allow you to see clearly in a dark surrounding. - Microphone
Night light touch key (for model with Serial Number starts with 0QW)
• Tap to turn the night light on or off.
• Tap and hold to adjust night light brightness.- Night light

- Speaker
Night light control button
• Press to turn the night light on or off.
• Press and hold to adjust night light brightness.- PAIR
• The parent unit and baby unit provided are already paired.
• Reset the baby unit to factory default.
Press and hold PAIR key and Night light control key at the same time, until you hear a beep sound. - Power jack
- Temperature sensor

- Slots for wall mounting
• Wall mount bracket is included in your package. - Product label
• Here show the product Serial Number (S/N) and other specification. If the serial number starts with 0QW, the product comes with a night light touch key feature.

Parent unit overview
- MENU/SELECT
• Press to enter the main menu.
• While in a menu, press to choose an item, or save a setting. - TALK /

• Press and hold to talk to the baby unit.
• While in a submenu, press to return to the previous menu. - POWER / LCD ON/OFF / EXIT
- VOL -/ VOL +
• Mute or adjust the parent unit’s volume.
• While in a submenu, press to navigate leftward or rightward. - Microphone
LED light (Red)
• On when the parent unit is connected to AC power, and the battery is charging.
• Flashes when the parent unit battery is low and needs charging.- LINK LED light (Green)
• On when the parent unit is linked to the baby unit.
• Flashes when the link to the baby unit is lost.
- Antenna
- Power jack
- RESET
• Force reboot the parent unit. - Speaker
How the system works
Tip For better security and more stable connectivity, this baby monitor requires connecting to a Wi-Fi network and operating in Router mode connection.
To set up Router mode, go to
.
Direct mode
Your baby monitor parent unit and baby unit connect to each other in Direct mode by default, which allows you to immediately stream video out of the box.
It is NOT recommended to continue using Direct Mode connection after initial installation.
Tip
You may experience reduced signal strength if your parent unit and baby unit are far apart, or there are obstructing factors, such as internal walls, between them. You have to set up Router mode to connect the units via your home Wi-Fi network to improve the connection between your parent unit and baby unit.

Router mode
You are required to set up your monitor in Router mode to enjoy live video streaming via your parent unit with an enhanced connection. Router mode is the recommended mode for stable connectivity.
Router mode uses your home Wi-Fi network to connect your video monitor. It supports live video streaming through the parent unit and smartphone app.
If you want to stream live video remotely with your mobile device, download and install the MyVTech Baby Pro mobile app.
With the mobile app, your Wi-Fi router (not included) provides Internet connectivity to your HD video monitor system.
It serves as a communicating channel between your baby unit and mobile device, allowing you to monitor and/or control your baby unit wherever you are. For more details, see Download app for mobile access section in this quick start guide.
Scan to learn more on improving connectivity.
Note
- When both parent unit and app are viewing the camera simultaneously, the video quality will be optimised to deliver the best possible viewing result.
Protect your privacy and online security
VTech cares about your privacy and peace of mind. That’s why we’ve put together a list of industry-recommended best practices to help keep your wireless connection private and your devices protected when online. We recommend you carefully review and consider complying with the following tips.
Ensure your wireless connection is secure.
• Before installing a device, ensure your router’s wireless signal is encrypted by selecting the “WPA2-PSK with AES” setting in your router’s wireless security menu.
Change default settings.
• Change your wireless router’s default wireless network name (SSID) to something unique.
• Change default passwords to unique, strong passwords. A strong password:
– Is at least 10 characters long.
– Is complex.
– Does not contain dictionary words or personal information.
– Contains a mix of uppercase letters, lowercase letters, special characters and numbers.
Keep your devices up to date.
- Download security patches from manufacturers as soon as they become available. This will ensure you always have the latest security updates.
- If the feature is available, enable automatic updates for future releases.
Disable Universal Plug and Play (UPnP) on your router. - UPnP enabled on a router can limit the effectiveness of your firewall by allowing other network devices to open inbound ports without any intervention or approval from you.
A virus or other malware program could use this function to compromise security for the entire network.
For more information on wireless connections and protecting your data, please review the following resources from industry experts:
- Federal Communications Commission: Wireless Connections and Bluetooth Security Tips– www.fcc.gov/consumers/guides/how-protect-yourself-online.
- U.S. Department of Homeland Security: Before You Connect a New Computer to the Internet – www.us-cert.gov/ncas/tips/ST15-003.
- Federal Trade Commission: Using IP Cameras Safely – https://www.consumer.ftc.gov/articles/0382-using-ip-cameras-safely.
- Wi-Fi Alliance: Discover Wi-Fi Security – http://www.wi-fi.org/discover-wi-fi/security.
Connect, charge and power on the baby monitor
Connect the baby monitor
Fully plug the provided power adaptors into the parent unit and baby unit power jack. You can hear a clicking sound if it plugs correctly, and the battery LED light on the parent unit turns on.
CAUTION
- Keep the baby unit out of the reach of your baby. Never place or mount the baby unit inside the baby’s cot or playpen.
Notes
- The rechargeable battery in the parent unit is built-in.
- Use only the power adaptors supplied with this product.
- Make sure the parent unit and the baby unit are not connected to to an electronically controlled electric outlet.
- Connect the power adaptors in a vertical or floor mount position only. The adaptor prongs are not designed to hold the weight of the parent unit and the baby unit, so do not connect them to any ceiling, under-the-table, or cabinet outlets. Otherwise, the adaptors may not properly connect to the outlets.
- Make sure the parent unit, the baby unit and the power adaptor cords are out of reach of children.

NOTE:
Camera lens and surface may get warm during normal operation.
Charge the parent unit battery before use
The parent unit runs on an internal rechargeable battery or AC power. To continuously monitor your baby, keep the parent unit connected to AC power. With the battery alone, the parent unit can cordlessly run for a short time only.
Notes
- Before using the baby monitor for the first time, charge the parent unit battery for 12 hours. When the parent unit battery is fully charged, the battery icon segements are solid
. - The standby time varies depending on your actual use.
The battery icon indicates the battery status (see the following table).
| Battery indicators | Battery status | Action |
| The battery has very little charge and may be used for only a short time. | Charge without interruption (about 30 minutes). | |
| The battery icon segements are solid | The battery is fully charged. | To keep the battery charged, connect it to AC power when in use. |
The parent unit turns on automatically after it connects to the power socket, and the welcome screen appears. You can press
to turn it on or press and hold
to turn it off.

Raise the parent unit antenna for better reception

Basic operation
After powering up your video monitor, the parent unit streams live video in direct mode.
We recommend you follow the instructions on screen to set up home Wi-Fi network with your monitor for functionality enhancements and mobile access. See Auto software
and firmware update and Download app for mobile access in this quick start guide.
Use the menu
Press
on the parent unit to enter the main menu, choose a menu item, or save a setting. You can use the parent unit menu for advanced settings or operations, such as to play or stop lullaby, or adjust the motion and soun d detection settings.

While in the menu:
- Press
or
to scroll among the menu options. - Press
to select an item. - Press
to return. - Press
to exit the menu.
Adjust speaker volume
Press
or
to adjust your parent unit speaker volume level received from the baby unit.

Talk to your baby via the baby unit
- Press and hold the
key. - When the
icon displays on screen, speak to your parent unit.
Your voice is transmitted to the baby unit. - When finished talking, release the
key and hear your baby again.

Turn on/off the parent unit screen
You can turn on or off the parent unit screen without powering off the parent unit. You can still hear sound from the baby unit.
- Press
on the parent unit to turn off the screen. - Press any keys on the parent unit to turn on the screen again.

Tip
To restore to the default settings or reset the Wi-Fi connection, you can reset the parent unit by: ![]()
Parent unit icons
![]()
Status icons
| Direct mode Parent unit, baby unit are connected to each others directly. | |
| Router mode Parent unit, baby unit are connected to home Wi-Fi network. | |
| Night vision is turned on. | |
| Motion detection is turned on. | |
| Sound light indicator | |
| Melodies and soothing sounds are turned on. | |
| Night light is turned on. | |
| Auto night light is turned on. | |
| Talkback is turned on. | |
| Parent unit speaker is muted. | |
| Temperature alert is turned on. |
Test the sound level and position the video monitor
Note
- This video monitor is intended as an aid. It is not a substitute for proper adult supervision, and should not be used as such.
Testing the sound level of the video monitor
CAUTION
For hearing protection, make sure the parent unit is more than 1 metre away from the baby unit. If you hear any feedback noise from the parent unit, move the parent unit further until the noise stops. You can also press – VOL on the parent unit to lower or mute the noise.
Tip
- Increase the parent unit speaker volume if you cannot hear the sounds transmitted from the baby unit.

Positioning the video monitor
CAUTION
- Keep the baby unit out of the reach of your baby. Never place or mount the baby unit inside the baby’s cot or playpen.
- Place the baby unit more than 1 metre away from your baby.

- Adjust the angle of the baby unit to aim at your baby.

- To avoid causing feedback noise from your video monitor:
• Make sure your baby unit and parent unit are more than 1 metre apart; OR
• Turn down the volume of your parent unit.
Auto software and firmware update
To ensure that your video monitor is always at its best performance, the parent unit will prompt a message and ask you to update its software and the baby unit’s firmware
when there are new versions available.
- Follow the instructions on the parent unit screen to update your video monitor. If you skip the updates, the parent unit and baby unit will remind you for update 8 hours later.
Connect your video monitor with home Wi-Fi network
- You must connect your video monitor to your secured home Wi-Fi network in order to receive the latest software and firmware updates. To set Wi-Fi up, go to:

Download app for mobile access
1 Download the free MyVTech Baby Pro mobile app and install it to a mobile device, then use your mobile device and the mobile app to monitor your areas remotely.
![]()
- Press MENU when the parent unit is idle.
- Go to

- Scan the QR code in the parent unit to download the app into your mobile device.
- Follow the instructions in the mobile app to set up and pair your baby unit to the mobile app.
Alternatively, you can download the mobile app from the App Store or Google Play store.
Install MyVTech Baby Pro mobile app
- Browse the App Store
or the Google Play store
. - Search for the mobile app with the keyword “myvtech baby pro“.
- Download and install the MyVTech Baby Pro mobile app to your mobile device.
OR
Scan the QR codes on the right to get the app.
NOTES
- Make sure your mobile device meets the minimum requirement for the mobile app.
Minimum requirement
The mobile app is compatible with:
- Android™ 6.0 or later; and
- iOS 12 or later.
2 After installing the mobile app, follow the instructions in the mobile app and parent unit to set up and pair your baby unit.
In your mobile device:
- Tap
to run the mobile app in your mobile device, and then create a user account. - We recommend that you use common webmail services, such as Google Gmail for registration of your user account. Check your email (and Spam folder), and activate your new camera account via the email link, then sign in to your account.
- Follow the instructions in the mobile app to pair the camera. Tap
, then Add Camera in the mobile app to get started.
Test the location for the baby unit
If you plan to install your baby unit in a designated location, and use your home Wi-Fi network to connect your video monitor, you need to test which of your selected monitoring areas within the house have good Wi-Fi signal strength. After you have powered on your parent unit, you can use your parent unit’s Wi-Fi signal strength indicator
to assist in checking. Once you have identified the suitable location, you can install your baby unit.
Adjust the distance between your baby unit and the Wi-Fi router if needed.

Tip
- Depending on surroundings and obstructing factors, such as the effect distance and internal walls have on signal strength, you may experience reduced Wi-Fi signal. To improve the Wi-Fi signal strength, adjust the distance or direction of your parent unit. Check with your parent unit again.
General product care
To keep this product working well and looking good, follow these guidelines:
- Avoid placing it near heating appliances and devices that generate electrical noise (for example, motors or fluorescent lamps).
- DO NOT expose it to direct sunlight or moisture.
- Avoid dropping the product or treating it roughly.
- Clean with a soft damp cloth.
- DO NOT immerse the parent unit and the baby unit in water and do not clean them under running water.
- DO NOT use cleaning spray or liquid cleaners.
- Make sure the baby unit and parent unit are dry before you connect them to the mains again.
Storage
When you are not going to use the baby monitor for some time, store the parent unit, the baby unit and the adaptors in a cool and dry place.
Adult supervision
- This baby monitor should be for use by adults only.
- Do not place the baby unit inside the cot or playpen.
- To ensure your children’s safety, do not allow them to touch or play with the baby monitor and its accessories. THIS IS NOT A TOY.
Mount the baby unit (optional)
NOTES
- Check for reception strength and camera angle of the baby unit before drilling the holes.
- The types of screws and wall plugs you need depend on the composition of the wall. You may need to purchase the screws and wall plugs separately to mount your baby units.
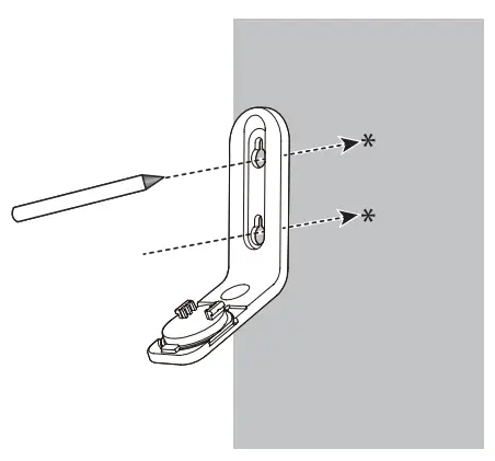
- Place the wall mount bracket on a wall and then use a pencil to mark two holes in parallel. Remove the wall mount bracket and drill two holes in the wall (5.5mm drill bit).

- If you drill the holes into a stud, go to step 3.
• If you drill the holes into an object other than a stud, insert the wall plugs into the holes.
Tap gently on the ends with a hammer until the wall plugs are flush with the wall.

| 3. Align the wall mount bracket and screws with the holes in the wall as shown. Tighten the screw in the middle hole first, so that the wall mount bracket position is fixed. You can tighten the other screw in the top hole. | OR | 3. Insert the screws into the holes and tighten the screws until only 6mm of the screws are exposed. |
![]() | ![]() | |
| 4. Place the baby unit on the wall mount bracket, and then slide it forward until it locks into place. Connect the power adaptor to the baby unit and a power supply. | 4. Place the baby unit on the wall mount bracket, and then slide it forward until it locks into place. Align the holes on the wall mount bracket with the screws on the wall, and slide the wall mount bracket down until it locks into place. | |
![]() | ![]() |
Customer service and product warranty
This warranty is valid for the UK and Ireland only. For products purchased outside the UK and Ireland, please contact your local distributor or place of purchase.
PRODUCT WARRANTY
Thank you for choosing this quality product from VTech.
- The product detailed above is covered by a one year warranty from the date of purchase, against any defects in materials or workmanship.
- The product may be returned to the place of purchase. Alternatively the product can be returned to VTech Electronics Europe Plc (see address below), with proof of purchase, without proof of purchase no replacement will be provided.
- VTech Electronics Europe Plc will examine the product and if it is found to be defective due to faulty materials or workmanship, will replace the product at their discretion.
- If the product covered by this warranty is damaged due to misuse, modification or unauthorized repair, or because of faulty batteries, battery discharge or incorrect electrical connections, then this warranty becomes void.
- This warranty is personal to the original purchaser and is not transferable.
- Breakages to the LCD screen are not covered by the warranty.
- Products returned to VTech Electronics Europe Plc, should be sent to the address shown below and packed carefully to avoid damage in transit. Please do not include batteries or adaptors. Please include details of the fault together with your name and address, contact phone number and/or email address.
- To keep an online record of your warranty, please register your product online at www.vtech.co.uk/clubvtech
VTech Electronics Europe Plc, c/o XPO Logistics, Warehouse 350, Cat & Fiddle Lane, West Hallam, DE7 6HE THIS WARRANTY IS OFFERED AS AN EXTRA BENEFIT AND DOES NOT AFFECT CONSUMERS’ STATUTORY RIGHTS.
IMPORTANT
Please retain this booklet with your sales receipt as proof of the date of purchase.
Customer Service
Please visit www.vtechphones.eu to contact our Customer Services Department.
Disposal of batteries and product
The crossed-out wheelie bin symbols on products and batteries, or on their respective packaging, indicates they must not be disposed of in domestic waste as they contain substances that can be damaging to the environment and human health.
The chemical symbols Hg, Cd or Pb, where marked, indicate that the battery contains more than the specified value of mercury (Hg), cadmium (Cd) or lead (Pn) set out in Battery Directive (2006/66/EC). The solid bar indicates that the product was placed on the market after 13th August, 2005.
Help protect the environment by disposing of your product or batteries responsibly.
Declaration of Conformity
This product is intended for use within Europe and UK.
This equipment complies with the essential requirements to EU’s Radio Equipment Directive (2014/53/EU) and the UK’s Radio Regulations 2017 on radio systems and telecommunication equipment.
VTech Telecommunications Ltd. hereby declares that this Video Monitor RM2751 is in compliance with the essential requirements and other relevant provisions of EU’s Radio Equipment Directive (2014/53/EU) and UK’s Radio Equipment Regulations 2017.
The Declaration of Conformity for the RM2751 is available from www.vtechphones.eu.
Manufacturer: VTech Telecommunications Ltd.
23/F., Tai Ping Industrial Centre, Block 1, 57 Ting kok Road, Tai Po, Hong Kong.
Importer: VTech Electronics Europe Plc
Napier Court, Abingdon Science Park, Abingdon, Oxon, OX14 3YT, U.K.
Technical specifications
| Frequency | Baby unit: 2412 – 2472 MHz |
| Channels | 13 |
| LCD | 2.8’’ Colour LCD (IPS 320×240 pixels) |
| Nominal effective range | Actual operating range may vary according to environmental conditions at the time of use. |
| Power requirement | Parent unit/Baby unit power adaptors: VTech, VT05EUS05100 Rated output: 5V DC, 1000mA. Parent unit battery: 3.6V 2600mAh, 9.36Wh Lithium-ion battery |
Android™ and Google Play™ are trademarks of Google Inc.
App Store is a trademark of Apple Inc., registered in the U.S. and other countries.
IOS is a trademark or registered trademark of Cisco in the U.S. and other countries and is used under license.

Specifications are subject to change without notice.
© 2023 VTech Communications, Inc.
All rights reserved. 01/23. RM2751_UK_QSG_V2
References
Wireless Connections and Bluetooth Security Tips | Federal Communications Commission
Before You Connect a New Computer to the Internet | CISA
Electronic Learning Toys | Best Learning Toys | VTech UK
Electronic Learning Toys | Best Learning Toys | VTech UK
VTech Telecom Products European Official Site
Security | Wi-Fi Alliance
How To Secure Your Home Security Cameras | Consumer Advice




























![Vtech 7-inch Smart Wi-fi 1080p Video Monitor [rm7754hd, Rm7754-2hd] User Manual Vtech 7-inch Smart Wi-fi 1080p Video Monitor [rm7754hd, Rm7754-2hd] User Manual](https://static-data1.manualsee.com/1/img/316/17760/2020/12/Smart-Wi-Fi-1080p-Video-Monitor-Fig-1.jpg)



