Dyna-Glo 4 Burner Premier Gas Grill with Side Burner

WARNING
This product and the fuels used to operate this product (liquid propane or natural gas), and the products of combustion of such fuels, can expose you to chemicals including benzene, which is known to the State of California to cause cancer and reproductive harm. For more information go to www.p65Warnings.ca.gov
CAUTION
Never use charcoal or lighter fluid with the grill. Do not use gasoline, kerosene or alcohol for lighting. The LP gas cylinder used with this appliance must be: (a) Constructed and marked in accordance with the Specifications for LP-Gas Cylinders of the U.S. Department of Transportation (D.O.T.) or the National Standard of Canada, CAN/CSA-B339, Cylinders, Spheres and Tubes for Transportation of Dangerous Goods; and Commission, as applicable; and (b) Provided with a listed overfilling prevention device (c) Provided with a cylinder connection device compatible with the connector for outdoor cooking appliances. This grill is not intended to be used in or installed on recreational vehicles and/or boats. Never keep a filled container in a hot car or car trunk. Heat will cause the gas pressure to increase, which may open the relief valve and allow gas to escape. Always open grill lid slowly and carefully as heat and steam trapped within the grill can burn you severely.
SAFETY INFORMATION
WARNING

Do not place the grill under overhead combustible construction or awnings. Minimum clearance from sides and back of unit to combustible construction. 36 inches (914.4mm) from sides and back. NOTE: The installation must conform with local codes or, in the absence of local codes, with either the National Fuel Gas Code, ANSI Z223.1/NFPA 54, Natural Gas and Propane Installation Code, CSA B149.1, or Propane Storage and Handling Code, B149.2.
CAUTION
Do not store or use gasoline or other flammable liquids or vapors in the vicinity of this or any other appliance. An LP cylinder not connected for use shall not be stored in the vicinity of this or any otheer appliance. This grill is for use with propane gas only (propane cylinder not included. Never attempt to attach this grill to the self-contained propane system of a boat, camper trailer, motor home or house. Do not attempt to move the grill while it is lit or when it is hot. The casters should be locked when not moving the grill. Do not use the grill unless it is completely assembled and all parts are securely fastened and tightened. Keep all combustible items and surfaces at least 36 inches (91.44 cm) away from the grill at all times. Do not touch metal parts of grill until it has completely cooled about 45 minutes to avoid burns, unless you are wearing protective gear (pot holders, gloves, BBQ mittens, etc. Do not alter this grill in any manner Clean and inspect the hose before each use. If there is evidence of abrasion, wear, cuts, or leaks, the hose must be replaced prior to operating the appliance. The replacement hose assembly will be that which is specified by the manufacturer. Move gas hoses as far away as possible from hot surfaces and dripping hot grease. Keep the grill’s valve compartment, burners and circulating air passages clean. Inspect the gril before each use. Do not obstruct the flow of gas or ventilation air. The use of alcohol, prescription or non-prescription drugs may impair the operator’s ability to properly assemble or safely operate the grill. Do not leave a lit grill unattended. Keep children and pets away from the grill at all times. Do not place this grill on any type of tabletop surface. The grill should be placed on a flat and level surface. Do not use the grill in high winds.
PACKAGE CONTENTS

| PART | DESCRIPTION | QUANTITY |
| A | Hood Handle | 1 |
| B | Temp Gauge | 1 |
| C | Grill Body Assembly | 1 |
| D | Side Burner Rack | 1 |
| E | Right Side Burner Body Assembly | 1 |
| F | Side Burner | 1 |
| G | Right Side Burner Control Panel | 1 |
| H | Control Knob Bezel | 1 |
| I | Control Knob | 5 |
| J | Door Handle | 2 |
| K | Right Door Assembly | 1 |
| L | Cart Right Side Panel Assembly | 1 |
| M | Locking Swivel Caster | 2 |
| N | Non-Locking Swivel Caster | 2 |
| PART | DESCRIPTION | QUANTITY |
| O | Bottom Panel Skirt Assembly | 1 |
| P | Cart Left Side Panel Assembly | 1 |
| Q | Left Door Assembly | 1 |
| R | Cylinder Blocking Bar | 1 |
| S | Heat Tent | 4 |
| T | Cooking Grate | 2 |
| U | Warming Rack | 1 |
| V | Left Side Table Assembly | 1 |
| W | Grease Pan | 1 |
| X | Grease Cup | 1 |
| Y | Upper Front Door Brace | 1 |
| Z | Cart Rear Panel | 1 |
| A1 | Cart Bottom Panel Shelf | 1 |
HARDWARE CONTENTS


- M6 Spring Washer
- M6 Plainn M6
- M6x16 Bolt
- M4x10 Bolt
- Washer
- Wingnut
- Wrench
PREPARATION
Before beginning assembly of product, make sure all parts are present. Compare parts with package contents list on previous page and hardware contents above. If any part is missing or damaged, do not attempt to assemble the product. Contact customer service for replacement parts. Estimated Assembly Time: 50 minutes with 2 people.
Tools Required for Assembly and Leak Testing (not included)
- Phillips screwdriver
- Spray bottle
CAUTION
THIS UNIT IS HEAVY. Two people required for safe assembly. Two people required for safe assembly. Some parts may contain sharp edges. Wear protective gloves if necessary. Read and follow all safety statements, warnings, assembly instructions and use and care instructions before attempting to assemble and use.
ASSEMBLY INSTRUCTIONS
Attach the two locking swivel casters (M) and the two non-locking swivel casters (N) to the cart left side panel assembly (P) and the cart right side panel assembly (L) with wrench (FF).
Hardware Used
FF Wrench
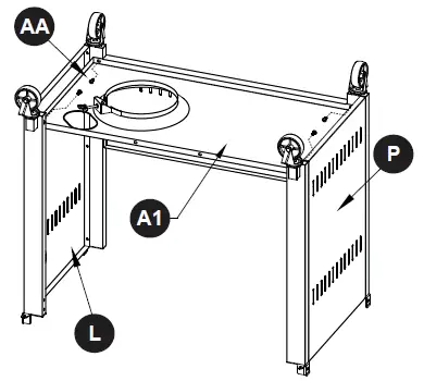
Attach the cart left side panel assembly (P) and the cart right side panel assembly (L) to the cart bottom panel shelf (A1) with four M6x16 bolts (AA). Do not tighten bolts at this time.
Hardware Used
M6x16 Bolt
Attach the upper front door brace (Y) to the cart left side panel assembly (P) and the cart right side panel assembly (L) with four M6x16 bolts (AA). Attach the cart rear panel (Z) to the cart left side panel assembly (P) and the cart right side panel assembly (L) with the four M6x16 bolts (AA).
Attach the cart rear panel (Z) to the cart left side panel assembly (P) and the cart right side panel assembly L with the four M6x16 bolts AA. Insert the hook on the bottom panel skirt assembly (0) into the slot on the cart left side panel assembly (P) and the cart right side panel assembly (L) as shown. Attach the bottom panel skirt assembly O to the cart bottom shelf A1 cart left side panel assembly (P) and the cart right side panel assembly (L) with four M6x16 bolts (AA). Tighten ALL bolts from step 2 securely.

Attach the cylinder blocking bar (R) to the cart left side panel assembly (P) and the cart bot tom panel shelf (A1) with two M6x16 bolts (AA).
Attach the door handle (J) to the left door as- sembly (Q) and the right door assembly (K) with four M6x16 bolts (AA).

Insert the bottom hinge pin of the cart bottom panel skirt(0) into the lower hole on the left door assembly (Q), then press the upper door spring hinge pin into the hole on the cart left side panel assembly (P) as shown. Repeat with the right door assembly (K). 
Attach the hood handle (A) to the grill body assembly (C) with two M6 wing nuts (EE), two M6 spring washers (DD) and two M6 plain washers (CC). Attach the hood handle (A) to the grill body assembly (C) with two M6 wing nuts (EE), two M6 spring washers (DD) and two M6 plain washers (CC).
Attach the hood handle (A) to the grill body assembly (C) with two M6 wing nuts (EE), two M6 spring washers (DD) and two M6 plain washers (cC).
Hardware Used
- M6 Plain Washer
- M6 Spring Washer
- M6 Wingnut

Remove pre-assembled wing nut and plain washer from the temp gauge (B), then attach the temp gauge (B) to the grill body assembly (C). Secure the temp gauge (B) with wing nut and plain washer removed earlier in this step.
Carefully place the grill body (C) onto cart left side panel assembly (P) and cart right side panel assembly (L). Adjust the grill body (C) so that the holes in the grill body (C) are aligned with holes in the tabs of cart left side panel assembly (P) and cart right side panel assembly (L). Note: Make sure the gas hose/regulator assembly is outside the cart. Secure the grill body (C) with four M6X16 bolts (AA).

Insert two M6x16 bolts (AA) in left side of grill body (C) as shown, leaving 5mm of threads exposed. Align key hole in left side table assembly (V) with the two bolts just inserted in the grill body (C), and insert two M6x16 bolts (AA) in the remaining holes in the grill body (C). Adjust the left side table assembly (V) correctly, then tighten all bolts. 
Attach the right side burner control panel (G) to the right side burner body assembly (E) with three M6x16 bolts (AA). Insert two M6x16 bolts (AA) in right side of grill body (C) as shown, leaving 5mm of threads exposed. Align key hole in right side table assembly (E) with the two bolts just inserted in the grill body (C), and insert two M6x16 bolts (AA) in the remaining holes in the grill body C. Adjust right side table assembly E correctly. then tighten all bolts.
Use two M4x10 bolts (BB) to assemble the side burner valve and the side burner control knob bezel (H) to the right side burner control panel (G). Assemble the ignition wire to the side burner electrode. Disassemble two M4x10 bolts and two M4 washers that are pre-assembled on the side burner (F) and use them to assemble the side burner (F) on the right side burner table assembly (E). Make sure the side burner orifice is placed into the gas inlet tube of side burner. place the side burner cooking grate (D) on the right side burner table assembly (E).Assemble the ignition wire to the side burner electrode.

WARNING
IT IS VERY IMPORTANT TO CHECK AND ENSURE THAT EACH AND EVERY BURNER IS FULLY ENGAGED WITH THE ADJACENT VALVE ORIFICE BEFORE COMPLETING STEP 16. FAILURE TO DO SO MAY RESULT IN FIRE OR EXPLOSION, POSSIBLY CAUSING SERIOUSS INJURY OR DEATH. REFER TO MAINTENANCE SECTION INSTRUCTIONS TO PROPERLY CHECK THE ENGAGEMENT.


Put four heat tents (S) in place over each burner.
Put two cooking grates (T) and one warming rack (U) in place.
Put the grease pan (W) and grease cup (X) into place.

Assemble the five control knobs (1) to the valve stems. Open the left door assembly (Q) and the right door assembly (K), insert the hose/regulator assembly into the cart assembly through the hole on the cart right side panel assembly (L). Place LP gas cylinder (sold separately) into the nesting hole located on the cart bottom shelf (A1). Rotate the LP gas cylinder until the hose/regulator coupling aligns with the thread- ed valve of the cylinder. Hand tighten the hose/ regulator coupling to the threaded valve of the LP gas cylinder. Tighten the tank screw clockwise in the rear of the cart until the LP gas cylinder is secured in place inside the nesting hole of the cart bottom shelf (A1).
Assemble the five control knobs (1) to the valve stems. Open the left door assembly (Q) and the right door assembly (K), insert the hose/regulator assembly into the cart assembly through the hole on the cart right side panel assembly (L). Place LP gas cylinder (sold separately) into the nesting hole located on the cart bottom shelf (A1). Rotate the LP gas cylinder until the hose/regulator coupling aligns with the thread- ed valve of the cylinder. Hand tighten the hose/ regulator coupling to the threaded valve of the LP gas cylinder. Tighten the tank screw clockwise in the rear of the cart until the LP gas cylinder is secured in place inside the nesting hole of the cart bottom shelf (A1).
Fully Assembled

Front View
Rear View



OPERATION INSTRUCTIONS
CHECKING FOR LEAKs
After all connections are made, check all connections and fittings on the LP gas tank valve, gas hose and regulator for leaks with a water and soap solution. To prevent fire or explosion while testing for a leak: Always perform leak test prior to lighting the grill. Do not smoke while testing for a leak. Always perform leak tests outdoors in a well-ventilated area. Do not use any source of flame while testing for leaks. Do not use the grill until any and all leaks are corrected. If you are unable to correct a leak, disconnect the propane supply and call a gas appliance service dealer.
PERFORM LEAK TEST
Prepare leak test solution by 50/50 ratio of liquid dish soap and water. Total solution required is approximately 2-3 ounces (70-90 ml). Put leak test solution in a spray bottle. Ensure all control knobs are in the O OFF position. Connect thee gas hose to the gas supply. Open the LP gas tank valve. Spray leak test solution on all gas carrying connections and fittings. Presence of bubbles at areas of applied test solution indicates a gas leak. If leaks are detected or you smell or hear gas, shut off the gas supply valve immediately and repair or replace the defective part. Do not use the grill until all leaks are corrected.
CAUTION
Only use the regulator and hose assembly provided! Ifa replacement is necessary, please call our customer service center. Do not use replacement parts that are not intended for this grill.
WARNING
ALL INSTRUCTIONS AND SAFEGUARDS ON THIS PAGE MUST BE FOLLOWED TO PREVENT FIRE, DAMAGE ANDIOR INJURY.
CONNECTING GAS CYLINDER
The propane gas supply cylinder to be used must be constructed and marked in accordance with the Specifications for LP Gas Cylinders of the U.S. Department of Transportation D.o.T or the National Standard of Canada, CAN/CSA-B339, Cylinders, Spheres and Tubes for Transportation of Dangerous Goods, and Commission, as applicable; and provided with a listed Overfilling prevention device. Use only 20-pound cylinders height: 18.11 inches, tank diameter: 9.84 inches, foot diameter: 8.03 inches equipped with a cylinder connection device compatible with the connection for outdoor cooking appliances. The cylinder must include a collar to protect the cylinder valve. The gas cylinder should not be dropped or handled roughly. If the appliance is not in use, the gas cylinder must be disconnected. Storage of an appliance indoors is permissible ONLY if the cylinder is disconnected and removed from the appliance. Cylinders must be stored outdoors out of the reach of children and must not be stored in a building, garage or any other enclosed area. Your cylinder must never be stored where temperatures can reach over 125° F Place dust cap on cylinder valve outlet whenever the cylinder is not in use. Only install the type of dust cap on the cylinder valve outlet that is provided with the cylinder valve. Other types of caps or plugs may result in leakage of propane. Before connection, be sure that there is no debris caught in the outlet of the gas cylinder, outlet of the regulator valve or in the outlet of the burner and burner ports. Connect regulator valve and hand- tighten firmly. Keep the propane cylinder valve closed and disconnect the propane cylinder from the regulator valve when the grill is not in use. DO NOT obstruct the flow of combustion air and ventilation air to the gril. The propane cylinder must be arranged for vapor withdrawal and equipped with a listed overfilling prevention device. Please use the proper cylinder orientation to provide vapor withdrawal.
NOTE
The cylinder must be fully upright for the cylinder to have vapor withdrawal only.
Correct

Wrong

CAUTION
- Do not store a spare LP-gas cylinder under or near this appliance.
- Never fill the cylinder beyond 80 percent full.
- If the information in (a) and (b) is not followed exactly, a fire causing death or serious injury may occur
NOTE
Other cylinders may be acceptable for use with this appliance provided they are compatible with the appliance nesting hole and retention means. Refer to Step 19 of the Assembly Instructions for corect cylinder to cylinder holder connection.
WARNING
ALL INSTRUCTIONS AND SAFEGUARDS ON THIS PAGE MUST BE FOLLOWED TO PREVENT FIRE, DAMAGE AND/OR INJURY.
CONNECTING THE LP TANK
- The knob on the LP tank must be closed.
- Make sure that the knob is turned full stop.
- The cylinder supply system must be arranged for vapor withdrawal.
- Check that the control knob on the control unit is turned off.
- Remove the protective cap from the LP tank valve and coupling nut.
- Hold the regulator in one hand and insert thee nipple into the valve outlet.
- Be sure the nipple is centered in the valve outlet.
- The coupling nut connects to the large outside threads on the valve outlet. Use care do not cross thread the connection.
- Hand-tighten the coupling nut clockwise until it comes to a full stop.
- Firmly tighten by hand only.
- Do not use tools.
- To Disconnect:
- Fully close the tank valve by turning clockwise.
- Tum the coupling nut counterclockwise until the regulator assembly detaches.
Turn to clockwise
.
WARNING
In the connection process, make sure: the regulator inlet connector mates with the cylinder valve outlet properly, safely and firmly, and; the LP gas hose does not come in contact or remain in contact with the firebox.
Lighting The Grill
Before first use
Remove all hangings or plastic straps, if present. Before you cook on your new gas grill, it is important to clean your grill with heat. To do this, operate the grill for approximately 15 minutes with the lid dlosed and the control knob in the highest position. This will clean the internal parts by burning off any residue and odor from the manufacturing process.
CAUTION
If the flame extinguishes accidentally during ignition or operation, immediately TURN OFF the cylinder valve and then TURN OFF the control knob.
WARNING
Do not lean over grill when lighting. Read instructions before lighting. Do not put pots on the sear side burner. Using pots on the sear side burner will result in high carbon monoxide
- Check that the control knobs are in the O OFF position.
- Open the tank valve fully by turning it counter-clockwise.
- Open lid during the lighting process.
- Depress and turn control knob counter clockwise from the O OFF position, past the 7 ignite position, to the HIGH position.
- You may need to repeat several times to ignite the burner.
- If ignition does not occur in 5 seconds, turn the control knob(s) to O OFF position, wait 5 minutes, and repeat the lighting procedure. if the burner still does not light, check that there is gas in the cylinder and follow the match lighting instructions.
- Check the Troubleshooting Guide on page 26 for more information.
LIGHTING THE GRILL WITH A MATCH
- Open the lid.
- Insert a match in the end of the match holder that is installed on the inside of the cabinet door.
- Light the match.
- Immediately place the lit match through the spaces in the grill gates near the ports of the burner between the heat tents as shown.
- Make sure the lit match is close to the burner ports.
- Press in the control knob that operates the burner and rotate position and burner should light immediately.
- Repeat 2-5 steps to lighting the remaining burners.
- Adjust burners to desired cooking settings counter-clockwise to G High.
CAUTION
Make sure all burners controls are off except for the burner being lit and the burners that have been lit.
WARNING
If ignition does not occur in 5 seconds, turn the control knob/s) to “O” OFF position, wait 5 minutes, and repeat the lighting procedure.
Main Burner Match Lighting

Side Burner Match Lighting

SHUTDOWN INSTRUCTIONS
- Turn control knobs clockwise to the O OFF position.
- Close valve at tank fully by turning clockwise.
- Close lid. Turn off LP supply at cylinder when appliance is not in use.
- Turn off LP supply at cylinder when appliance is not in us.
Cooking Grates
The best time to burn off the cooking grates is after every use (approx. 15 minutes). The grill is already hot from cooking thus requiring less fuel to obtain necessary temperature for ‘burn-off. To burn off or heat clean your grill, turn the burners to highest position and run for 15 minutes with the lid closed. Then turn off the bummers and use wire brush to clean excess food residue from the grates. The porcelain grates have an enamel finish similar to glass and should be handled with care not to chip.
CAUTION
Ensure the grill is cool before cleaning and conducting maintenance and with the gas supply turned off at the LP-Gas Cylinder.
Recommended Cleaning Supplies
Mild liquid dish soap, warm water, nylon cleaning pad, wire brush DO NOT use cleaners that contain acid, mineral spirits or any abrasive substance.
Outside Surfaces
It is recommended to use only mild dish soap and hot water to clean grill and grill parts. Rinse with warm water Inside Bottom Pan of Grill Body To avoid flare-ups, the bottom pan of the cooking box should be kept clean on a regular basis. Remove residue using a brush, scraper and/or cleaning pad. Wash with mild dish soap and warm water. Rinse with warm water Avoid water splashing into venture tubes of burners.
Inside Bottom Pan of Grill Body
To avoid flare ups, the bottom pan of the cooking box should be kept clean on a regular basis. Remove residue using a brush, scraper and/or cleaning pad. Wash with mild dish soap and warm water Rinse with warm water. Avoid water splashing into venture tubes of burners. Heat Tents Clean residue with wire brush and wash with mild dish soap and warm water. Rinse with warm water. Grease Cup Empty the grease cup and clean with mild dish soap and warm waters an a regular bses.

Heat Tents
Clean residue with wire brush and wash with mild dish soap and wam water. Rinse with warm water.
Grease Cup
Empty the grease cup and clean with mild dish soap and wam water on a regular basis.
Checking The Flame
For maximum fuel efficiency and cooking performance, flame should be blue yellow color and be between 1-2 inches high. To check the flame, view the flame through the holes in both sides of the firebox.

Burner Assembly

Removing The Burner Assembly
- Make sure all control knobs are in the OFF position, gas supply valve is closed, and the gas hose is disconnected from the gas supply.
- Open lid and remove warming rack, cooking grates, and heat tents.
- Remove hinge pin as illustrated.

- Slide main burners out of firebox.
- Detach ignition wire from electrode.

Cleaning the Burner Assembly
Make sure the grill is cool. Ensure all burner ports are clear of clogs. Use of a pin or paper clip works well. Ensure burner is free of any damage. If damage is found, replace with new burner. Ensure the end of the burner and primary air screen are clear from insect nests, dirt or debris.
Re installing the Burner
Ensure that gas valve orifices are correctly positioned inside burner inlet venture. The use of a flashlight may be necessary to ensure the correct position. It is recommended to view the correct position through the firebox vent holes as illustrated below. Reattach each burner with the hinge pin and reattach the ignition wire to electrode.

Bottom View

Incorrect

Correct

WARNING
If the instructions above are not followed, a fire or explosion may result, possibly causing serious bodily injury or death.
Other Care and Maintenance
It is recommended that inspection and service on this appliance be conducted annually by a qualified service person. It is recommended that you always check that the outdoor cooking appliance area is clear and free from combustible material, gasoline and other flammable vapors and liquids before lighting. It is recommended that you regularly check that the flow of combustion and ventilation air is not obstructed. It is recommended that you regularly check that the ventilation openings of the grill cabinet are free and clear from debris. It is recommended that you regularly check and clean the burner/venturi tubes for insects and insect nests. A dlogged tube can lead to a fire beneath the grill.
TROUBLESHOOTING
If you have any questions regarding the product, please call customer service.
| PROBLEM | POSSIBLE CAUSE | CORRECTIVE ACTION |
| The burner will not light using the ignitor procedure weak or no spark being generated. | The igniter electrode may be covered with grease or residue. The igniter electrode may have a loose or disconnected wire. Cracked or broken ignition electrode. | Clean the ignitor electrode.
Check the connection and reconnect any loose or disconnected wires.
Replace ignition electrode. |
| Low Heat | . | the gas supply pressure and correct the pressure. |
| Excessive Flare Ups | Grease and/or residue build-up RQ KHDW WHQWV RU LQ ÀUHER Excessive dripping of fat or marinade from food. Cooking temperature too high. | Clean the grill components.
Trim the fat from meat and use non-oil based marinades. Lower temperature accordingly. |
| PROBLEM | POSSIBLE CAUSE | CORRECTIVE ACTION |
| The burner will not light with a match | Match not reaching burners (when holding match with hand. Empty tank. Poor connection between valve regulator and LP cylinder coupling. Burner inlet blocked. | Use match holder found in cabinet door. &KHFN IXHO OHYHO DQG UHÀOO WDQN LI necessary. Turn off grill knobs, close the LP cylinder valve at top of cylinder and check the connection between the regulator valve and cylinder coupling. Disconnect and reconnect, if necessary. Clean the burner inlet venturi and burner as described by the Care and Maintenance section in the manual. |
| 1R JDV ÁRZ RU DQ obstructed gas ÁRZ | Tank valve not on or fully opened. Empty tank. |
|
| Poor connection between valve regulator and LP cylinder coupling. | ||
| Burner inlet blocked. |
LIMITED WARRANTY
1-Year Limited Warranty This LP gas grill is warranted for 1 year (5 years on the Stainless Steel burners) against broken or damaged parts at the time of purchase. It is warranted to be free of defects. Paint is warranted to be free of defects except for rust, which may appear after repeated use. This warranty does not cover damage or issues related to neglect, abuse, or modifications to the appliance. Repair labor is not covered. All parts that meet the warranty requirements will be shipped at no charge via the discretion of the manufacturer ground shipments, US Mail, or Parcel Post ONLY. Any special handling charges i.e. Second Day, overnight, etc will be the responsibility of the consumer. All warranty claims apply only to the original purchaser and require a proof of purchase verifying purchase date. Do not return parts without first obtaining a return authorization number from our customer service.
NOTICE
Some states do not allow the exclusion or limitation of incidental or consequential damages or limitations on how long an implied warranty lasts, so the above limitations or exclusions may not apply to you. This warranty gives you specific legal rights and you may also have other legal rights which may vary from state to state. GHP Group Inc. 6440 W. Howard Street Niles, IL, USA 60714-3302
REPLACEMENT PARIS LIST
For replacement parts, call our customer service department.





Rear View

















