RETRO MUSIC CENTRE

RECORDING MUSIC CENTRE
Copy from vinyl, cassette, CD or Bluetooth onto SD card.
INSTRUCTION MANUAL
Please read and retain this info for future reference.
Are you a vinyl connoisseur, or perhaps a budding music entrepreneur? Whether you’re making memories, or on a quest for that perfect, new sound – our Retro Bluetooth Music Centre offers a treasure trove of entertainment possibilities, just waiting to be opened and discovered. Our vintage-inspired music centre boasts a modest, retro exterior, perfect for a centrepiece in your home or office. While internally it features the capacity to play your music, in your chosen style, with a buffet of music playback options – a front-loading CD player, AM/FM radio, cassette player, and even AUX, MP3 and Bluetooth compatibility.
What lies in your collection?
Our Retro Bluetooth Music Centre has you covered with infinite playback possibilities through its powerful 10 Watt speaker-system.
Have you found your sound?
This super system allows you to record and transfer your music from any format to an MP3 recording onto USB or SD card. Build your very own electronic history of music with recording options from vinyl, cassette, CD and Bluetooth.
Hear the grooves, remember the sounds, feel the music – with the Retro Bluetooth Music Centre.
Features:
* Front loading CD player
* Bluetooth compatibility
* MP3/CD/CD-R/CD-RW
* 3 speed turntable: 33/45/78
* Cassette player
* FM radio
* USB/SD CARD for recording
* Aux in
* 3.5mm earphone socket
* 2 x 5 Watts
* Accessories: remote control, 45 RPM adaptor
General Safety Instructions
Read this manual thoroughly before first use and keep it in a safe place for future reference, along with the completed warranty card, purchase receipt and carton. The safety precautions enclosed herein reduce the risk of fire, electric shock and injury when correctly adhered to. Follow all instructions and take notice of all warnings to reduce the risk of fire or electric shock.
This appliance is intended for household use only.
DANGER! CAUTION!
This symbol alerts you that there is dangerous voltage inside. To prevent electric shock, do not open the enclosure.
IMPORTANT!
This symbol alerts you to read and observe important warnings And instructions on the unit or in this manual.

Electrical safety and cord handling
- To prevent contact with high voltage components inside, do not attempt to open the equipment.
- Before installing this equipment, make sure your outlet voltage corresponds to the voltage stated on the appliance rating label.
- When connecting the equipment, align the plug properly and insert it fully to prevent electric shock.
- Only use this equipment with the cord and plug supplied, and do not overload the power outlet.
- If the power cord is damaged, do not use the equipment. The cord must be replaced by the manufacturer or similarly qualified personnel to avoid a hazard. Contact the after-sales support line for advice.
CAUTION:
To reduce the risk of fire or electric shock, do not expose this equipment, the cord or plug to rain or moisture; do not use it anywhere near water or where water splashes or drips; do not touch the plug with wet hands. In the event of water or other liquids entering the device, unplug it immediately and clean and dry it as best as possible. Then have it checked for damage by a qualified technician, or contact the after-sales support line.
- Do not repair the unit yourself. Only have it serviced by qualified personnel. Contact the after-sales support line for advice.
- Unplug the unit from the power outlet after use to avoid possible damage during electrical storms, or when the equipment will be unattended or unused for an extended period.
- Do not let the cord hang over the edge of a table or counter, or touch any hot surface. Do not allow anything to rest on or roll over the power cord, and run any cords so that no one steps on or trips over them.
- Do not run the cord near heat-producing appliances such as radiators, stoves or irons. Excessive heat could melt insulation and expose live wires.
- Always grasp the plug, not the cord, when disconnecting the unit. Pulling the cord can damage the internal wires and may cause a fire.
- Do not install the unit in an inclined position. It is designed to be operated in a horizontal position only.
Installation
- When installing the unit, make sure to place it:
- Away from heat sources, radiators or other products that produce heat.
- Away from areas with hot temperatures, high humidity or direct sunlight.
- Away from excess dirt and dust.
- Away from open windows and any place where water may get into the unit and damage it.
- Make sure there is free circulation of air around the unit. Do not place it on a thick carpet, bed or any place where ventilation holes are obstructed. Leave at least 10cm clearance around the unit.
- Make sure the mains socket is readily accessible at all times.
Usage conditions and restrictions
- Openings on the cabinet are provided for ventilation and to protect the unit from overheating. To ensure proper operation, do not cover them with things such as newspapers, tablecloths, curtains etc.
- Do not place heavy objects on top of the equipment or step on it.
- Do not place objects filled with water (such as vases) or any naked flame sources (such as lit candles, incense sticks or cigarettes) on top of the unit.
- The equipment is not intended for use by persons (including children) with reduced physical, sensory or mental capabilities, or lack of experience and knowledge, unless they have been given supervision or instruction concerning use of the equipment by a person responsible for their safety.
- Young children should be supervised to ensure they do not play with the equipment. Close supervision is always necessary when an appliance is used by or near children.
- Unplug the unit from the power outlet before cleaning. Clean the unit only with a dry, clean cloth. Do not use liquid or aerosol cleaners.
- We assume no liability for any damage caused by noncompliance with these instructions or any other improper use or mishandling of the Equipment.
Condensation
The unit may suffer from condensation in the following situations:
- When you take the unit directly from a cold to a warm place, and vice versa.
- When you use the unit in a room where you have just turned on a heater, or where cool air from an air conditioner is directed on to the unit.
- When you use the unit in hot and humid surrounds just after having moved it from an air-conditioned room.
- When the room is steamy or damp.
- If condensation exists, the unit will not operate properly. Remove the disc, plug the power cord into the wall socket, turn on the unit and leave it for two to three hours. After that time, the unit will have warmed up and any moisture will have evaporated. Keeping the unit connected to the wall socket will keep moisture condensation problems to a minimum.
Getting Started Before First Use
- The unit may become hot during operation. Always leave sufficient space around the unit for ventilation.
- The voltage supplied to the unit should match the voltage that is printed on the back panel. If you have any doubts concerning this matter, consult an electrician.
- Avoid placing the unit in direct sunlight or close to any sources of heat. Also avoid locations subject to vibrations and excessive dust, heat, cold or moisture.
- Do not place the unit on an amplifier or receiver.
- Do not open the cabinet as this might result in damage to the circuits or an electric shock. If a foreign object gets into the unit, contact your dealer or service company.
- When removing the power plug from the wall outlet, always pull directly on the plug. Do not pull on the cord.
- To keep laser pickup clean, do not touch it and always close disc tray.
- Do not clean the unit with chemical solvents as this may damage the finish. Use a clean, dry cloth.
- Keep this manual in a safe place for future reference.
- During playback, the disc rotates at high speeds. Do not move or lift the unit during playback as this may damage the unit and the disc.
- When moving the unit to a different location or packing the unit away, be sure to remove the record or disc. Moving the unit with a disc or record inside may cause damage to the unit.
Location of controls
Parts List
Front and Side View

Top View

A Before use, detach stylus guard (white plastic cover) by pulling it straight off the front of the cartridge in the direction of the arrow.
*Please note: actual unit front plate decoration will vary from picture.
1. Display Panel
2. Stop: Stop playback in CD/USB/SD modes; stop recording.
USB/SD: Switch to USB or SD card modes.
3. Record/Delete
4. Repeat/Program
5. Speakers (Stereo)
6. Function Knob: Rotate the knob to select PHONO, CD, AUX, or RADIO.
7. Power
8. Compact Disc Tray
9. Band: Select FM/BT in RADIO mode.
10. Tuning Knob: Tune to a radio station in RADIO mode.
11. Earphone Jack
12. 3.5mm AUX-IN Jack
13. Volume Knob
14. OPEN/CLOSE CD Tray
15. << : Press to select previous track or press and hold to fast reverse.
16. >>: Press to select next track or press and hold to fast forward in CD/USB/SD modes.
17. Play/Pause: Play/Pause playback in CD mode. The Play Indicator illuminates during playback of a CD.
18. USB Port
19. SD Card Slot
20. Tape Operation Button: Eject/Fast Forward cassette.
21. Cassette Tray
22. Dust Cover
23. Turntable
24. 45 RMP Adapter
25. Tone Arm
26. Cue-Lever: Use this lever to lift the tone arm.
27. Auto Switch
28. Speed Selector
29. Tone Arm Lock
30. Cartridge with Stylus

31. FM Antenna
32. Line out sockets
33. Power cord
Instructions
Compact Discs
- The unit is compatible with conventional audio CD’s and properly finalised CD-R and CD-RW discs.
- Always place the disc in the disc tray with the label side facing up.
(Compact discs can be played or recorded on one side only.) - To remove the disc from its storage case, press down on the centre of the case and lift the disc out, holding it carefully by the edges.
Should the disc become dirty, wipe the surface in a circular motion from the centre hole outwards with a soft, dry cloth.

- How to remove the disc
- How to hold the disc
- How to clean the disc
- Never use chemicals such as record sprays, antistatic sprays or fluid, benzine or thinner to clean the disc. Such chemicals will do irreparable damage to the disc’s plastic surface.
- Place the disc back in its case after use to avoid dust and scratches.
- Do not expose discs to direct sunlight or hot temperatures for extended periods of time. Prolonged exposure to hot temperatures will warp the disc.
- Playing warped discs may damage the unit.
- Printable discs are not recommended for use with this unit as the label side may be sticky and damage the unit.
- Do not use protective coating spray on the discs.
- Do not write on discs with ball point or hard tipped pens. Only use oil-based felt tipped pens.
- Do not use stabilisers. Using commercially available CD stabilisers may cause damage to this unit.
- Do not use CD’s with an irregular shape as they may damage the unit.
Cassette Tapes - Metal and Chrome (cobalt) tapes have identification holes.
Tape Handling - Use your finger or a pencil to turn the cassette tape’s hub and take up any slack tape.
- Avoid touching the tape. Finger prints attract dust and dirt.
- Avoid dropping or subjecting cassettes to excessive shock or force.
- Do not use C-120 tapes as they are physically weak and could become tangled in the transport mechanism.
Storage - Do not store tapes on top of heaters, in direct sunlight or in high temperatures/humidity.
- Do not store tapes on TV sets or amplifiers or in areas with a strong magnetic field.
- Keep tapes away from excessively dusty and dirty places.
Head Maintenance
The head and tape path should be cleaned and demagnetised on a regular basis. Use cassette tape head cleaner and demagnitiser. For special details on the proper use of these items, read each item’s instruction manual.

- label
- grooves
- edge

Vinyl Records
- Do not touch the records grooves. Only handle records by their edges or the label. Ensure that your hands are clean, as skin oil will gradually deteriorate the record.
- Keep your records away from dust and store in a dry, cool place.
- Keep your records in sleeves when not in use to avoid dust and scratches.
- Store records upright. Records stored horizontally will bend and warp.
- Do not store records in the trunk of a car.
- Store records in an area with a stable temperature and low humidity.
- To clean, gently wipe the surface in a circular motion using a soft anti-static cloth.
Replacing the Stylus
It is recommended that the stylus is replaced as soon as you notice a change in the sound quality. Prolonged use of a worn-out stylus may damage the record. Wear and tear on the stylus will be accelerated when playing 78 RPM records.
Caution
- Do not bend the stylus.
- To avoid injury, do not touch the needle.
- Turn off the unit’s power before you replace the stylus.
- Keep out of reach of children.
- Handle with care as the stylus is delicate. Use of a bent or broken stylus may damage the record and cause malfunction.
- Do not expose the stylus to extreme heat.
- Contact a qualified repair person if you are having difficulties changing the stylus.
Removing an Old Stylus


- Set a flathead screwdriver at the tip of the stylus and push down to the direction “A”.
- Pull the stylus out towards direction “B”.
Installing a New Stylus
- Hold the tip of the stylus and insert the other edge by pressing towards direction “C”.
- Push the stylus up towards direction “D” until it locks at the tip.

- Guide Pins (inside)
Connections
FM Antenna
While in FM mode, tune in to an FM station and extend the antenna to find a position that provides the best reception. The antenna may need to be repositioned if you move the unit to a new location.
AC Power Cord
Plug the AC power cord into an AC wall socket.

How to Open/Close the Turntable Cover
To Open:
- Lift the Turntable cover all the way up until it stops.
- Lower the cover slowly until the latch engages. If the latch does not engage, pull the lower bar by hand.
- The cover will now stay open..
To Close - Lift the cover all the way up until it stops.
- The latch should disengage. Slowly lower the cover. If the latch does not disengage, push out the lower bar by hand.
- Make sure you hold the cover carefully to avoid pinching your fingers as it closes.
Playing a Record
Important: To avoid stylus damage, make sure the included stylus guard is in place whenever the turntable is being installed, moved and cleaned.

- Stylus guard
- Stylus assembly
- Stylus (“Needle”)

- Turn On the unit and adjust the volume to an appropriate level.
- Turn the Function knob to the PHONO position.
- Place a record on the turntable platter and select the correct player speed: 33 1/3, 45, 78 RPM according to the vinyl being played. When playing a 45 RPM record, use the included 45 adaptor.
- Set the auto/manual stop control:

- damper
Set the Auto stop switch to ON if you are playing a 33 RPM record and you want the turntable to stop turning when the record is finished. If the switch is set to OFF, the turntable will continue turning.
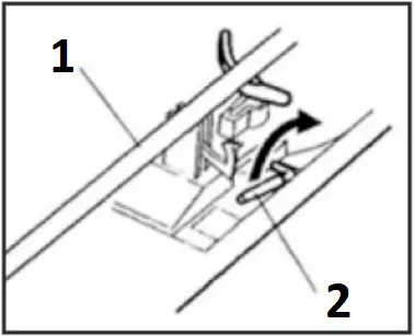
- Remove the stylus guard and unlock the Tone Arm lock.


- Tone Arm
- cue lever
- Push the Lift Lever up to raise the Tone Arm and then gently move the Tone Arm to the desired position over the record. The platter will begin to spin when the Tone Arm is moved toward the record. Push the Lift Lever forward to lower the Tone Arm slowly onto the desired position on the record. The record will begin.
Playing a Record
- If the auto switch is turned to ON, the record will stop playing automatically. If it is set to OFF, the record will not stop automatically.
- When the record is finished, push the Lift Lever backwards to raise the Tone Arm and gently move it back to its rest position.
- When you have finished playing records, engage the Tone Arm lock to protect it from accidental movement. Turn the Power knob to switch the unit OFF. Unplug it from the power supply if it is not going to be used for a while.
NOTE: Should your record stop before the last track finishes, set the Auto Stop switch to OFF. Your record will now play to the end, but you will have to stop the turntable rotation manually.
Playing a Cassette
- Turn ON the unit and adjust the volume to an appropriate level.
- Turn the Function knob to AUX/TAPE and the display will show “tP”
- Insert a pre-recorded tape into the cassette slot with the tape side to the right.
By pushing slightly, the tape will slide into place and begin playing automatically.
NOTE: One end of the tape will remain visible. - To fast forward the cassette tape, press the Tape Operations button halfway down while the cassette is playing.
- To resume normal playback, release the Tape Operations button.
- To stop playback, press the Tape Operations button completely. Playback will be stopped and the cassette will be ejected.



- exposed side
Playing a CD
- Turn the unit ON by pressing the Power button.
- Set the Function knob (PHONO/CD/AUX/ RADIO) to CD.
- “- -” will blink for a few seconds. When no disc is loaded “no” will appear on the display screen.
- Place a disc on the tray with the printed label facing up.

- Do not place more than one disc in the tray at a time.
- The disc must be placed in the centre of the disc tray.
If the disc is not properly inserted, it may not be possible to get the disc out once it has closed. - Do not force the tray by hand when it is opening and closing.
- Press the OPEN/CLOSE button (
) to close the tray. The total number of tracks will appear on the display screen. - The system will start playback automatically after several seconds, or press the PLAY/PAUSE button (
) to start playback. - Disc playback starts from the first track, and the PLAY indicator will illuminate.
- During playback, the number of the track playing will display on the screen.
- Turn the Volume knob to adjust the volume. To Suspend Playback Temporarily
- Press the PLAY/PAUSE button (
) during playback. Playback will stop at the current position and the track number will blink on the display screen. - To resume playback, press the PLAY/PAUSE button (
) again. - Press the STOP button (
) to stop playback.
To Skip to the Next or Previous Track
- During playback, repeatedly press the NEXT/PREVIOUS buttons (
/
) until the desired track is found. The selected track will play from the beginning. - In STOP mode, press the NEXT/PREVIOUS buttons (
/
) repeatedly until the desired track is found. Press the PLAY/PAUSE button (
) within 5 seconds to start playback from the selected track. - When the PREVIOUS (
) button is pressed during playback, the track being played will restart from the beginning. To return to the beginning of the previous track, press the PREVIOUS button (
) twice.
Search for Part of a Track - During playback, hold down the NEXT or PREVIOUS buttons (
/
), then release when the desired section is found. Repeat Function - During playback, press the REPEAT button once to repeat a single track. The ‘REP’ LED indicator light will blink.
- During playback, press the REPEAT button one more time to repeat all tracks. The ‘REP’ LED indicator light will stay lit.
Program Function
- In STOP mode, press the PROGRAM button. The display will show “01”.
- Press (
/
) to select a track and press the PROGRAM button again to save the track. - Press (
/
) to select another track and press the PROGRAM button again. Repeat this step to continue saving tracks. - To play back the programed tracks, press the PLAY/PAUSE (
) button. - To erase the programed track, press the STOP (
) button twice.
Playing the Radio

- Turn ON the unit and adjust the volume to an appropriate level.
- Turn the Function knob to the RADIO position.
- Extend the antenna to obtain the best reception.
- Slide the band switch to FM.
- Turn the Tuning knob to your desired radio station.
If Reception is Poor: - FM Broadcast: Extend and move the FM antenna until you receive the station clearly.
Bluetooth Mode - Turn the function knob to the “RADIO” position and Slide the band switch to BT the LED display window will show ‘bt’.
- Turn on your smart device and access the devices Bluetooth settings. Set your smart device to search for Bluetooth devices. The Bluetooth device name for this unit is Stadio. Select this device on the list on your smart device and when pairing has been made successfully, you will hear a connection tone sound.
- You can control music playback by using the
or
or
or
buttons on the unit.
USB/SD Card Playback
- Turn ON the unit and adjust the volume to an appropriate level.
- Insert a USB device into the USB port, making sure it is fully inserted. Alternatively insert a SD card into the SD card slot, making sure to insert it straight without bending.
- Turn the function knob to CD position.
- To play music from the USB drive, press and hold the “
/USB/SD” button for 2 seconds until “Ud” flashes on the display and let go of the button. Music playback will start automatically. - To play music from an SD card, press and hold the “
/USB/SD” button for 2 seconds again until “Sd” flashes on the display and let go of the button. Music playback will start automatically. - Playback controls
- To pause playback, press the PLAY/PAUSE (
) button once to halt playing. Press it again to continue playback. - To play the previous track, press
once or hold down continuously to rapidly progress through previous tracks. - To play the next track, press
once or hold down continuously to rapidly advance through tracks. - To delete a file on your media storage device, while in playback mode, press and hold the REC/DEL button until the “DEL” LED light flashes along with “dL” on the display. Then press REC/ DEL again and the “DEL” LED will flash rapidly and the file will be deleted.
- To delete a file on your media storage device: While in STOP mode, select the track by pressing
or
, press and hold the REC/DEL button until the “DEL” LED light flashes along with “dL” on the display. Then press the REC/DEL again and the “DEL” LED will flash rapidly and the file will be deleted. - To stop playback of the music track, press the
/USB/SD button.
Encoding and Recording onto a USB Device/SD Card
This unit has the capacity to encode your traditional music media (vinyl records, cassette tapes, CD’s, Bluetooth and Aux in device) into digital format and record it onto a USB device or SD card as MP3 file(s).
- Insert a storage device (USB or SD card) into the relevant slot.
- Get your traditional music media ready for playback:
– place a record on the turntable
– insert a cassette tape into the cassette slot
– insert a CD into the CD player disc tray
– begin playback from your Bluetooth device
– connect an Aux in device to the AUX IN socket - Set the function switch to the appropriate music playback method.
NOTE: If you are recording via Cassette, make sure an AUX IN cable is not connected to AUX socket. - Press the REC button to start recording. “rE” will appear on the display screen and the “REC” LED will illuminate. A few seconds later the “REC” LED will start flashing and recording will begin.
Then start playing your traditional music media. - Press the STOP button to stop recording. The music track(s) will be saved directly onto the storage device (USB device or SD card) as MP3 file(s).
NOTE: - The recording volume level can be adjusted with the Volume control knob.
- The recording speed is 1:1. Recording will take as long as playing the record, cassette tape or CD.
- The recording format is preset at MP3 bit rate 128 kbps.
Playing Music from an Auxiliary Input:
Playing via the 3.5mm AUX-IN Jack
- Turn the unit ON by pressing the Power button.
- Set the Function knob (PHONO/CD/AUX/RADIO) to the AUX position.
- Connect one end of the 3.5mm AUX-IN cable (not supplied) into the 3.5mm AUX-IN Jack on the front panel of the unit and the other end to your audio device’s (CD player, Tablet, MP3 player etc.) headphone/Line Output.
- Press PLAY on the external audio source.


NOTE: The volume output is affected by the volume level on the source. Ensure that the source volume is set to about 70-80% to avoid sound distortion.
NOTE: Playback cannot be controlled from the front panel when using AUX IN mode. Playback must be controlled from your connected audio device.
Connecting to Headphones
- Adjust the volume to an appropriate level.
- Plug in your 3.5 mm headphone jack to the headphone socket.
Connecting to an External Amplifier
- This feature enables you to play turntable music through and amplifier or external speakers. You will need an RCA cable to make this connection (not supplied).
- Plug one end of the Red and White RCA jacks into the LINE OUT ports at the back of the unit and the other end into R (red) and L (white) sockets at the back of the amplifier or speakers.
FAQ’s
| Problem | Solution |
| Unit will not power on | Make sure that the unit’s power cord is connected to an appropriate electrical outlet and the wall socket is switched on. |
| There is no sound | Rotate the power/volume knob clockwise to increase the volume. If volume is low when using Bluetooth mode, you can also adjust your smart devices volume settings. |
| The cassette tape will not play | Make sure the function knob is set to your desired function. Make sure the cassette is inserted correctly. |
| The vinyl record will not play | Make sure the function knob is set to your de-sired function. Make sure you have selected the right speed (33 1/3, 45 or 78 RPM) |
| Nothing will play via the AUX IN connection | Make sure the cable is firmly connected and check that the AUX in external device is clean and un-damaged. Check the function knob is set to your desired function. |
| Nothing will play via the USB device or SD card | Make sure the memory device is properly inserted in the USB port (or SD card slot) and the correct function is selected. |
NOTE: If normal operation cannot be obtained, unplug the power cord from the power outlet and plug it in again.
Maintenance
Always keep the unit clean. To clean, Use a clean, dry cloth. Do not use Benzene or alcohol as they will damage the surface of the unit.
Responsible Disposal
At the end of its working life, do not throw this product out with your house-hold rubbish. Electrical and electronic products contain substances that can have a detrimental effect on the environment and human health if disposed of inappropriately. Observe any local regulations regarding the disposal of electrical consumer goods and dispose of it appropriately for recycling. Contact your local authorities for advice on recycling facilities in your area.
| SPECIFICATION | INFO |
| POWER | |
| Power input | AC 110-120V |
| Power Consumption | 13W |
| Dimensions | 460mm x 335mm x 245mm (L x W x H) |
| AMPLIFIER AND SPEAKER | |
| Output Power | 2 x 5W |
| Frequency Response | 60-20, 000 Hz |
| Speaker Impedance | 4 Ω |
| S/N ratio | 50dB |
| TUNER | |
| FM frequency range | 88MHz-108MHz |
| AM frequency range | 530KHz-1600KHz |
| USB AND SD CARD | |
| Maximum Capacity | 64GB |
| Playback file format | MP3, WMA |
| File system playback | FAT 32 |
| Recording file format | MP3 |
| RECORD PLAYER | |
| Cartridge type | Ceramic stereo cartridge |
| Speed | 33 1/3, 45, 78 RPM |
FM and AM are receptions.
Federal Communications Commission (FCC) Statement. This device complies with part 15 of the FCC Rules. Operation is subject to the following two conditions:
(1) This device may not cause harmful interference, and
(2) this device must accept any interference received, including interference that may cause undesired operation. Note: This equipment has been tested and found to comply with the limits for a Class B digital device, pursuant to part 15 of the FCC Rules. These limits are designed to provide Reasonable protection against harmful interference in a residential installation. This equipment generates, uses and can radiate radio frequency energy and, if not installed and used in accordance with the instructions, may cause harmful interference to radio communications. However, there is no guarantee that interference will not occur in a particular installation. If this equipment does cause harmful interference to radio or television reception, which can be determined by turning the equipment off and on, the user is encouraged to try to correct the interference by one or more of the following measures:
- Reorient or relocate the receiving antenna.
- Increase the separation between the equipment and receiver.
- Connect the equipment into an outlet on a circuit different from that to which the receiver is connected.
- Consult the dealer or an experienced radio/TV technician for help.
Warning: Changes or modifications made to this device not expressly approved by World Class Manufacturing, LLC may void the FCC authorization to operate this device. Note: The manufacturer is not responsible for any radio or TV interference caused by unauthorized modifications to this equipment. Such modifications could void the user’s authority to operate the equipment.
RF exposure statement:
The device compliance RF exposure requirement and can installed and used without restriction




















