
Quick Start Guide
Corner bracket for DW cameras
DWC-V1CNMW

WHAT’S IN THE BOX
| Camera Mounting Screws | 4 | Screws and Plastic Anchors | 8 |
NOTE: Download all your support materials and tools in one place.
1. Go to: http://www.digital-watchdog.com/resources
2. Search your product by entering the part number in the ‘Search by Product’ search bar. Results for applicable part numbers will populate automatically based on the part number you enter.
3. Click ‘Search’. All supported materials, including manuals and quick start guide (QSGs) will appear in the results.
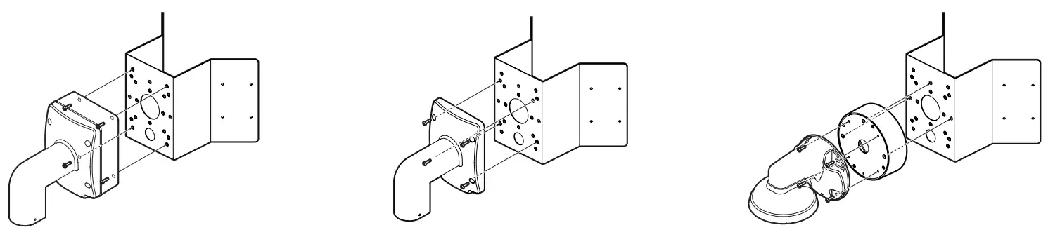
INSTALLATION
- Place the corner mount in the desired location on the wall corner.
- Using the screws and wall anchors included, attach the mount firmly to the wall corner.
- Use the table below to pair your wall mount or junction box with the appropriate set of mounting holes on the corner mount.
| DWC-P230WMW wall mount bracket for PTZ IP cameras MOUNTING HOLES #1 | MOUNTING HOLES #2 DWC-PZWM wall mount bracket for multi-sensor IP cameras | DWC-WMJUNCW junction box for wall mount brackets MOUNTING HOLES #3 |
![]() | ||
| MOUNTING HOLES #4 All other dome camera wall mount brackets | MOUNTING HOLES #5 DWC-BLJUNC-W and DWC-PBJUNC junction boxes for bullet cameras |
![]() | |
| Mounting point | Compatible wall mount | Mounting size |
| Mounting point 1 | DWC-P230WMW | 4.01” x 5.59” (102x142mm) |
| Mounting point 2 | DWC-PZWM | 4.13” x 4.33” (105x110mm) |
| Mounting point 3 | DWC-WMJUNCW | Ø 4.76” (Ø 121mm) |
| Mounting point 4 | All other dome camera wall mount brackets | Ø 4.76” (Ø 121mm) |
| Mounting point 5 | DWC-BLJUNC-W, DWC-BLJUNC, DWC-B7JUNC | Ø 3.07” (Ø 78mm) |

Copyright © Digital Watchdog. All rights reserved.
Specifications and pricing are subject to change without notice.


Tel: +1 (866) 446-3595 / (813) 888-9555
Technical Support Hours: 9:00AM – 8:00PM EST, Monday through Friday
digital-watchdog.com





















