
Installation guide

Cambridge Audio
Your music + our passion
The crossed-out wheeled bin is the European Union symbol for indicating separate collection for electrical and electronic equipment. This product contains electrical and electronic equipment which should be reused, recycled or recovered and should not be disposed of with unsorted regular waste. Please return the unit or contact the authorised dealer from whom you purchased this – product for more information.
This guide is designed to make Installing and using this product as easy as possible. Information in this document has been carefully checked for accuracy at the time of printing; however, Cambridge Audio’s policy is one of continuous improvement,
therefore design and specifications are subject to change without prior notice.
Read all instructions

Avoid damp

Secure all cables

Avoid extreme temperatures

Avoid direct sunlight

Avoid solvent-based cleaners

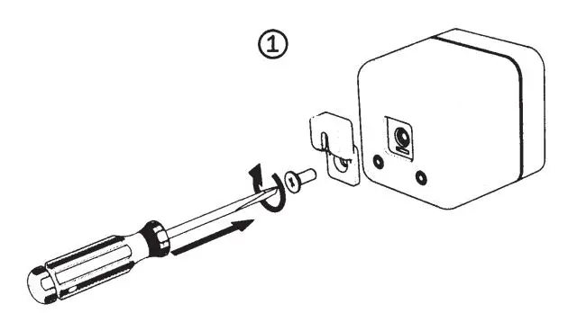
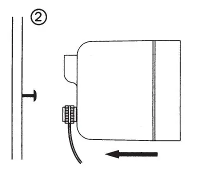
Wall mounting
Key hole wall bracket.



Connections
IMPORTANT! Ensure that positive (+)and negative (-)connections are matched.




Positioning
Before connecting, consider speaker placement and all cabling requirements. Some typical setups are shown here:



Position above or below screen, angled towards the listener If possible.


Also available from your Cambridge Audio retailer
Pivot wall bracket






Floor stand

Table stand

Supplied accessories
key hole bracket, 2-terminals, 3 -screw.

Technical specifications;


Minx is a trademark of Cambridge Audio. All rights reserved.
© Copyright Audio Partnership Pic 2014
Cambridge Audio is a brand of Audio Partnership Pic.
Registered Office: Gallery Court, Hankey Place, London SE1 488, UK.
Registered in England No. 2953313

Part No. AP32374/3



















