DOMETIC GP-ECO-10 11 Watt Eco Solar Power Kits

GENERAL INFORMATION
You have chosen a clean, quiet and sustainable power source. Go Power! Solar Kits allow you to power appliances in your RV, without hooking up to shore power or a noisy generator. Go Power! Solar kits will keep your batteries charged, ensuring you have power when you need it.
This mobile DC power system allows you to enjoy the luxuries that electricity provides, without a campsite hookup. For simple battery maintenance or full-time live-aboard power, Go Power! Solar Kits are available in a variety of sizes and can be installed on RVs, campers, trailers, fifth wheels and motor homes. As with any off-grid power systems, the user is required to manage electrical loads to ensure continual power availability for essential services. Your location and season (hours of sunlight available) play a role in how much energy can be harnessed from this kit.
Note: This manual will aid in the process of installing the Go Power! ECO Kit. Please read and understand this manual and all included manuals before installing the Go Power! ECO Kit. Review all diagrams included in this guide for the easiest and safest installation. Please retain this manual for future reference.
HOW DOES A GO POWER! SOLAR CHARGING KIT WORK?
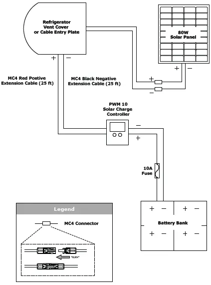
The solar panel converts the sun’s energy into DC electricity and this electricity charges the battery. The battery stores the electricity, similar to a water tank storing water. This battery power may be used at any time to operate DC powered devices connected to the battery. To increase the battery service life, a solar controller is used (20W & 80W Kits) to prevent the solar panels from overcharging the batteries. This process is managed by the GP-PWM-10 solar charge controller included in the 20W and 80W kits. The 10W Eco Kit is a direct connect kit from the solar panel to the batteries, the lower power outputs from the 10W Panel panel prevent any battery overcharging. See Figure 2-A (below) and 2-B (on following page) for Go Power! solar system examples.

FIGURE 2-A: TYPICAL RV INSTALLATION

FIGURE 2-B: ECO-80W SYSTEM DIAGRAM
CAUTIONS
- Disconnect all power sources before attempting installation
Electricity can be very dangerous. Installation should be performed only by a licensed electrician or qualified personnel. - Solar panel safety
Photovoltaic panels generate DC electricity when exposed to sunlight or other light sources. Contact with the electrically active parts of the panel, such as terminals, can result in burns, sparks and lethal shock whether the panel is connected or disconnected.
When panels are connected in parallel, amperages are additive. Consequently, a system assembled from photovoltaic panels can produce high amperages, which constitute an increased hazard. Do not touch terminals while panel is exposed to light. Cover the panel face completely with opaque material to halt the production of electricity when installing or working with panels or wiring. - Battery and wiring safety
Observe all safety precautions of the battery manufacturer when handling or working around batteries. When charging, batteries produce hydrogen gas, which is highly explosive. Work in a well ventilated area and use caution when making or removing electrical connections. Ensure wires are disconnected from their power sources when wiring. Do not expose battery to open flame, cigarettes or sparks. Shield skin and eyes from battery acid.
Ensure all connections are tight and secure. Loose connections may generate sparks, heat and in extreme cases may catch fire. Be sure to check connections one week after installation to ensure they are still tight. - Work safely
Wear protective eye wear and appropriate clothing during installation. Use extreme caution when working with electricity and when handling and working around batteries. Use properly insulated tools only. - Observe correct polarity at all times
Reverse polarity of the battery terminals will cause the controller to give a warning tone. Reverse connection of the array will not cause an alarm but the controller will not function. Failure to correct this fault could damage the controller. - Do not exceed the voltage and current ratings of the Solar Controller
The total current of the solar system is the sum of the short circuit current of the solar panels in parallel, multiplied by a safety factor of 1.25. The resulting system current is not to exceed the amperage rating of the controller. The voltage of the array is the rated open circuit voltage of the solar panels and is not to exceed 28 volts for a 12 volt system.
The current rating of the solar system is the sum of the Maximum Power Current (Imp) of the solar PV strings in parallel. The resulting system Imp current is not to exceed 10A. If your solar system exceeds these ratings, contact your dealer for a suitable controller alternative.
DISCLAIMERS
IMPORTANT: Please follow installation and wiring instructions exactly as outlined to ensure safety. We recommend installation by an RV technician or professional electrician to ensure adherence to relevant electrical codes. We have made every reasonable effort to ensure the accuracy of the instructions in this manual, but Go Power! does not guarantee that the information is error free, nor do we make any other representation, warranty or guarantee that the information is accurate, correct, reliable or current. The specifications in this manual are for reference purposes only and are subject to change without notice. For additional information please see www.gpelectric.com.
DISCLAIMER: Go Power! disclaims liability for any direct, indirect or incidental damages caused by, or in case of, installation not performed following the instructions and cautions in this manual. Go Power! will refuse requests for exchanges or returns, resulting from the purchase and installation of items which do not comply with local codes. To avoid such concerns Go Power! recommends installation by a professional electrician or RV technician. Examples that are shown within this manual are for illustrative purposes only.
KIT PARTS
Note: Please unpack and make sure all parts shown in the list below are included in the kit. If any parts are missing please contact Go Power!’s customer service team at [email protected] or 1.866.247.6527.
PARTS CHECKLIST
| ECO – 10W – KIT ECO – 20W – KIT ECO – 80W – KIT | ||||
| Item # Description | ||||
| 01 | GP-PV-10, 10W Solar Panel (with fuse holder and fuse) | 1 | ||
| 02 | GP-PV–20, 20W Solar panel | 1 | ||
| 03 | GP-PV–80, 80W Solar Panel | 1 | ||
| 04 | Solar panel mounting feet | 4 | 4 | 4 |
| 05 | 1/4” bolt | 4 | 4 | 4 |
| 06 | 1/4” lock nut | 4 | 4 | 4 |
| 07 | 1/4” washer | 8 | 8 | 8 |
| 08 | #10-16 x 1” screw | 8 | 8 | 8 |
| 09 | Fuse Holder | 1 | 1 | |
| 10 | 10A ATO Fuse | 1 | 1 | |
| 11 | Red Heat Shrink | 2 | 2 | |
| 12 | Butt Splice, 12-10 AWG | 2 | 2 | |
| 13 | MC4 Black Negative Wire Extension Cable (25 ft) | 1 | 1 | |
| 14 | MC4 Red Positive Wire Extension Cable (25 ft) | 1 | 1 | |
| 15 | PWM 10 Amp Solar Charge Controller | 1 | 1 | |

REQUIRED TOOLS
- Screwdriver (Phillips)
- Keyhole Saw
- Pencil or Marker
- Pliers
- Wire Strippers and Cutters
- Butt Splice Crimping Tool
- Electric Hand Drill
- 1/16” and 3/8” Drill Bits
- 5/16” & 7/16” Wrench
- Heat Gun
- Caulking Gun
- Sealant
- Digital Multimeter (troubleshooting only)
- Torque Driver (optional)
Design your solar set up here:
PLANNING LOCATIONS
PLAN YOUR SOLAR SYSTEM SETUP
- Take a few minutes before commencing any installation work to layout your solar system on paper first. Use the diagrams within this manual to help.
- Complete a simple block diagram identifying the key components and connections of your solar charging system: Solar Panels, MC4 Positive and Negative Extension Cables (80W & 20W), GP-PWM-10 Solar Charge Controller (20W&80W) and your Battery Bank as detailed in the diagrams.
- The 10W Eco kit is a direct connect kit from the solar panels to the battery (See system Diagram on Page 20). This kit includes a built in 10A Fuse on the positive cable from the solar panel. This kit does not require a solar charge controller and does not include a solar charge controller.
- Identify and prepare easy/safe access to possible installation locations in the 3 key installation areas within your RV;
- Roof: Solar Panels
- Instrument/Controls: Solar Charge Controller and/or Inverter Remote
- Storage Compartments: Inverter, Converter/Charger, Transfer Switch
- Identify on your RV if you have a Cable Entry Plate (CEP) see Fig 3-A pre-installed by the RV Manufacturer. The Cable Entry Plate makes the Solar Panel to Solar Charge Controller installation simpler. (After market purchase of GP-CEP available)

- If you do not have the Cable Entry Plate pre-installed on your RV, you will be following the ‘Routing Power Cable through the Refrigerator Vent’ steps.
- Whilst on the roof of your RV identify the refrigerator vent and investigate the vent-fastening hardware.
PLACEMENT OF SOLAR PANELS
- Remove the solar panel from the box. Set aside the box as they will be used in the instructions to follow.
- Using the solar panel box, plan the layout of the panel on your RV rooftop. Once you have positioned the box
- Select a location where the mounting surface is at least 1/2” thick and strong enough to support the solar panel mounting hardware.
- Solar panels should be located a minimum of 3’ from the front of RV to reduce wind load on the panels.
- Avoid internal wiring when selecting the solar panel mounting locations for drilling the mounting holes.
- Ensure fixed obstacles, such as air conditioners, will not shade the solar panel. Shading can greatly reduce the performance of the solar system.
- Ensure there is enough room to access the panel and other fixed obstacles for future inspection and maintenance.
LOCATING THE GP-PWM-10 AMP SOLAR CHARGE CONTROLLER
The GP-PWM-10 solar charge controller is included in the Go Power! ECO 20W and 80W Kits. The GP-PWM-10 provides the necessary protection for the RV battery system. A condensed version of the installation instructions appear in this manual. However, please read the full installation manual included with the GP-PWM-10 solar charge controller.
- Plan where the GP-PWM-10 charge controller will mount, see Figure 3-B.
Note:
- The GP-PWM-10 is designed to be mounted vertically in an indoor location inside a weatherproof enclosure.
- Ideally the GP-PWM-10 should be located so it can be easily seen for monitoring system operation.
- The location will need access to the cable ends from the solar panels and the battery compartment.
WARNING: Failure to secure the GP-PWM-10 could cause it to become dislodged while the RV is in transit and cause severe damage to the unit and/or the RV.

INSTALLATION
MOUNTING FEET
- Assemble 4 mounting feet onto each of the solar panels frame using the 1/4” bolts and nuts. This assembly is easily completed on the ground before the panels are brought up to the RV roof.
WARNING:- The mounting feet must be installed on the 4 outer holes in the panel frame.
- All 4 mounting feet must be used on a solar panel.
- Tighten the nuts securely using a 7/16” wrench.
FIGURE 4-A: SOLAR PANEL INSTALLATION DETAILS
SOLAR PANELS
WARNING: Photovoltaic panels generate DC electricity when exposed to sunlight or other light sources. When exposed to light, contact with the electricity active parts of the panel, such as terminals, can result in burns, sparks and lethal shock whether the panel is connected or disconnected.
Do not touch the terminals while the panel is exposed to light. Cover the panel faces completely with an opaque material to stop the production of electricity when working with panels or wiring – the cardboard shipping boxes are the perfect option to cover glass surface of the panels.
- Locate the solar panel on the RV roof replacing the box used in the planning step.
- Locate the Cable Entry Plate / Fridge Vent Access Point on the RV roof.
- Attach the MC4 Positive and Negative Extension Cables to the solar panel (ECO 80W & 20W)
- Test that the end solar panel cables can reach the CEP / Fridge Vent Access Point.
- Use the screws provided in the kit to secure the 4 solar panel mounting feet to the RV.
- Apply sealant under and around each of the 4 mounting feet to ensure a watertight installation.
WARNING: All 4 mounting feet must be securely fastened to the RV roof. Failure to do so could cause the panels to lift and separate from the RV while in transit which could cause significant damage and/or injury.
Note: Use appropriate sealant as recommended by your RV Dealer for your RV roof.
REFRIGERATOR VENT ACCESS – OPTION 1

- Locate the refrigerator vent on the roof of the RV. Remove vent cover to gain access to the duct opening.
- Drill a hole through the side of the vent (5/8” hole).
- Remove any sharp edges from the hole.
- Insert a rubber grommet (not included) into the hole.
- Insert the MC4 Positive and Negative Extension Cables through the hole and carefully route it to the GP-PWM-10 solar charge controller. Be certain to leave enough slack to allow cable routing from module to vent along desired path.
- Use cable clamps with the #6 self-tapping screw and/or tie wraps every few feet along RV roof and interior route to GP-PWM-10.
- Ensure all penetrations into the RV roof are watertight. Use an appropriate sealant as recommended by your RV Dealer to seal holes wherever necessary.
- Replace vent cover.
REFRIGERATOR VENT ACCESS – OPTION 2

Caution: The vent screen may have sharp edges or burrs.
- Locate the refrigerator vent on the roof of the RV. Remove vent cover to gain access to the duct opening.
- Thread the MC4 Positive and Negative Extension Cables care-fully through the screen and into opening.
- Enlarge screen grid hole if necessary
- Remove any sharp edges from the hole.
- Avoid strapping the power cable to existing wire between the module and the battery.
Note: Allowing a few inches of space between the power cable and existing wire will lessen the chance of volt-age loss through thermal conduction. - Use cable clamps with the # 6 self-tapping screw and/or tie wraps every few feet along RV roof and interior route to the GP-PWM-10 solar charge controller.
- Ensure all penetrations into the RV roof are watertight. Use an appropriate sealant as recommended by your RV Dealer to seal holes wherever necessary.
- Replace vent cover.
CABLE ENTRY PLATE – OPTION 3

- Remove the rubber sealing caps from the ends of the MC4 connectors in the CEP.
- Plug the Positive and Negative MC4 Connectors from the solar panels directly into the CEP.
- Locate the positive and negative cables exiting the CEP and route these to the GP-PWM-10 solar charge controller.
INSTALLING THE GP-PWM-10 SOLAR CHARGE CONTROLLER (20W & 80W)
Ensure the Solar Panel is covered. Cover the panel faces completely with an opaque material to stop the production of electricity when working with panels or wiring – the cardboard shipping boxes are the perfect option to cover glass surface of the panels.
- Use the template included in the GP-PWM-10 Manual to mark the four mounting holes.
- Drill the mounting holes
- Cut the MC4 extension cables (80W & 20W) or solar panel cables (20W) to length, make sure the 10A fuse is on the battery side of the GP-PWM-10 solar charge controller as shown in the system diagrams
- Use the leftover cable to connect the controller to the batteries ensuring the 10A Fuse is installed for 80W Kits as per 4.7. If extra battery cable is required to connect to the battery bank, Go Power! recommends using an equivalent cable to that supplied with the kits: 10 Gauge Wire rated to – UL/cUL/USE2.
- Mount the controller to the wall using the four wood screws provided.
- Ensure the back of the controller is protected from damage by any object.
INSTALLING THE 10A FUSE AND FUSE HOLDER (80W & 20W KITS)

- Locate the positive battery cable from the GP-PWM-10
- Plan where you can safely and easily access the fuse holder & fuse
- Cut the battery positive cable from the GP-PWM-10 to the planned lengths
- Strip the fuse holder cable and positive cable from GP-PWM-10 as shown in Fig 4-F

- Thread the red heat-shrink onto the fuse holder cable
- Insert the fuse holder and GP-PWM-10 stripped cable ends into the butt splice as shown in Fig 4-G

- Crimp the butt splice fully – test the connection by gently pulling on both cables
- Thread the heat-shrink over the butt splice as shown in Fig 4-H

- Use the heat gun to shrink the heat shrink over the butt splice as shown in Fig 4-I

- Repeat the process for the other fuse holder cable & battery bank connection.
- Do Not install the 10A Fuse at this stage
CONNECTING THE BATTERY BANK
It is recommended to connect directly to the battery whenever possible. You can also connect to the converter/charger where the battery positive and negative wires connect to the converter/charger
- Clean all corrosion from the battery terminals before proceeding
- Crimp ring terminals (not included) onto the positive and negative cables to be attached to the battery if required
- Attach the Negative (Black) ring terminal to the battery bank and tighten according to the battery manufacturers specification
- Attach the Positive (Red) ring terminal to the battery bank and tighten according to the battery manufacturers specification
- Check all electrical connections
- Apply a protective coating to the battery terminals
INITIAL CONNECTION AND OPERATING
- Check all electrical connections and ensure all cables are securely fastened
- Install the 10A Fuse into the fuse holder, ensure the fuse holder is securely fastened (80W & 20W Kits)
- Remove the opaque material from the solar panels
- Follow the GP-PWM-10 User Manual and operating steps (80W & 20W Kits)
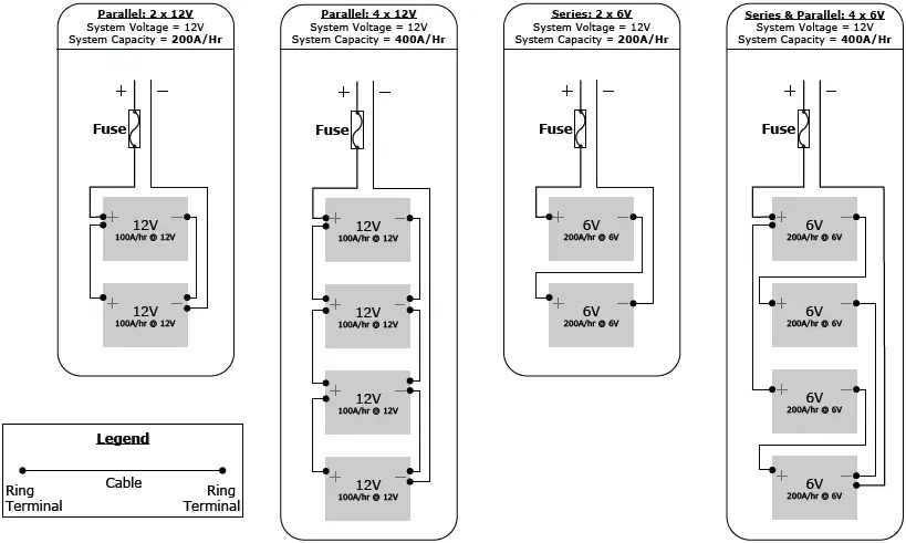
BATTERY BANK CONFIGURATIONS

FIGURE 4-J: TYPICAL BATTERY BANK CONFIGURATIONS
MAINTENANCE
INSPECTION
After installing any Go Power Eco Kit or any other Go Power products it is prudent to complete a periodic check of all electrical and mechanical connections to ensure no connections have become loose or dislodged through transit vibrations. These checks should be carried out at least once after the initial kit installation and the first prolonged RV transit. For safety reasons periodically check the solar panel rooftop connections and any battery connections for corrosion and possible failure points.
CLEANING
Although Go Power Solar RV Kits are generally maintenance free, significant performance gains can be made with clean solar panels
- Clean the solar panels monthly. Use water and a soft sponge or cloth. A mild non-abrasive cleanser can be used for more stubborn residue. Rinse well.
- Clean solar panels more frequently during drier months, as they may become covered in dust more quickly. A pressure washer is not recommended.
- Visual inspection – check the exterior for cracks, missing or broken hardware or other potential problems. Check all roof penetrations and replace sealant areas as required
LONG TERM RV STORAGE
If your RV will be stored in extremely cold climates you may need to remove your batteries to prevent them from freezing. Please note if your solar panel(s) are covered by snow they will not produce power and can not be depended upon to keep the batteries topped up. In mild climate storage you can depend upon your solar system to top up your batteries when they are exposed to sunlight. Make sure that all parasitic draws are removed from the batteries i.e. Propane detector, clock radio, etc to make sure the solar panel(s) can keep the batteries topped up even with reduced sun exposure.
GP-PV-10 Solar Panel Specs
| Rated power (Pm) | 10W |
| Maximum power voltage (Vmp) | 17.5V |
| Maximum power current (Imp) | 0.57A |
| Open circuit voltage (Voc) | 21.0V |
| Short circuit current (Isc) | 0.62AC |
GP-PV-20 Solar Panel Specs
| Rated power (Pm) | 20W |
| Maximum power voltage (Vmp) | 17.5V |
| Maximum power current (Imp) | 1.14A |
| Open circuit voltage (Voc) | 21.6V |
| Short circuit current (Isc) | 1.21A |
GP-PV-80 Solar Panel Specs
| Rated power (Pm) | 80W |
| Maximum power voltage (Vmp) | 18.4V |
| Maximum power current (Imp) | 4.35A |
| Open circuit voltage (Voc) | 22.8V |
| Short circuit current (Isc) | 4.60A |
GP-PWM-10 Specs (detailed specs available in the manual)
| Maximum Output Current | 10A at 104˚F (40˚C) |
| Maximum Solar Panel Wattage at STC | 160W at 12V |
| Maximum PV Open Circuit Voltage (Voc) | 28VDC absolute maximum at coldest conditions |
10A ATO Blade Fuse
| Max DC Voltage | 32VDC |
| Trip Amps | 13.5A |
| Polarized | No |
5A ATO Blade Fuse
| Max DC Voltage | 32VDC |
| Trip Amps | 6.75A |
| Polarized | No |
dC Fuse Block
| Fuse Rating | 160V DC, 110A |
| Fuse Type | Class T |
WARRANTY RETURN PROCEDURE
The Go Power! warranty is valid against defects in materials and workmanship for the specific product warranty period. It is not valid against defects resulting from, but not limited to:
- Misuse and/or abuse, neglect or accident
- Exceeding the unit’s design limits
- Improper installation, including, but not limited to, improper environmental protection and improper hook-up
- Acts of God, including lightning, floods, earthquakes, fire, and high winds
- Damage in handling, including damage encountered during shipment
A warranty shall be considered void if the warranted product is in any way opened or altered. The warranty will be void if any eyelet, rivets, or other fasteners used to seal the unit are removed or altered, or if the unit’s serial number is in any way removed, altered, replaced, defaced, or rendered illegible.
Warranty Return Procedure
Before contacting Go Power!’s customer service department, please read the “frequently asked questions” section of our website to troubleshoot the problem. If trouble persists:
- Call your Go Power!™ Technical Support team (1-866-247-6527) or
- Return defective product to place of purchase
Unless approved by Go Power! Management, all product shipped collect to Go Power! will be refused. Test items or items that are not under warranty, or units that are not defective, will be charged a minimum bench charge of ($50.00 US) plus taxes and shipping. A 15% restocking charge will be applied on goods returned and accepted as “new” stock.
An RMA number (Return Materials Authorization number) from Go Power! Customer Service is required prior to returning any Go Power! Products. Go Power! reserves the right to refuse any items sent to Go Power! without an associated RMA number. To obtain an RMA number, please contact [email protected] or Telephone 1-250-380-0052 or Fax 1-250-380-0062 worldwide – or Toll Free for US & Canada 1-866-247-6527.
Out of Warranty
Go Power! electronic products are non-repairable, Go Power! does not perform repairs on its products nor does it contract out those repairs to a third party. Go Power! does not supply schematics or replacement parts for any of its electronic products.
GP-ECO-10 SYSTEM DIAGRAM

GP-ECO-20 SYSTEM DIAGRAM

Worldwide Technical Support and Product Information gpelectric.com Go Power! | Dometic
201-710 Redbrick Street Victoria, BC, V8T 5J3
Tel: 1.866.247.6527


FIGURE 4-A: SOLAR PANEL INSTALLATION DETAILS






















