Cinenova Clarte
In-Wall & On-Wall
LCR Speaker
Earthquake Sound Corp.
(510) 732-1000 I U.S. Toll Free: (800) 576-7944
www.earthquakesound.com
Earthquake Sound Corporation
2727 McCone Ave. Hayward,
CA 94545. USA
Tel: 510-732-1000
Fax: 510-732-1095
© 2021 Earthquake Sound Corporation. All rights reserved.
This document should not be construed as a commitment on the part of Earthquake Sound Corporation. The information is subject to change without notice. Earthquake Sound Corporation assumes no responsibility for errors that may appear within this document.
Introduction
The Cinénova Clarté on-wall and in-wall LCR are Earthquake’s newest addition to the infamous Cinénova family of high fidelity products. The Clarté was designed to be mounted vertically or horizontally allowing it to be positioned for left, right, and center channels. This offers plenty of flexibil- ity whether you are installing them for new or pre-existing home audio set- ups. Both the on-wall and in-wall Clarté speakers feature a combination of three 5.25″ glass fiber cone woofers for distortion-free bass and four 2″ ul- tra-fast ribbon tweeters for remarkable sound quality with pinpoint accuracy. With Earthquake’s Cinénova Clarté LCR, you will hear more details in music and movies with elegant sound reproduction and tonal balance.
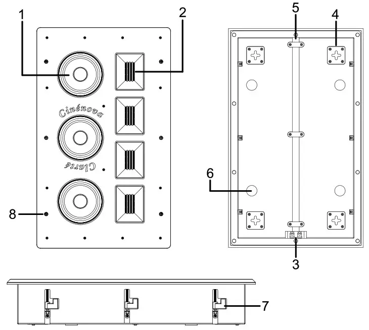
In-Wall Overview
- 5.25″ glass fiber cone woofers
- 2″ ribbon tweeters
- Gold plated spring-loaded terminals
- Cross style mounting bracket
- Center wiring groove
- Wall/cabinet bushing
- Turn-N-Lock™ mechanism (x6)
- Turn-N-Lock screw (x6)

Warranty
Earthquake Sound warrants the original purchaser that all Factory Sealed New Audio products be free from defects in material and workmanship, under normal and proper use, for a period of one (1) year from the date of purchase (as shown on the original sales receipt with serial number affixed/written on it). The one (1) year warranty period is valid only if the product is properly installed by an Earthquake Sound authorized party and the warranty registration card is properly filled out and sent to Earthquake Sound Corporation. If the product is installed by a non-authorized party, a thirty (30) day warranty period applies.
(A) One (1) year limited warranty guidelines:
- Earthquake pays for labor, parts, and ground freight (US Mainland only) back to the customer.
(B) Warning:
Products (sent for repair) that are tested by Earthquake technicians and deemed to have no problem(s) will not be covered y the limited warranty. The customer will be charged a minimum of one (1) hour of labor (at the ongoing rate) plus the shipping charges back to the customer.
(C) Earthquake agrees to repair or replace – at our discretion – all such defective products/parts subject to the following provisions:
- Defective products/parts have not been altered or repaired by other than an Earthquake factory-approved technician.
- Products/parts are not subjected to negligence, misuse, improper use, or accident, damaged by improper line voltage, used with incompatible products, or have its serial number or any part of it altered, defaced or removed, or have been used in any way that is contrary to Earthquake’s written instructions.
(D) Warranty Limitations:
Earthquake warranty does not cover products that have been modified or abused, including but not limited to the following:
- Damages due to misuse, abuse or use of improper cleaning materials/methods.
- Bent frame, broken connectors, holes in speaker cone, holes/cracked in wall plate, burnt
- Fading, deterioration of components & finish due to improper exposure to
- Burnt tracers on
- Product/part damaged due to poor packaging or abusive shipping
- Subsequent damage to other
A warranty claim will not be valid if the warranty registration card is not properly filled & returned to Earthquake with a copy of the sales invoice.
(E) Service Request:
To receive product(s) service, contact Earthquake Sound’s service department at (510) 732-1000 or [email protected] and request an RMA (Return Material Authorization) number as item(s) shipped without a valid RMA number will be refused. Make sure you provide us with your complete and correct shipping address, a valid daytime phone number, and a brief description of the problem you are experiencing with the product. In most cases, our technicians might be able to resolve the problem over the phone or via e-mail, thus eliminating the need to ship the product.
(F) Shipping Instructions:
Product(s) must be packaged inside its original protective box(es) to minimize transportation damage. Shipper claims regarding items damaged in transit must be presented to carrier. Earthquake Sound Corporation reserves the right to refuse improperly packaged product(s). A copy of the original sales receipt must accompany the product(s) returned for service. Ship the product(s) to: Earthquake Sound Corporation. 2727 McCone Avenue. Hayward, CA 94545 The customer is responsible for the cost of shipping the product(s) to Earthquake Sound Corporation
(G) Disputes Resolution:
All disputes – between clients and Earthquake Sound Corporation – resulting from the one (1) year limited warranty policy must be resolved according to the laws & regulations of the county of Alameda, California.
On-Wall Installation
Use the built-in cross mounting brackets to mount the on-wall Clarté. The speaker weighs over 20Ibs and should be mounted to either a wall stud using M4 sized screws (not included) or spring-loaded toggle bolts if not mounted to a stud. The mounting hardware can be found at most local hardware stores.
Use the dimensions above for mounting the OW-C5 to the wall. For added convenience, the mounting brackets are spaced apart 16 inches on center when the OW-CS is paced in a horizontal position
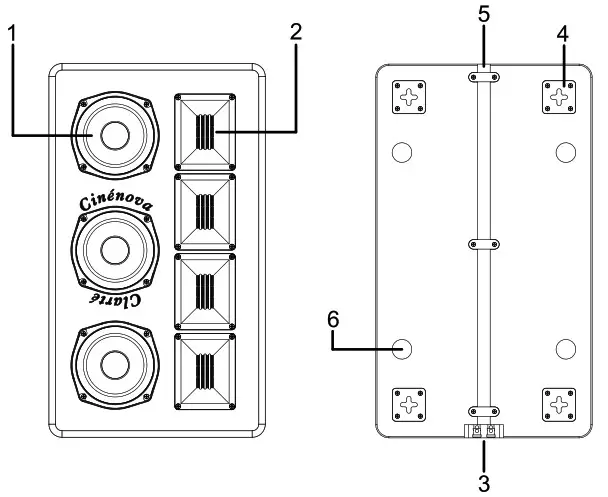
On-Wall Overview
- 2.25″ glass fiber cone woofers
- 2″ ribbon tweeters
- Gold plated spring-loaded terminals
- Cross style mounting bracket
- Center wiring groove
- Wall/cabinet bushing

In-Wall Specifications

OW-C5 | |
| Power Handling | 120 WRMS |
| 600 Watts Max | |
| Frequency Response | 40Hz-20kHz |
| Crossover Frequency | 2000Hz LP 12dB/Oct 2000Hz HP 12dB/Oct |
| Coverage Angles | 122° Vertical |
| 122• Horizontal | |
| Impedance | 8-Ohm |
| SPL | 96dB 13dB |
| Weight | 20.95 lbs (9.50 kgs) |
In-Wall Installation
LOCATE & MARK STUDS
Outline the cut out hole using the supplied template. Stay clear from any 2 x 4 studs.
CUT THE DRYWALL
Cut out the drywall marked by the supplied template
CONNECT THE SPEAKER
Attach speaker wires and insert the Clarté speaker into the dry- wall opening.
SECURE WITH TURN-N-LOCK™
Align the speaker into position. Tighten the screws evenly to secure the unit with the TURN-N-LOCK™ mechanism. Turning the screws clockwise will engage the mechanism. Keep turning the screw until the TURN-N-LOCK™ dog-ear moves towards the front plate and is snug against the inside of the dry- wall.
This will ensure that the speaker is firmly secure inside of the wall.
PLACE THE GRILLE
Align the speaker grille into position. The grille will magnetically attach itself to the plate.
Speaker Placement Cont.

On-Wall Specifications

OW-C5 | |
| Power Handling | 120 WRMS |
| 600 Watts Max | |
| Frequency Response | 40Hz-20kHz |
| Crossover Frequency | 2000Hz LP 12dB/Oct 2000Hz HP 12dB/Oct |
| Coverage Angles | 122° Vertical |
| 122• Horizontal | |
| Impedance | 8-Ohm |
| SPL | 96dB 13dB |
| Weight | 20.95 lbs (9.50 kgs) |
Home Theater Setup
The illustration above demonstrates how the on-wall and in-wall Clarté can be positioned for a typical left, right, and center channel home theater setup. Note that the units should be positioned so that the tweeters are on the outside.
Speaker Placement
The Cinénova Clarté speakers were designed to be mounted either on or flush with the walls depending on the model. To optimize their acoustics you should follow these simple guidelines.
For the best stereo reproduction, the speakers should be placed an equal distance from your listening position and separated so that the angle between them is be- Meen 40° and 60°. The units should also be placed with the teeters on the outside and near ear level about 3 to 4 feet from the floor.This will ensure that you receive the best possible performance from your listening position.

Earthquake Sound reserves the right to amend details of the specifications without notice
@ Copyright Earthquake Sound Corporation
www.earthquakesound.com




















