The Sonnd that will Move You
OH6
ONE-HANDER
6.5″ IN-CEILING SPEAKER
WITH EZ MOUNT SYSTEM
User Manual
Earthquake Sound Corp. | (510) 732-1000 | www.earthquakesound.com
Earthquake Sound Corporation
2727 McCone Avenue
Hayward, CA 94545. USA
Tel: 510-732-1000
Fax: 510-732-1095
Customer Support
[email protected]
Tel: 510-732-1000
Fax: 510-732-1095
© 2020 Earthquake Sound Corporation. All rights reserved.
This document should not be construed as a commitment on the part of Earthquake Sound Corporation. The information is subject to change without notice. Earthquake Sound Corporation assumes no responsibility for errors that may appear within this document.
WARNING: This product is capable of generating high sound pressure levels. You should exercise caution when operating these speakers. Long-term exposure to high levels of the sound pressure will cause permanent damage to your hearing. Sound pressure levels exceeding 85dB can be dangerous with constant exposure, set your audio system to a comfortable loudness level. Earthquake Sound Corporation does not assume liability for damages resulting from the direct use of Earthquake Sound audio product(s) and urges users to play volume at moderate levels.
2 OH6 One-Hander Manual Earthquake Sound Corp. | (800) 576-7944 | www.earthquakesound.com
INTRODUCTION
Congratulations on your purchase of the OH6 ONE-HANDER In-Wall/In-Ceiling Speaker System. Proper handling, installation, and operation of this speaker will provide a lifetime of durability and high-end performance.
It is important that you follow all installation and mounting instructions and recommendations in this manual closely and carefully to ensure optimal performance operation and longevity.
FEATURES
- 6.5″ In-Ceiling Speaker
- Quick EZ Mounting System
- 1″ Adjustable Neodymium Tweeter
- Elaborate Crossover Network With Polyswitch Protection
- Bass & Treble Tonal Control Adjustment Switches
- Paintable Anti-Rust Magnetic Grilles
- Gold Plated Spring-Loaded Terminals
- Carbon Fiber Woofer Cone
- Edgeless Design for Better Aesthetic and Reduced Visibility
- Rough-in Kit Ready
SPECIFICATIONS & DIMENSIONS
| Frequency Response | 50Hz-15kHz |
| Sensitivity | 87dB 1W/1M |
| Impedance | 8-Ohm |
| Power Handling | 150 Watts Max |
| Grille Finish | White/Paintable |
| Enclosure Material/Type | Impact-resistant ABS plastic |
| Driver Components | A 2-way system using one 1″ adjustable silk dome neodymium tweeter and one 6.5″ carbon fiber midrange/bass driver |
| Outer Diameter | 9.05″ (230mm) |
| Cut Out Diameter | 7.87″ (200mm) |
| Mounting Depth | 3.14″ (80mm) |
| Grille Diameter | 9.13″ (232mm) |
| Magnet Diameter | 3.34″ (85mm) |
| Speaker Weight | 3.36 lbs (1.52 kgs) |

Specifications are subject to change without notice. OH6 One-Hander Manual 3
- Cut speaker mounting hole with provided cut out template.

- Wire the OH6 speaker using the non-obtrusive spring-loaded terminals.

- Mount the OH6 speaker utilizing its built-in EZ Mount System.While firmly holding the tweeter bridge, simply push the speaker up against the drywall and turn it clockwise about 15 egrees. This will engage the EZ Mount System and the dog ears will move outward forcing the peaker snug up against the drywall.


- With the OH6 speaker in place,slide the orange lock switch from the unlocked position to the locked position. Your OH6 speaker is now installed and ready for use.You can make further adjustments to bass and treble with the tonal selector switches located opposite from the lock witch.

TONAL ADJUSTMENTS
Bass: -4 / -2 / 0
Treble: -2 / 0 / +2
4 OH6 One-Hander Manual
Earthquake Sound Corp. | (800) 576-7944 | www.earthquakesound.com
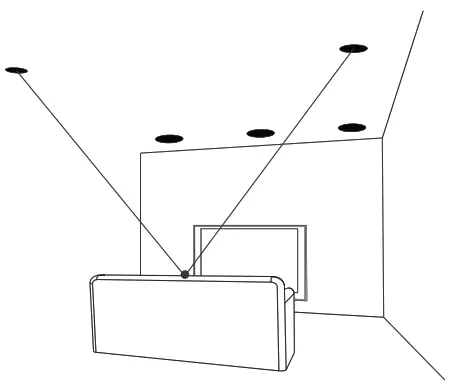
OH6 SPEAKER PLACEMENT
The OH6 One-Hander speakers were designed to be flush mounted in walls or ceilings. For optimal
acoustical performance, follow these guidelines:
- Place the OH6 speakers at an equal distance (left/right) from the listener.
- The speakers must be placed at a 40º–60º angle from the listener.
- Aim the OH6 tweeters towards the listener’s ears when in sitting position.


Specifications are subject to change without notice. OH6 One-Hander Manual 5
WARRANTY INFORMATION
Earthquake Sound warrants the original purchaser that all Factory Sealed New Audio products be free from defects in material and workmanship, under normal and proper use, for a period of one (5) ear from the date of purchase (as shown on the original sales receipt with serial number fixed/written on it).The five (5) year limited warranty period is valid only if the product is properly nstalled by an Earthquake Sound authorized party and the warranty registration card is properly illed out and sent to Earthquake Sound Corporation. If the product is installed by a non-authorized party, thirty (30) day warranty period applies.
(A) Five (5) year limited warranty guidelines:
First-year: Earthquake pays for labor, parts and ground freight (US Mainland only, not including Alaska and Hawaii. shipping to us is not covered).
Second, third, forth, and fifth Year: Earthquake pays for labor only.The customer is responsible for parts and freight both ways.
(B) Warning:
Products (sent for repair) that are tested by Earthquake technicians and deemed to have no problem(s) will not be covered y the limited warranty.Customer will be charged a minimum of one 1) hour of labor (at ongoing rate) plus the shipping charges back to the customer.
(C) Earthquake agrees to repair or replace – at our discretion – all such defective products/parts subject to the following provisions:
- Defective products/parts have not been altered or repaired by other than an Earthquake factory-approved technician.
- Products/parts are not subjected to negligence, misuse, improper use, or accident, damaged by improper line voltage, used with incompatible products,or have its serial number or any part of it ltered, defaced or removed,or have been used in any way that is contrary to Earthquake’s written instructions.
(D) Warranty Limitations:
Earthquake warranty does not cover products that have been modified or abused, including but not limited to the following:
- Damages due to misuse, abuse or use of improper cleaning materials/methods.
- Bent frame, broken connectors, holes in speaker cone, holes/cracked in wall plate, burnt parts. Fading, deterioration of components & finish due to improper exposure to elements.
- Burnt tracers on PCB.
- Product/part damaged due to poor packaging or abusive shipping conditions.
- Subsequent damage to other products. A warranty claim will not be valid if the warranty registration card is not properly filled & returned to Earthquake with a copy of the sales invoice.
(E) Service Request:
To receive product(s) service, contact Earthquake Sound’s service department at (510) 732-1000 or [email protected]
and request an RMA (Return Material Authorization) number as item(s) shipped without a valid RMA number will be refused. Make sure you provide us with your complete and correct shipping address, a valid daytime phone number, and a brief description of the problem you are experiencing with the product. In most cases, our technicians might be able to resolve the problem over the phone or via e-mail, thus eliminating the need to ship the product.
(F) Shipping Instructions:
Product(s) must be packaged inside its original protective box(es) to minimize transportation damage. Shipper claims regarding items damaged in transit must be presented to carrier. Earthquake ound Corporation reserves the right to refuse improperly packaged product(s). A copy of the original sales receipt must accompany the product(s) returned for service. Ship the product(s) to:
Earthquake Sound Corporation.
2727 McCone Avenue, Hayward, CA 94545
Tel: (510) 732-1000
The customer is responsible for the cost of shipping the product(s) to Earthquake Sound Corporation
(G) Disputes Resolution:
All disputes – between clients and Earthquake Sound Corporation – resulting from the one (1) year limited warranty policy must be resolved according to the laws & regulations of the county of lameda, California.
FOR YOUR RECORDS
Date of Purchase:
Authorized Dealer/Installer Info:
Name:
Address:
Phone:
Serial Number:
Note
The Sonnd that will Move You
Earthquake Sound reserves the right to amend details of the specifications without notice.
© Copyright Earthquake Sound Corporation
Earthquake Sound Corporation
2727 McCone Avenue, Hayward CA, 94545
Phone: (510) 732-1000 Fax: (510) 732-1095
























