
IW-680CF
Dual 6.5” 2-Way In-Wall LCR Speaker
OWNERS MANUAL
Dear Customer, Thank you for choosing Soundavo speaker products. Take the time to read this manual carefully before installing your speakers. It contains tips for getting the most benefit and instructions for using them safely. We strongly recommend that you keep the packaging and this manual for future use.
SAFETY WARNINGS AND GUIDELINES
- These speakers are intended for indoor use only.
- Do not expose these speakers to water or moisture of any kind.
- If operating these speakers in a humid environment, ensure that no condensation occurs. Condensation could cause damage to the speaker cones and voice coils.
- Power off and unplug all Audio/Video components when making wired connections. Only apply power after all connections have been made.
- Double-check all connections prior to applying power to ensure that speaker polarity is properly made and that there are no stray wire strands, which could short the connections, either on the backs of the speakers or the AV receiver/amplifier.
- Do not use full volume until after the speakers have been fully broken-in.
- If you hear distortion, reduce the volume until the distortion is no longer audible. Distortion can sound like a buzzing, scratching, or hammering sound. Distortion can damage to or destroy the delicate speaker coils.
- Do not use cleaning fluids, solvents, or other chemicals to clean the speaker frames or grilles.
- Do not use excessive volume when listening to these speakers. If you experience pain, discomfort, or dizziness, reduce volume immediately. Prolonged exposure to excessive volume can cause permanent hearing damage.
- Do not disassemble or attempt to service these speakers.
- You must use speaker wire rated for in-wall use.
- Do not attempt to install these speakers near power outlets, wall switches, or ceiling fixtures. These objects indicate the presence of AC power lines within the wall or ceiling and should be avoided.
- When checking for the presence of objects behind the wall, do not try to force the wire past obstructions.
- Always check and adhere to your local building and fire safety codes before installing these speakers and running wires through the walls and ceiling.
SPEAKER WIRE PREPARATION
Before attempting to make any connections it is best to look at the situation, get all the necessary materials together, and then make all the connections at once.
First, look at the back of your amplifier or receiver to determine what options it offers for making connections. Amplifiers and receivers typically employ either 5-way binding posts, spring-loaded terminals, or push terminals for the speaker connections.
A 5-way binding post can accept bare speaker wire, spade plugs, pin plugs, and banana plugs, while spring-loaded terminals and push terminals can accept either bare speaker wire or pin plugs. Refer to the documentation that came with your amplifier or receiver to determine the maximum size/gauge speaker wire the speaker terminals can accept.
The in-ceiling speakers feature push terminals, which can accept pin plugs or bare wire up to 14AWG. The in-wall speakers feature blade connectors. You should use .250″ 16-14AWG crimp style blue female disconnects (not included) on the speaker end of the speaker wire.
If your amplifier can accept it, you should use 14AWG speaker wire. Using pin plugs is highly recommended for several reasons. Plugs are easier to connect, don’t run the risk of stray wire strands shorting the connections, allow for use of heavier gauge speaker wire in most cases, and it is much easier to identify the polarity from a color-coded ring on a plug than from a subtle marking along the length of a wire.
Because the speaker wires will necessarily be run through your walls, you must use in-wall rated wire. This is required by fire safety codes and ensures that the wire jacket will not act as an accelerant in the event of a fire. Rather than using fixed-length speaker wires, it is best to get a roll and cut the wires to the length you will need them. This ensures that
there is a minimum amount of excess wire. However, even if your amplifier is off-center, the lengths of wire used for each speaker pair should be identical. This keeps the impedance on each channel the same, which ensures that the volume levels, frequency ranges, and tonalities are identical. Any excess wire should be snaked back and forth, not coiled, to avoid creating an inductor/antenna for stray radio signals.
Before making the actual connections, cut each length of wire to size. Note the markings on the wire that differentiate between each conductor. Sometimes the marking clearly
identifies a positive and negative side. Some common clearly positive and negative markings or identifiers are:
| Positive | Negative |
| Red | Black |
| Copper | Silver |
| +++ | — |
In many cases, the mark is a single stripe on the jacket of one of the connectors. In this case, the side with the stripe is generally considered the positive side, but it really does not matter as long as you are consistent and always using the stripe as positive or always using it as negative.

When you are ready to prepare your speaker wires, first separate about 4″ of wire, then strip about 1/4″ (6mm) insulation from the end and twist it to prevent stray strands. If you plan to use banana or pin plugs (highly recommended), install the plugs on the wire.
SPEAKER PLACEMENT
Soundavo IW-680CF LCR speakers can be used in any position of a home theater speaker system. A single IW-680CF speaker can be used for the front center channel, or a pair can be used for front or rear left and right. Because the Soundavo IW-680CF LCR speakers are magnetically shielded, it is perfectly safe to place them close to the television (See Diagram 1)

USE AS A CENTER CHANNEL SPEAKER
The IW-680CF speaker has been designed to blend seamlessly with all Soundavo speakers. With the cabinet positioned horizontally, install the IW-680CF into the wall as close to the screen as possible. This most often means it will need to be installed just above or below the television. Vertically lining up the cabinet with the left and right speakers while not necessary will improve the performance.
USE AS FRONT LEFT AND RIGHT SPEAKERS
When using the IW-680CF for front left and right speakers, position them vertically with the tweeter towards the screen and align them with the center of the screen for optimal results. The best results are achieved when the left, right, and center channel speakers are all the same distance away from the listener. The front left and right speakers should be placed so that they form an equilateral triangle, with the listener at one point and each speaker at the other two Ideal sound will be achieved when the tweeters are placed at ear level or slightly higher, so if the speakers are positioned far away from the primary listening area, adjust the pivoting tweeters so they are pointed toward the primary listening area.
5.1 surround speaker placement
7.1 surround speaker placement

NOTE: To avoid possible damage to the pivoting tweeters, read the section entitled “SPEAKER ADJUSTMENTS” on Page 7 in this manual prior to performing the tweeter adjustment.
BEFORE INSTALLATION
Installation Considerations
Before installing your speakers into the wall, you should consider the placement carefully, taking into account the location of electrical, plumbing, and other fixtures.
New Construction – Unfinished Walls
A pre-construction bracket may be installed prior to drywall application across studs (up to 16 ″ on-center) where a speaker will be located. After the hole is cut and the drywall is installed, the speakers are then easily installed following the instructions for mounting in “Finished Walls” below.
Finished Walls
Prior to the actual installation of the speakers, it will be necessary to run cables to the speaker locations. Please check with the installer/dealer for more information about cable installation. After the cable has been properly installed, you are ready to mount the speakers. Following the simple steps listed below will result in a professional-looking installation:
- Determine the best area to mount your speakers. This area of the wall should be free of obstructions such as electrical conduits, HVACducts, or water lines. This can best be determined by noting the placement of fixtures and gaining access to an attic or crawl space for further analysis of the location of such obstacles.
- Find the studs nearest the desired speaker mounting location. We highly recommend using a good stud-finder tool for this procedure. If you are lining up the speakers to some other object or molding in the room, make sure you consider the size of the baffle, which extends beyond the mounting hole.
- Mark the hole. A template of the IW-680CF is included in the box. position the template in the desired position and pencil an outline on the wall.
- Cutting the hole. CAUTION: This is the most important part of the entire installation. If you are not certain whether any obstructions exist behind the desired mounting area, you should start by cutting a small hole in the center of your penciledmounting hole with a drywall saw. Cut at a 45˚ angle towards the inside of the hole. Cutting the small hole at this angle will make drywall repair much easier, using the piece cut out. Once you have determined there aren’t any obstructions in your desired mounting
location, start cutting the finished hole at a 90˚ angle to the wall surface (See Diagram 3)

- Add insulation. If the area in the wall is not already insulated, add an adequate amount of insulation material to loosely cover the back of the speaker. If the insulation material used is faced with foil or paper, position the foil or paper away from the speaker.
CAUTION: Speaker components can get hot while playing music at moderate to high volume levels. There should be nothing at all touching the speaker. The material in proximity to the back of the speaker must have at a minimum 1 ″ or 26mm clearance for non-flammable materials and more for flammable materials like plastic vapor barriers.
SPEAKER INSTALLATION
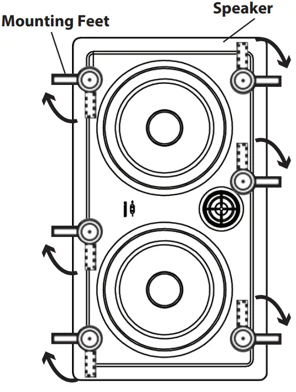
The unique integral six-foot mounting system incorporated into each IW-680CF speaker allows for a quick installation by following these easy steps:
- Remove the grille. It may be necessary to push one or two of the mounting screws and its attached foot towards the baffle and against the inside surface of the grille to force the grille out of its retaining groove. Using two hands and holding the edge of the speaker, guide the speaker into the opening and ensure the speaker cable is not being pinched.
- Make sure not to press on the speaker driver cones as the speaker is guided into the opening, and be careful not to damage or remove any of the gasket material on the edge of the speaker if present. Attach the speaker cable (observing the proper polarity with your amplifier, + to + and – to –). Make sure the left channel of the amplifier is connected to the left speaker, and the right channel is connected to the right speaker
- Once the mounting feet are turned inward to clear the opening and insert the speaker into the wall. Position the speaker into the hole in place, and tighten one of the dogleg screws until the frame of the speaker is pressed rmly against the mounting surface (Avoid tightening the screws with too much pressure as it can cause damage to the mounting surface)
NOTE: The dogleg screws of the speaker is designed to flex and conform to any small imperfections in the wall’s surface. Tighten the six screws on the front of the baffle only enough to make the dogleg screws become snug against the wall. As you tighten the screws, the feet will automatically flip into an outward position (See Diagram 4), thereby clamping the drywall between the feet and the dogleg screws
CAUTION: Over tightening may warp the baffle, crack the drywall, cause the flange to distort, and make the grille difficult to install.
- Locate the opposing dogleg screw and repeat the process, as these two tightened dogleg screws will hold the speaker in place temporarily.
- Repeat the same process with the other doglegs to rmly secure the speaker in place.
- Push the grille firmly into the slot in the speaker baffle
SPEAKER ADJUSTMENTS
Pivoting Tweeter Adjustment
The switch labeled TREBLE allows for ±3dB of treble adjustment. Your speakers were shipped with the treble switch in the middle position, providing the most linear frequency response. If you desire more treble, move the switch to the “+” position and the tweeter will play 3dB higher. If you desire less treble, move the switch to the “–” position, and the tweeter will play 3dB lower. To return to the neutral setting, push the switch back to the middle position. (See Diagram 6) Your IW-680CF speaker tweeter comes from the factory with the facing straight. This will result in an overall direct and smooth response. However, depending on your particular primary area, room
acoustics, ceiling height, or personal preference, you may find the sound more pleasing by pointing the tweeter in a particular direction. If the additional sound is desired in the primary listening area, pivot the tweeter towards that area; and if less sound is required, pivot the tweeter away. Simply using the finger push the ridged triangle areas in the desired direction. (See Diagram 5).
For home theater use, we recommend the following tips:
- If the speakers are being used as main front channels, the tweeter should be angled towards the listener.
- If the speakers are being used for rear surround channels, you may wish to pivot the tweeter away from the listener to achieve a more diffused sound.

Tone Controls
After the speaker is installed, please test the speaker using music or content you are familiar with. The IW-680CF speakers allow you to control the amount of treble.
The switch labeled HP Boost allows for ±3dB of treble adjustment. Your speakers were shipped with the treble switch in the middle position, providing the most linear frequency response. If you desire more treble, move the switch to the “+” position, and the tweeter will play 3dB higher. If you desire less treble, move the switch to the “–” position, and the tweeter will play 3dB lower. To return to the neutral setting, push the switch back to the middle position. If your listening room has smooth sheetrock walls, hardwood floors, and non-cushioned furniture, the sound will be overly “bright” and unnatural. Engaging the “HF Booster” feature (by selecting the “–” setting) compensates for the effect of overly loud treble. If your room is has a lot of absorbing surfaces such as over-stuffed furniture, heavy drapes and rugs such that the speakers sound “dull,” engage the “+” setting to boost treble response. Leave the switch in the center position in rooms with a balance of reflecting and absorbing surfaces (most rooms fall into this category).

Painting The Speakers
If you plan to paint your speakers to match the wall color and room decor, we recommend that the speakers be painted prior to installation. The provided paint mask should be used in place of the grille to protect the speaker. The grilles can also be painted, however, great care should be taken not to clog the holes, as this will greatly reduce the sound quality of the speakers. Only paint grilles when they have been removed from the speakers. We recommend only light spray painting using 5 parts thinning agent to 1-part
paint. Do not paint the grilles while they are attached to the speaker. If it is necessary to paint the under-grille material, follow the same procedure used to paint the grilles.
PRODUCT SPECIFICATIONS
IW-680CF Dual 6.5” 2-Way In-Wall LCR Speaker

- Stereo / Center Channel In-Wall LCR Speaker
- 25MM Aluminum with +/- 3dB Boost
- Dual 6.5” carbon fiber woofer with rubber surround
- 100W RMS / 200W Maximum Output Power at 8 Ohms
- Frequency Response Range: 40Hz – 22kHz
- Sensitivity (1W / 1M): 88 +/- 3dB
- Crossover: 12dB
- Paintable Magnetic Grille
- Gold-Plated Push Type Terminal with PTC
WARNING
The packaging (cartons and foams) has been designed to effectively protect your SOUNDAVO electronics during transport and shipping. We invite you to keep them for future use. Protect the environment: if you want to get rid of the packaging, note that it is recyclable. We invite you to make the arrangements for the best respect of the environment according to the possibilities which are offered to you (sorting for example). At the end of his life, this device should not be thrown into a conventional trash bin. It must be returned to a recycling center for electronic equipment. This symbol on the product indicates that it is designed to be recycled according to a particular process. You will make a very significant contribution to the preservation of the environment. This device complies with the RoHS European directive. This means that it does not release polluting substances during recycling (Lead, Mercury, Cadmium, Hexavalent Chromium, Polybrominated biphenyls, Polybrominated diphenyl ethers).
Precautions for proper use This product was designed according to rigorous norms and complies with safety standards. It should only be used under normal conditions as described below. Verify the electrical voltage before connecting it to a power source. This electronic device was designed to work in numerous countries. We advise you to hook it up completely before connecting it to the AC power source. Take care when unplugging the power cord. When you unplug the power cord from the power source, do so by pulling on the head of the plug rather than on the cable. If you do not expect to use this device for a prolonged period of time, you are advised to unplug it from the power source. Do not open the case. This device contains no parts that can be exchanged by the user. Accessing the inside of this device’s case can lead to electric shock. Any modification to the product will nullify the guarantee. If a foreign object or liquid falls into the case, contact your retailer to arrange for a technician to remove it from the device safely.
![]()
CAUTION
RISK OF ELECTRIC SHOCK DO NOT OPEN
WARRANTY
Soundavo platinum is designed and manufactured to the highest quality standards. If there is a defect in your Soundavo product, Soundavo customer service or an authorized
dealer may take care of the repair within the limits of this warranty.
The warranty is 2 years from the date of purchase from an authorized dealer. Definition of Warranty The warranty is limited to the repair of Soundavo equipment. Under no circumstances is the transport, the associated costs, and the installation covered by the guarantee. The warranty is only applicable to the first owner and is not transferable. The guarantee does not apply in the following cases:
– The damage is caused by incorrect installation or connection.
– The damage is caused by improper use, other than that described in this manual, by negligence, or modification of the product by a person not authorized by Soundavo. – Damage caused by accidents, lightning, water, fire, excessive heat, or any other cause that can not be controlled by Soundavo.
– In the case of repair by unauthorized personnel. This warranty supplements the legal warranties in force in the country of the authorized dealer.
How to repair a product under warranty Simply contact your authorized dealer. To ensure transport in good conditions, always use the original packaging. If you use a product in a country other than where you bought it, contact the importer in your country of residence who will refer you to an authorized service center.
The list of authorized distributors is available on the website:
http://www.soundavo.com To validate your warranty, you must produce as proof of purchase the original of your invoice containing the date of your purchase and the stamp of your dealer.




















