GLASS RECTANGLE SHELF by

MODEL #GCS0515
15 x 5 x 3/8 GLASS SHELF

TOOLS REQUIRED
NOT INCLUDED
Toll Free Customer Assistance 1-888-620-3667 US Customers
Monday-Friday, 7:30 a.m. To 5:00 p.m. CST 1-888-256-7551 Canada Customers

PARTS LIST

WARNING: Safety glasses should always be worn when working with drill.
- Select the desired position of the shelf. Level and mark the location.

- A Drill holes about 1 1/2″ deep at each of the marked locations.
2. B Apply silicone into drilled holes and insert wall plugs (5).
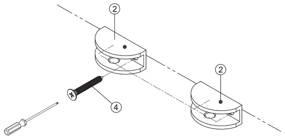
- Insert Glass Clip (2)

- Insert Glass Shelf (1) as illustration indicates. Tighten up the setting screw.

1 Year Warranty Information
Each Craft + Main™ product manufactured by FGI Industries, Ltd. is covered by a 1 Year / Limited Lifetime Warranty. We warrant our products to be free from defects in material or workmanship for a period of 1 year from the date of delivery.
These warranties are made to the original purchaser and are limited to the repair or exchange of any parts which prove defective under normal use during the warranty period.
These warranties do not apply where products have been improperly stored or improperly installed, misused, abused, or modified in any way. They do not cover the costs of removing warranted material or the installation of replacement material.
These warranties are the sole warranties of FGI Industries, Ltd., and in lieu of all other warranties, express or implied, including any implied warranties of merchantability and fitness for a particular use. Labor charges for removal of or installation of warranted material as well as incidental or consequential damages are excluded. We do not assume for us any other liability in connection with the sale of our product.
Warranty Registration
We highly recommend registering your product in the first 30 days after purchase.
USA www.craftandmain.com
CANADA www.craftandmain.ca
USA: 6241 Northwind Parkway, Hobart, Indiana 46342
CANADA: 5970 Chedworth Way, Unit B, Mississauga, Ontario, L5R 4G5
© 2022 FGI Industries, Ltd. | CRAFT + MAINTM and logo design are trademarks of FGI Industries, Ltd.

2. B Apply silicone into drilled holes and insert wall plugs (5).




















